TOP
|
特許
|
意匠
|
商標
特許ウォッチ
Twitter
他の特許を見る
公開番号
2025146422
公報種別
公開特許公報(A)
公開日
2025-10-03
出願番号
2024047181
出願日
2024-03-22
発明の名称
ステータ
出願人
株式会社デンソー
代理人
弁理士法人太陽国際特許事務所
主分類
H02K
3/34 20060101AFI20250926BHJP(電力の発電,変換,配電)
要約
【課題】巻回部の占積率が低下することを抑制することができるステータを提供する。
【解決手段】ステータ(10)は、複数のステータ構成部(12)によって構成され、各ステータ構成部は、環状の継鉄(20)を構成し、継鉄の周方向に分割された継鉄構成部(22)と、継鉄構成部から継鉄の径方向内側に突出されたティース部(24)とを有する複数のコア構成部材(14)と、ティース部に巻回された巻回部(26)を有する巻線(16)と、コア構成部材に装着され、ティース部と巻回部とを絶縁する複数の絶縁部(30)と、複数の絶縁部同士を連結する連結部(32)とを有するインシュレータ(18)と、を備え、各ステータ構成部は、他のステータ構成部に設けられた巻線の端末部(28)を保持する保持部(38)を有する。
【選択図】図3
特許請求の範囲
【請求項1】
複数のステータ構成部(12)によって構成され、
各前記ステータ構成部は、
環状の継鉄(20)を構成し、前記継鉄の周方向に分割された継鉄構成部(22)と、前記継鉄構成部から前記継鉄の径方向内側に突出されたティース部(24)とを有する複数のコア構成部材(14)と、
前記ティース部に巻回された巻回部(26)を有する巻線(16)と、
前記コア構成部材に装着され、前記ティース部と前記巻回部とを絶縁する複数の絶縁部(30)と、前記複数の絶縁部同士を連結する連結部(32)とを有するインシュレータ(18)と、
を備え、
各前記ステータ構成部の前記連結部は、他の前記ステータ構成部に設けられた前記巻線の端末部(28)を保持する保持部(38)を有する、
ステータ(10)。
続きを表示(約 620 文字)
【請求項2】
前記端末部は、前記巻回部から前記ステータ構成部の軸方向一方側に導出されており、
前記保持部は、前記巻回部よりも前記ステータ構成部の軸方向一方側において前記端末部を保持している、
請求項1に記載のステータ。
【請求項3】
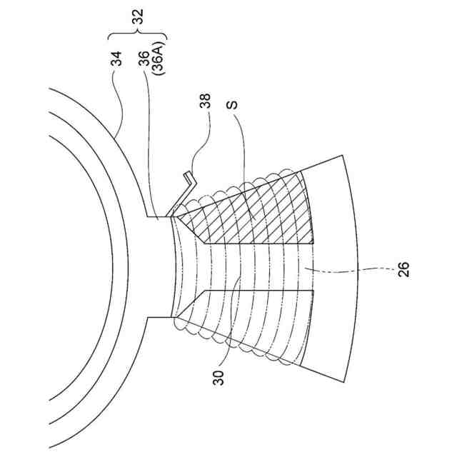
前記連結部は、前記絶縁部側に延出する延出部(36)を有し、
前記保持部は、
前記延出部から延びる腕部(44)と、
前記腕部の先端部に形成され、前記腕部の先端部に対して前記端末部側に屈曲している屈曲部(46)と、
を有し、
前記腕部は、前記端末部に対して前記端末部がスプリングバックする方向から前記端末部を支持しており、
前記屈曲部は、前記ステータ構成部の径方向外側から前記端末部を支持している、
請求項1に記載のステータ。
【請求項4】
前記連結部は、前記絶縁部側に延出する延出部を有し、
前記保持部は、前記延出部から延びる腕部を有し、
前記腕部の先端部は、前記端末部が挿入される溝(50)を有する、
請求項1に記載のステータ。
【請求項5】
前記腕部は、弾性を有する、
請求項3又は請求項4に記載のステータ。
【請求項6】
前記保持部は、前記連結部の軸方向の寸法の範囲(R)内に位置する、
請求項1に記載のステータ。
発明の詳細な説明
【技術分野】
【0001】
本開示の技術は、ステータに関する。
続きを表示(約 1,500 文字)
【背景技術】
【0002】
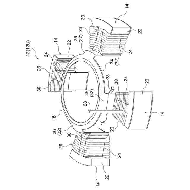
従来、いわゆる分割コアタイプのステータが知られている(例えば、特許文献1参照)。分割コアタイプのステータは、複数のステータ構成部によって構成されている。各ステータ構成部は、複数のコア構成部材と、巻線と、インシュレータとを備える。各コア構成部材は、環状の継鉄を構成し、継鉄の周方向に分割された継鉄構成部と、継鉄構成部から継鉄の径方向内側に突出されたティース部とを有する。巻線は、ティース部に巻回された巻回部を有する。インシュレータは、複数の絶縁部と、連結部とを有する。各絶縁部は、コア構成部材に装着され、ティース部と巻回部とを絶縁する。連結部は、複数の絶縁部同士を連結する。
【先行技術文献】
【特許文献】
【0003】
特開2021-35260号公報
【発明の概要】
【発明が解決しようとする課題】
【0004】
従来のステータでは、巻線の端末部を保持する保持部が、絶縁部に形成されている。したがって、保持部が、巻回部を巻回するスペースに位置するため、巻回部の占積率が低下する。
【0005】
本開示の技術は、巻回部の占積率が低下することを抑制することができるステータを提供することを目的とする。
【課題を解決するための手段】
【0006】
本開示の技術に係るステータ(10)は、複数のステータ構成部(12)によって構成され、各前記ステータ構成部は、環状の継鉄(20)を構成し、前記継鉄の周方向に分割された継鉄構成部(22)と、前記継鉄構成部から前記継鉄の径方向内側に突出されたティース部(24)とを有する複数のコア構成部材(14)と、前記ティース部に巻回された巻回部(26)を有する巻線(16)と、前記コア構成部材に装着され、前記ティース部と前記巻回部とを絶縁する複数の絶縁部(30)と、前記複数の絶縁部同士を連結する連結部(32)とを有するインシュレータ(18)と、を備え、各前記ステータ構成部の前記連結部は、他の前記ステータ構成部に設けられた前記巻線の端末部(28)を保持する保持部(38)を有する。
【0007】
本開示の技術によれば、巻回部の占積率が低下することを抑制することができるステータが提供される。
【図面の簡単な説明】
【0008】
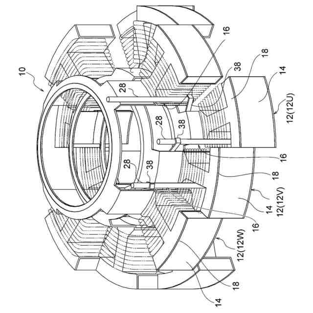
本開示の技術の一実施形態に係るステータの斜視図である。
複数のステータ構成部を軸方向にずらした状態を示す斜視図である。
U相のステータ構成部の斜視図である。
V相のステータ構成部の斜視図である。
W相のステータ構成部の斜視図である。
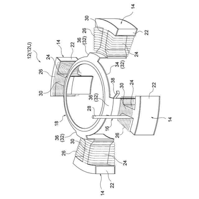
ステータの要部拡大斜視図である。
ステータ構成部の要部拡大平面図である。
変形例に係るステータの要部拡大斜視図である。
【発明を実施するための形態】
【0009】
以下、本開示の技術の一実施形態について説明する。
【0010】
図1から図5に、本開示の技術の一実施形態に係るステータ10の構成を示す。本実施形態に係るステータ10は、いわゆる分割コアタイプのステータである。分割コアタイプのステータの基本的な構成については、特許文献1に記載されている。ステータ10は、インナーロータタイプのブラシレスモータに適用される。すなわち、ステータ10の内側には、ロータ(図示省略)が回転可能に収容され、ステータ10とロータとによってブラシレスモータが構成される。
(【0011】以降は省略されています)
この特許をJ-PlatPat(特許庁公式サイト)で参照する
関連特許
株式会社デンソー
車載器
1日前
株式会社デンソー
ねじ部材
1日前
株式会社デンソー
ステータ
1日前
株式会社デンソー
ステータ
1日前
株式会社デンソー
半導体装置
1日前
株式会社デンソー
電子制御装置
1日前
株式会社デンソー
電力変換装置
1日前
株式会社デンソーテン
車載映像装置
1日前
株式会社デンソー
圧着ヘッド装置
1日前
株式会社デンソー
自己位置推定装置
1日前
株式会社デンソートリム
エンジン制御装置
1日前
株式会社デンソー
コンパイラドライバ
1日前
株式会社デンソー
マルチレベルインバータ
1日前
株式会社デンソー
半導体装置およびその製造方法
1日前
株式会社デンソーウェーブ
搬送システム、ロボットハンド
1日前
株式会社デンソー
サブ基板構造体及び電子制御装置
1日前
株式会社デンソーウェーブ
ロボットハンド、ロボットシステム
1日前
株式会社デンソーウェーブ
ロボットハンド、ロボットシステム
1日前
株式会社デンソーウェーブ
ロボットハンド、ロボットシステム
1日前
株式会社デンソーウェーブ
ロボットハンド、ロボットシステム
1日前
株式会社デンソーウェーブ
ロボットハンド、ロボットシステム
1日前
株式会社デンソーウェーブ
ロボットハンド、ロボットシステム
1日前
株式会社デンソー
充電システム、車両及び充電スタンド
1日前
トヨタ自動車株式会社
車両制御装置
1日前
株式会社デンソー
中継システム、中継装置、及びプログラム
1日前
株式会社デンソー
中継装置、データ中継方法、及びプログラム
1日前
バンドー化学株式会社
ワイパーブレードラバー
1日前
バンドー化学株式会社
ワイパーブレードラバー
1日前
バンドー化学株式会社
ワイパーブレードラバー
1日前
富士電機株式会社
炭化珪素半導体装置の製造方法
1日前
株式会社デンソー
処理システム、処理装置、処理方法、処理プログラム
1日前
株式会社デンソー
通信及びセンシングのための装置、方法、及びプログラム
1日前
株式会社デンソーテン
ディスプレイ、表示方法、表示システムおよびプログラム
1日前
株式会社豊田中央研究所
積層造形物およびその製造方法
1日前
株式会社豊田中央研究所
積層造形物および積層造形方法
1日前
株式会社デンソー
通信及びセンシングのための装置、方法、及びプログラム
1日前
続きを見る
他の特許を見る