TOP
|
特許
|
意匠
|
商標
特許ウォッチ
Twitter
他の特許を見る
10個以上の画像は省略されています。
公開番号
2025158908
公報種別
公開特許公報(A)
公開日
2025-10-17
出願番号
2024231084
出願日
2024-12-26
発明の名称
ブラシレスモータ
出願人
株式会社デンソー
代理人
弁理士法人太陽国際特許事務所
主分類
H02K
5/24 20060101AFI20251009BHJP(電力の発電,変換,配電)
要約
【課題】組付工数を削減することができるブラシレスモータを提供する。
【解決手段】ブラシレスモータは、ロータ14と、ロータハウジングの内側に収容されたステータ16と、ステータを保持するセンターピース18と、センターピースの本体部42に対するステータと反対側に配置された回路基板20と、ロータハウジングの周囲に設けられたモータホルダ22と、本体部に対するステータと反対側に配置され、モータホルダに固定された回路ケース24とを備える。本体部の外周部には、第1エラストマ部材70が設けられており、センターピースは、第1エラストマ部材の外周部70Aがモータホルダと回路ケースとによって挟持されることにより、モータホルダに対して弾性支持されており、本体部の外周部と回路ケースの外周部との間は、第1エラストマ部材の内周部70Bが本体部と回路ケースとによって挟持されることによってシールされている。
【選択図】図5
特許請求の範囲
【請求項1】
有天筒状のロータハウジング(28)を有するロータ(14)と、
前記ロータハウジングの内側に収容されたステータ(16)と、
前記ロータハウジングの開口(28A)と対向する本体部(42)を有し、前記ステータを保持するセンターピース(18)と、
前記本体部に対する前記ステータと反対側に配置された回路基板(20)と、
前記ロータハウジングの周囲に設けられたモータホルダ(22)と、
前記本体部に対する前記ステータと反対側に配置され、前記回路基板を収容し、前記モータホルダに固定された回路ケース(24)と、
を備え、
前記本体部の外周部(42A)には、防振部材(70)が設けられており、
前記センターピースは、前記防振部材が前記モータホルダと前記回路ケースとによって挟持されることにより、前記モータホルダに対して弾性支持されており、
前記本体部の外周部と前記回路ケースの外周部(24A)との間は、前記防振部材が前記本体部と前記回路ケースとによって挟持されることによってシールされている、
ブラシレスモータ(10)。
続きを表示(約 1,000 文字)
【請求項2】
前記本体部の外周部には、前記ブラシレスモータの軸方向に突出するように鉤状に折れ曲がった形状を有する鉤部(76)が形成されており、
前記防振部材は、前記鉤部によって外周部と内周部とに分けられており、
前記鉤部は、前記防振部材の外周部と内周部との間にめり込んでいる、
請求項1に記載のブラシレスモータ。
【請求項3】
前記鉤部は、前記回路ケース側へ突出しており、
前記防振部材の外周部は、前記鉤部よりも前記ブラシレスモータの径方向外側に設けられ、
前記防振部材の内周部は、前記本体部の外周部に対する前記回路ケース側に設けられている、
請求項2に記載のブラシレスモータ。
【請求項4】
前記防振部材は、二色成形により前記本体部の外周部に設けられている、
請求項1に記載のブラシレスモータ。
【請求項5】
前記防振部材は、前記センターピースの周方向に並ぶ複数の被押圧部(100)を有し、
前記モータホルダの外周部は、前記複数の被押圧部をそれぞれ押圧する複数の押圧部(102)を有する、
請求項1に記載のブラシレスモータ。
【請求項6】
複数の前記押圧部は、それぞれ前記モータホルダの軸方向に突出する突起状に形成されている、
請求項5に記載のブラシレスモータ。
【請求項7】
前記モータホルダは、前記モータホルダの周方向に延びるリブ(108)を有し、
複数の前記押圧部は、前記リブに形成されている、
請求項5に記載のブラシレスモータ。
【請求項8】
前記本体部の外周部は、前記センターピースの周方向に並ぶ複数の突出部(110)を有し、
複数の前記突出部は、それぞれ前記センターピースの径方向外側に向けて突出しており、前記センターピースの径方向に前記モータホルダの外周部とオーバーラップしている、
請求項1に記載のブラシレスモータ。
【請求項9】
各前記突出部は、前記モータホルダの外周部に接触している、
請求項8に記載のブラシレスモータ。
【請求項10】
前記防振部材は、各前記突出部と前記モータホルダの外周部との間に介在する介在部(112)を有する、
請求項8に記載のブラシレスモータ。
(【請求項11】以降は省略されています)
発明の詳細な説明
【技術分野】
【0001】
本開示の技術は、ブラシレスモータに関する。
続きを表示(約 2,100 文字)
【背景技術】
【0002】
従来、ブラシレスモータとしては、次のものが知られている。例えば、特許文献1に記載のブラシレスモータは、有天筒状のロータハウジングを有するロータと、ロータハウジングの内側に収容されたステータと、ロータハウジングの開口と対向する本体部を有し、ステータを保持するセンターピースと、センターピースの本体部に対するステータと反対側に配置された回路基板と、ロータハウジングの周囲に設けられたモータホルダと、センターピースの本体部に対するステータと反対側に配置され、回路基板を収容する回路ケースとを備える。
【先行技術文献】
【特許文献】
【0003】
特開2017-184547号公報
【発明の概要】
【発明が解決しようとする課題】
【0004】
上記構成のブラシレスモータにおいて、モータホルダに対してセンターピースを弾性支持することにより防振する防振部材と、本体部の外周部と回路ケースの外周部との間をシールすることにより防塵・防水する防塵・防水部材とを別々に設けると、組付工数が増加する。
【0005】
本開示の技術は、従来に比して、組付工数を削減することができるブラシレスモータを提供することを目的とする。
【課題を解決するための手段】
【0006】
本開示の技術の一態様に係るブラシレスモータ(10)は、有天筒状のロータハウジング(28)を有するロータ(14)と、前記ロータハウジングの内側に収容されたステータ(16)と、前記ロータハウジングの開口(28A)と対向する本体部(42)を有し、前記ステータを保持するセンターピース(18)と、前記本体部に対する前記ステータと反対側に配置された回路基板(20)と、前記ロータハウジングの周囲に設けられたモータホルダ(22)と、前記本体部に対する前記ステータと反対側に配置され、前記回路基板を収容し、前記モータホルダに固定された回路ケース(24)と、を備え、前記本体部の外周部(42A)には、防振部材(70)が設けられており、前記センターピースは、前記防振部材が前記モータホルダと前記回路ケースとによって挟持されることにより、前記モータホルダに対して弾性支持されており、前記本体部の外周部と前記回路ケースの外周部(24A)との間は、前記防振部材が前記本体部と前記回路ケースとによって挟持されることによってシールされている。
【0007】
本開示の技術によれば、従来に比して、組付工数を削減することができるブラシレスモータが提供される。
【図面の簡単な説明】
【0008】
本開示の技術の第1実施形態に係るブラシレスモータの斜視図である。
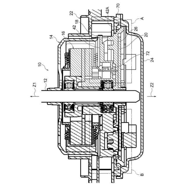
本開示の技術の第1実施形態に係るブラシレスモータを図1のF2-F2線で切断した縦断面図である。
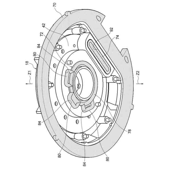
本開示の技術の第1実施形態に係るセンターピースを軸方向一方側から見た斜視図である。
本開示の技術の第1実施形態に係るセンターピースを軸方向他方側から見た斜視図である。
本開示の技術の第1実施形態に係るブラシレスモータの要部縦断面図である。
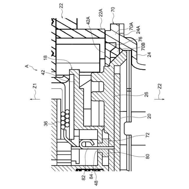
図5のA部を拡大した拡大図である。
図5のB部を拡大した拡大図である。
本開示の技術の第1実施形態に係るブラシレスモータの要部を図2とは別の位置で切断した縦断面図である。
図8のC部を拡大した拡大図である。
本開示の技術の第2実施形態に係るセンターピースを軸方向一方側から見た斜視図である。
本開示の技術の第2実施形態に係るモータホルダを軸方向他方側から見た斜視図である。
本開示の技術の第2実施形態に係るブラシレスモータの縦断面図である。
本開示の技術の第2実施形態に係るブラシレスモータの変形例を示す縦断面図である。
本開示の技術の第3実施形態に係るブラシレスモータにおいてモータホルダの図示を省略した状態を示す平面図である。
本開示の技術の第3実施形態に係るブラシレスモータの縦断面図である。
本開示の技術の第3実施形態に係るブラシレスモータの第1変形例を示す縦断面図である。
本開示の技術の第3実施形態に係るブラシレスモータの第2変形例を示す縦断面図である。
【発明を実施するための形態】
【0009】
[第1実施形態]
はじめに、本開示の技術の第1実施形態について説明する。
【0010】
図1に示す第1実施形態のブラシレスモータ10は、例えば乗用自動車等の車両に搭載される送風装置に用いられるファンモータである。図2に示すように、ブラシレスモータ10は、モータシャフト12と、ロータ14と、ステータ16と、センターピース18と、回路基板20と、モータホルダ22と、回路ケース24と、ヒートシンク26とを備えている。なお、各図において、矢印Z1は、ブラシレスモータ10の軸方向一方側を示しており、矢印Z2は、ブラシレスモータ10の軸方向他方側を示している。
(【0011】以降は省略されています)
この特許をJ-PlatPat(特許庁公式サイト)で参照する
関連特許
株式会社デンソーウェーブ
筐体
7日前
株式会社デンソー
回転機
7日前
株式会社デンソー
検出装置
6日前
株式会社デンソー
半導体装置
2日前
株式会社デンソー
熱交換装置
今日
株式会社デンソー
電流センサ
7日前
株式会社デンソー
画像処理装置
7日前
株式会社デンソー
電力変換装置
今日
株式会社デンソー
電圧検出回路
今日
株式会社デンソー
はんだ付け装置
8日前
株式会社デンソー
非接触受電装置
2日前
株式会社デンソー
部品の当接構造
1日前
株式会社デンソー
スパークプラグ
2日前
株式会社デンソー
スイッチング素子
6日前
株式会社デンソーウェーブ
レーザレーダ装置
6日前
株式会社デンソーウェーブ
レーザレーダ装置
6日前
株式会社デンソー
ブラシレスモータ
6日前
株式会社デンソー
半導体装置の製造方法
1日前
株式会社デンソー
半導体装置の製造方法
1日前
株式会社デンソー
バッテリマネジメントシステム
2日前
株式会社デンソー
検出装置、検出装置の製造方法
6日前
株式会社デンソー
検出装置、検出装置の製造方法
6日前
株式会社デンソー
検出装置、検出装置の製造方法
6日前
株式会社デンソー
診断装置、電気化学反応システム
2日前
株式会社デンソー
検出装置、プログラム、及び算出方法
6日前
株式会社SOKEN
推定装置及び表示装置
2日前
株式会社デンソー
接触センサおよび接触センサを備えたヒータ
6日前
株式会社デンソー
シザーズギア、アクチュエータ及び反力付与装置
6日前
株式会社デンソーテン
情報処理装置、情報処理方法、および情報処理プログラム
2日前
株式会社デンソー
半導体モジュール、半導体装置、半導体モジュールの製造方法
6日前
株式会社デンソーテン
通知制御装置、方法及びプログラム並びに車載用通知システム
2日前
株式会社デンソー
電力変換器の制御装置、プログラム、及び電力変換器の制御方法
7日前
株式会社デンソー
電界効果トランジスタ
6日前
株式会社デンソー
レーダシステム、レーダ制御装置、レーダ制御方法、レーダ制御プログラム
2日前
株式会社デンソー
ログ生成装置、センサモジュール、ログ生成モジュール、及び電子制御システム
今日
株式会社豊田中央研究所
演算処理方法、演算処理プログラム、及び演算処理装置
7日前
続きを見る
他の特許を見る