TOP
|
特許
|
意匠
|
商標
特許ウォッチ
Twitter
他の特許を見る
公開番号
2025156832
公報種別
公開特許公報(A)
公開日
2025-10-15
出願番号
2024059543
出願日
2024-04-02
発明の名称
はんだ付け装置
出願人
株式会社デンソー
代理人
弁理士法人サトー
主分類
B23K
3/02 20060101AFI20251007BHJP(工作機械;他に分類されない金属加工)
要約
【課題】熱不足によるはんだ付け不良の発生を抑制できるはんだ付け装置を提供する。
【解決手段】はんだ付け装置1は、筒状に形成され、内部に供給されるはんだ片Hを溶融するスリーブ11と、スリーブの外側に設けられ、発熱部品122を有しスリーブを加熱するヒータ12と、スリーブを貫通して形成されるスリーブ貫通孔111を含んで形成される排出孔13と、筒状に形成されて一方の端部が排出孔の内部に位置し、スリーブの内部ではんだ片が溶融したときに発生するヒュームをスリーブの外部に排出するための筒状部材31と、を備え、発熱部品の少なくとも一部は、排出孔よりもスリーブの先端側に位置している。
【選択図】図1
特許請求の範囲
【請求項1】
筒状に形成され、内部に供給されるはんだ片(H)を溶融するスリーブ(11)と、
前記スリーブの外側に設けられ、発熱部品(122)を有し前記スリーブを加熱するヒータ(12)と、
前記スリーブを貫通して形成されるスリーブ貫通孔(111)を含んで形成される排出孔(13)と、
筒状に形成されて一方の端部が前記排出孔の内部に位置し、前記スリーブの内部で前記はんだ片が溶融したときに発生するヒュームを前記スリーブの外部に排出するための筒状部材(31)と、を備え、
前記発熱部品の少なくとも一部は、前記排出孔よりも前記スリーブの先端側に位置している、
はんだ付け装置。
続きを表示(約 600 文字)
【請求項2】
前記スリーブの内部には、はんだ付けの実行中において前記はんだ片が溶融される溶融領域(S)が形成され、
前記発熱部品は、前記溶融領域と重なるように設けられている、
請求項1に記載のはんだ付け装置。
【請求項3】
前記排出孔は、前記溶融領域よりも前記スリーブの基端側に位置している、
請求項2に記載のはんだ付け装置。
【請求項4】
前記排出孔は、前記スリーブ貫通孔と、前記スリーブ貫通孔に対向して設けられ前記ヒータを貫通して形成されるヒータ貫通孔(123)と、によって形成されており、
前記スリーブ貫通孔又は前記ヒータ貫通孔は、外面側の径寸法が内面側の径寸法よりも大きい段付き形状で形成されている、
請求項1に記載のはんだ付け装置。
【請求項5】
前記スリーブ貫通孔と前記ヒータ貫通孔とは、同軸上に並んでいる、
請求項4に記載のはんだ付け装置。
【請求項6】
前記筒状部材を通過した前記ヒュームを吸引する吸煙装置(40)を更に備える、
請求項1に記載のはんだ付け装置。
【請求項7】
前記筒状部材を含んで構成される排出経路(14)と、
前記排出経路を開閉する開閉部(51)と、を更に備える、
請求項1に記載のはんだ付け装置。
発明の詳細な説明
【技術分野】
【0001】
本開示は、はんだ付け装置に関する。
続きを表示(約 1,600 文字)
【背景技術】
【0002】
はんだ付け装置において、例えば特許文献1に開示されているように、筒状の鏝であるスリーブを備えた構成が知られている。そして、スリーブの外側に位置するヒータによってスリーブを加熱することにより、スリーブ内に供給されたはんだ片を溶融することで、基板に対して端子をはんだ付けすることが行われる。
【先行技術文献】
【特許文献】
【0003】
特許第5184359号公報
【発明の概要】
【発明が解決しようとする課題】
【0004】
近年、大電流用途に対応するために厚銅基板等の熱容量が大きい基板が注目されている。このような基板に対するはんだ付けに関して、はんだに対する加熱が不足することに起因したはんだ付け不良が問題視されている。このため、はんだ付け不良の発生を抑制するために、はんだに対する熱伝達効率を向上させることが求められている。
【0005】
本開示は、上記した問題点を鑑みてなされたものであり、その目的は、熱不足によるはんだ付け不良の発生を抑制できるはんだ付け装置を提供することにある。
【課題を解決するための手段】
【0006】
上記目的を達成するために、一態様としてのはんだ付け装置は、筒状に形成され、内部に供給されるはんだ片(H)を溶融するスリーブ(11)と、前記スリーブの外側に設けられ、発熱部品(122)を有し前記スリーブを加熱するヒータ(12)と、前記スリーブを貫通して形成されるスリーブ貫通孔(111)を含んで形成される排出孔(13)と、筒状に形成されて一方の端部が前記排出孔の内部に位置し、前記スリーブの内部で前記はんだ片が溶融したときに発生するヒュームを前記スリーブの外部に排出するための筒状部材(31)と、を備え、前記発熱部品の少なくとも一部は、前記排出孔よりも前記スリーブの先端側に位置している。
【0007】
これによれば、熱不足によるはんだ付け不良の発生を抑制できる。
【図面の簡単な説明】
【0008】
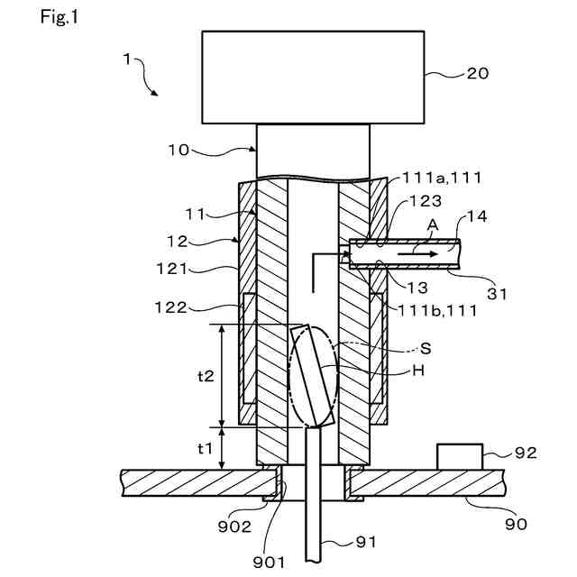
第1実施形態によるはんだ付け装置の構成の一例を概略的に示す図
第1実施形態によるはんだ付け装置について、スリーブ貫通孔を段付き形状にした場合における排出孔の寸法と筒状部材の寸法との関係を概略的に示す断面図
第1実施形態によるはんだ付け装置について、ヒータ貫通孔を段付き形状にした場合の一例を示すもので、(a)は排出孔の寸法と筒状部材の寸法との関係を概略的に示す断面図、(b)はヒータに筒状部材を取り付けた状態を示す断面図
第2実施形態によるはんだ付け装置の構成の一例を概略的に示す図
第3実施形態によるはんだ付け装置の構成の一例を概略的に示す図
【発明を実施するための形態】
【0009】
以下、複数の実施形態について図面を参照して説明する。なお、各実施形態において実質的に同一の構成には同一の符号を付して説明を省略する。
【0010】
(第1実施形態)
まず、第1実施形態について、図1から図3を参照して説明する。
図1に示すはんだ付け装置1は、例えばプリント基板で構成された基板90に形成されたスルーホール901に設けられたランド902内に電子部品の端子91をはんだ付けするための装置である。はんだ付け装置1は、筒状のスリーブ11を基板90に接触させて、スリーブ11の内部ではんだ片Hを溶融させることではんだ付けを行う工法である、いわゆるはんだ付け工法に適用できる。基板90には、はんだ付けが行われる面に、例えばマイコンあるいはトランジスタやMOSFET等のスイッチング素子を含む電子部品92が実装されている。
(【0011】以降は省略されています)
この特許をJ-PlatPat(特許庁公式サイト)で参照する
関連特許
株式会社デンソーウェーブ
筐体
19日前
株式会社デンソー
車載器
1か月前
株式会社デンソー
回転機
19日前
株式会社デンソー
検出装置
18日前
株式会社デンソー
制御装置
今日
株式会社デンソー
ステータ
1か月前
株式会社デンソー
電子装置
27日前
株式会社デンソー
電子装置
26日前
株式会社デンソー
電子装置
8日前
株式会社デンソー
ステータ
1か月前
株式会社デンソー
反力装置
26日前
株式会社デンソー
ねじ部材
1か月前
株式会社デンソー
農業用装置
28日前
株式会社デンソー
レーダ装置
25日前
株式会社デンソー
半導体装置
7日前
株式会社デンソー
半導体装置
1か月前
株式会社デンソー
半導体装置
14日前
株式会社デンソー
熱交換装置
12日前
株式会社デンソー
ヒータ装置
6日前
株式会社デンソートリム
鞍乗り車両
6日前
株式会社デンソーテン
インバータ
26日前
株式会社デンソー
センサ装置
5日前
株式会社デンソー
センサ装置
5日前
株式会社デンソー
電流センサ
19日前
株式会社デンソー
車両制御装置
26日前
株式会社デンソー
電圧検出回路
12日前
株式会社デンソー
電力変換装置
28日前
株式会社デンソー
車載システム
26日前
株式会社デンソー
車載システム
26日前
株式会社デンソーテン
車載映像装置
1か月前
株式会社デンソー
電力変換装置
12日前
株式会社デンソー
電圧検出回路
28日前
株式会社デンソー
圧電デバイス
5日前
株式会社デンソー
電力変換装置
20日前
株式会社デンソーエアクール
換気空調装置
1か月前
株式会社デンソー
衝突予測装置
27日前
続きを見る
他の特許を見る