TOP
|
特許
|
意匠
|
商標
特許ウォッチ
Twitter
他の特許を見る
10個以上の画像は省略されています。
公開番号
2025172681
公報種別
公開特許公報(A)
公開日
2025-11-26
出願番号
2025019345
出願日
2025-02-07
発明の名称
工作機械
出願人
DMG森精機株式会社
代理人
弁理士法人深見特許事務所
主分類
B23Q
5/22 20060101AFI20251118BHJP(工作機械;他に分類されない金属加工)
要約
【課題】目標移動位置に対して、移動体をより高精度に位置決めすることが可能な工作機械、を提供する。
【解決手段】工作機械は、移動体(30)と、ガイドレール(61)、および、移動体(30)に取り付けられ、ガイドレール(61)に沿ってスライド可能なスライダー(65)とを有し、移動体(30)をその移動方向に案内するリニアガイド(51)と、スライダー(65)に設けられ、スライダー(65)の温度を検出する温度センサ(81)とを備える。
【選択図】図2
特許請求の範囲
【請求項1】
移動体と、
ガイドレールと、前記移動体に取り付けられ、前記ガイドレールに沿ってスライド可能なスライダーとを有し、前記移動体をその移動方向に案内するリニアガイドと、
前記スライダーに設けられ、前記スライダーの温度を検出する温度センサとを備える、工作機械。
続きを表示(約 1,300 文字)
【請求項2】
前記移動体を移動させる動力源をなすサーボモータと、
前記移動体の目標移動位置を示す位置指令に基づいて、前記サーボモータを制御する制御装置とをさらに備え、
前記制御装置は、前記温度センサにより検出される前記スライダーの温度に基づいて、前記位置指令を補正し、
前記移動体は、
第1方向に移動する第1移動体と、
前記第1方向と直交する第2方向に移動する第2移動体と、
前記第1方向および前記第2方向と直交する第3方向に移動する第3移動体とを含み、
前記リニアガイドは、
前記第1移動体を前記第1方向に案内する第1リニアガイドと、
前記第2移動体を前記第2方向に案内する第2リニアガイドと、
前記第3移動体を前記第3方向に案内する第3リニアガイドとを含み、
前記温度センサは、
前記第1リニアガイドの前記スライダーの温度を検出する第1温度センサと、
前記第2リニアガイドの前記スライダーの温度を検出する第2温度センサと、
前記第3リニアガイドの前記スライダーの温度を検出する第3温度センサとを含み、
前記制御装置は、前記第1温度センサにより検出される前記第1リニアガイドの前記スライダーの温度と、前記第2温度センサにより検出される前記第2リニアガイドの前記スライダーの温度と、前記第3温度センサにより検出される前記第3リニアガイドの前記スライダーの温度とに基づいて、前記第1移動体の目標移動位置を示す前記位置指令を補正する、請求項1に記載の工作機械。
【請求項3】
前記スライダーは、
転動体を介して、前記ガイドレールと係合する金属製の本体部と、
前記移動体の移動方向において前記本体部と隣り合い、前記本体部に接続される樹脂製の樹脂部とを含み、
前記温度センサは、前記本体部と接触するように前記樹脂部によって支持される、請求項1または2に記載の工作機械。
【請求項4】
前記移動体は、第1方向に移動する第1移動体を含み、
前記リニアガイドは、前記第1移動体が取り付けられる取り付け面を有する前記スライダーを有し、前記第1移動体を前記第1方向に案内し、
前記移動体は、前記取り付け面と直交し、かつ、前記第1方向と直交する第2方向に移動する第2移動体をさらに含み、さらに、
前記第2移動体を移動させる動力源をなすサーボモータと、
前記第2移動体の目標移動位置を示す位置指令に基づいて、前記サーボモータを制御する制御装置とを備え、
前記制御装置は、前記温度センサにより検出される前記スライダーの温度に基づいて、前記第2移動体の目標移動位置を示す前記位置指令を補正する、請求項1に記載の工作機械。
【請求項5】
前記第1移動体は、水平方向に移動するコラムまたはテーブルであり、
前記第2移動体は、上下方向に移動する主軸頭である、請求項4に記載の工作機械。
【請求項6】
前記第1移動体は、上下方向に移動する主軸頭であり、
前記第2移動体は、水平方向に移動するテーブルである、請求項4に記載の工作機械。
発明の詳細な説明
【技術分野】
【0001】
この発明は、工作機械に関する。
続きを表示(約 1,900 文字)
【背景技術】
【0002】
たとえば、特開2013-234978号公報(特許文献1)には、ベッド上に設置されたコラムと、主軸を有する主軸頭と、テーブルを有するサドルとを備える工作機械が開示されている。主軸頭は、コラムの前面に支持されて、上下方向(Z軸方向)に移動可能である。サドルは、前後の水平方向(Y軸方向)に移動可能であり、サドル上には、テーブルが配置されている。テーブルは、左右の水平方向(X軸方向)に移動可能である。
【先行技術文献】
【特許文献】
【0003】
特開2013-234978号公報
【発明の概要】
【発明が解決しようとする課題】
【0004】
上述の特許文献1に開示されるように、直線方向に移動可能な移動体を備えた工作機械が知られている。このような工作機械においては、ワークの加工精度のさらなる向上を図るために、NCプログラムにおいて指示された目標移動位置に対して、移動体をより高精度に位置決めすることが求められている。
【0005】
この発明の目的は、目標移動位置に対して、移動体をより高精度に位置決めすることが可能な工作機械を提供することである。
【課題を解決するための手段】
【0006】
この発明の1つの局面に従った工作機械は、移動体と、基体に取り付けられるガイドレールと、移動体に取り付けられ、ガイドレールに沿ってスライド可能なスライダーとを有し、移動体をその移動方向に案内するリニアガイドと、スライダーに設けられ、スライダーの温度を検出する温度センサとを備える。
【0007】
この発明の別の局面に従った工作機械は、基体と、基体に対して移動可能な移動体と、基体に取り付けられるガイドレールと、移動体に取り付けられ、ガイドレールに沿ってスライド可能なスライダーとを有し、移動体をその移動方向に案内するリニアガイドと、スライダーに設けられ、スライダーの温度を検出する温度センサとを備える。
【0008】
この発明のさらに別の局面に従った工作機械は、基体と、基体により案内されるガイド部を有し、基体に対して移動可能な移動体と、ガイド部に設けられ、ガイド部の温度を検出する温度センサと、移動体を移動させる動力源をなすサーボモータと、移動体の目標移動位置を示す位置指令に基づいて、サーボモータを制御する制御装置とを備える。制御装置は、温度センサにより検出されるガイド部の温度に基づいて、位置指令を補正する。
【発明の効果】
【0009】
この発明に従えば、目標移動位置に対して、移動体をより高精度に位置決めすることが可能な工作機械を提供することができる。
【図面の簡単な説明】
【0010】
この発明の実施の形態1における工作機械を示す斜視図である。
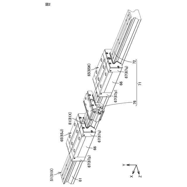
図1中の工作機械における案内機構および位置検出機構を示す斜視図である。
図2中の案内機構および位置検出機構を示す分解組み立て図である。
図2中のスライダーを示す断面図である。
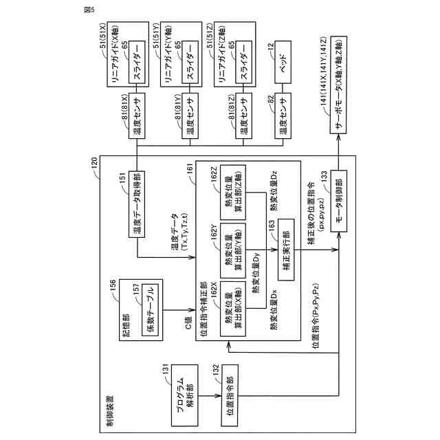
図1中の工作機械の制御系の機能構成を示す図である。
図5中の係数テーブルを示す表である。
サーボモータの制御の流れを示すフローチャートである。
第1検証実験において、コラムの往復移動の時間経過に伴うX軸方向の相対的変位の変化を示す表である。
第2検証実験において、コラムの往復移動の時間経過に伴うY軸方向の相対的変位の変化を示す表である。
この発明の実施の形態2における工作機械を示す断面図である。
この発明の実施の形態3における工作機械おいて、図2中の案内機構における温度センサの取り付け位置の変形例を示す斜視図である。
この発明の実施の形態4における工作機械を示す側面図である。
図12中の工作機械の制御系の機能構成を示す図である。
図13中の係数テーブルを示す表である。
この発明の実施の形態5における工作機械を示す側面図である。
図15中の工作機械の制御系の機能構成を示す図である。
図16中の係数テーブルを示す表である。
この発明の実施の形態6における工作機械を示す側面図である。
図18中の工作機械の制御系の機能構成を示す図である。
図19中の係数テーブルを示す表である。
【発明を実施するための形態】
(【0011】以降は省略されています)
この特許をJ-PlatPat(特許庁公式サイト)で参照する
関連特許
DMG森精機株式会社
工作機械
今日
DMG森精機株式会社
段取りステーションおよび工作機械
28日前
DMG森精機株式会社
工作機械、測定方法、および測定プログラム
22日前
DMG森精機株式会社
管理装置、管理方法、および管理プログラム
27日前
DMG森精機株式会社
管理装置、管理方法、および管理プログラム
27日前
個人
フライス盤
2か月前
麗豊実業股フン有限公司
ラクトバチルス・パラカセイNB23菌株及びそれを筋肉量の増加や抗メタボリック症候群に用いる用途
6か月前
日東精工株式会社
ねじ締め機
2か月前
日東精工株式会社
ねじ締め機
1か月前
日東精工株式会社
ねじ締め機
6か月前
日東精工株式会社
ねじ締め機
3か月前
株式会社北川鉄工所
回転装置
5か月前
株式会社不二越
ドリル
6か月前
株式会社ダイヘン
溶接電源装置
4か月前
キヤノン電子株式会社
加工装置
19日前
日東精工株式会社
ねじ締め装置
2か月前
日東精工株式会社
ねじ締め装置
4か月前
株式会社ダイヘン
溶接電源装置
4か月前
ダイニチ工業株式会社
配膳治具
22日前
株式会社ダイヘン
溶接電源装置
3か月前
株式会社FUJI
工作機械
5か月前
株式会社FUJI
工作機械
1か月前
個人
切削油供給装置
3か月前
日東精工株式会社
ねじ整列トレー
14日前
株式会社FUJI
工作機械
4か月前
株式会社FUJI
工作機械
1か月前
株式会社アンド
半田付け方法
2か月前
中国電力株式会社
養生シート
1か月前
睦月電機株式会社
金属表面処理方法
19日前
株式会社富田製作所
支持構造
27日前
キヤノン電子株式会社
加工システム
3か月前
個人
型枠製造装置のフレーム
1か月前
大見工業株式会社
ドリル
3か月前
村田機械株式会社
レーザ加工機
6か月前
村田機械株式会社
レーザ加工機
6か月前
株式会社ツガミ
工作機械
2か月前
続きを見る
他の特許を見る