TOP
|
特許
|
意匠
|
商標
特許ウォッチ
Twitter
他の特許を見る
10個以上の画像は省略されています。
公開番号
2025164693
公報種別
公開特許公報(A)
公開日
2025-10-30
出願番号
2025030240,2024067719
出願日
2025-02-27,2024-04-18
発明の名称
管理装置、管理方法、および管理プログラム
出願人
DMG森精機株式会社
代理人
個人
主分類
G06Q
50/04 20120101AFI20251023BHJP(計算;計数)
要約
【課題】パレットに対して行う作業内容の把握を支援するための技術を提供する。
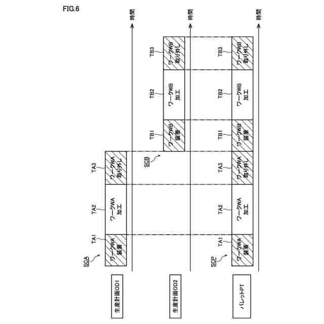
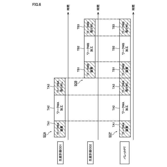
【解決手段】管理装置は、制御部を備える。制御部は、パレットに装着された状態で加工される第1ワークに関する第1生産計画の入力を受けた場合に、第1加工スケジュールを生成する処理と、第1ワークと同一のパレットに装着された状態で加工が可能な第2ワークに関する第2生産計画の入力を受けた場合に、第2加工スケジュールを生成する処理とを実行する。第1,第2加工スケジュールは、作業者が第1,第2ワークをパレットに装着する予定の時間帯と、加工システムが第1,第2ワークを加工する予定の時間帯と、作業者が第1,第2ワークをパレットから取り外す予定の時間帯とを含む。制御部は、第1,第2加工スケジュールを統合した第3加工スケジュールを、パレットに関連付けて出力する処理とを実行する。
【選択図】図6
特許請求の範囲
【請求項1】
加工システムにおける加工スケジュールを管理するための管理装置であって、
制御部を備え、
前記制御部は、
パレットに装着された状態で加工される第1ワークに関する第1生産計画の入力を受けた場合に、当該第1ワークに関する第1加工スケジュールを生成する処理と、
前記第1ワークと同一の前記パレットに装着された状態で加工が可能な第2ワークに関する第2生産計画の入力を受けた場合に、当該第2ワークに関する第2加工スケジュールを生成する処理とを実行し、
前記第1加工スケジュールは、
作業者が前記第1ワークを前記パレットに装着する予定の時間帯と、
前記加工システムが前記第1ワークを加工する予定の時間帯と、
作業者が前記第1ワークを前記パレットから取り外す予定の時間帯とを含み、
前記第2加工スケジュールは、
作業者が前記第2ワークを前記パレットに装着する予定の時間帯と、
前記加工システムが前記第2ワークを加工する予定の時間帯と、
作業者が前記第2ワークを前記パレットから取り外す予定の時間帯とを含み、
前記制御部は、さらに、
前記第1加工スケジュールおよび前記第2加工スケジュールを統合した第3加工スケジュールを、前記パレットに関連付けて出力する処理とを実行する、管理装置。
続きを表示(約 2,000 文字)
【請求項2】
前記制御部は、さらに、
前記第1加工スケジュールを前記第1生産計画に関連付けて出力する処理と、
前記第2加工スケジュールを前記第2生産計画に関連付けて出力する処理とを実行する、請求項1に記載の管理装置。
【請求項3】
前記管理装置は、さらに、複数の前記加工システムと通信することが可能な通信部を備え、
前記制御部は、複数の前記加工システムの内の同一の加工システムで前記第1,第2ワークを加工するように前記第1,第2加工スケジュールを生成し、
前記第1加工スケジュールを出力する処理では、前記同一の加工システムを示す識別子が関連付けられた状態で前記第1加工スケジュールが出力され、
前記第2加工スケジュールを出力する処理では、前記識別子が関連付けられた状態で前記第2加工スケジュールが出力され、
前記第3加工スケジュールを出力する処理では、前記識別子が関連付けられた状態で前記第3加工スケジュールが出力される、請求項2に記載の管理装置。
【請求項4】
前記制御部は、さらに、
前記加工システムが停止したことを示す停止実績情報を受信した場合に、前記加工システムの停止時間に応じて、前記第1加工スケジュールおよび前記第2加工スケジュールを更新する処理と、
更新後の前記第1加工スケジュールを、更新前の前記第1加工スケジュールと関連付けて出力する処理と、
更新後の前記第2加工スケジュールを、更新前の前記第2加工スケジュールと関連付けて出力する処理とを実行する、請求項1~3のいずれか1項に記載の管理装置。
【請求項5】
前記制御部は、さらに、
更新後の前記第1加工スケジュールと更新後の前記第2加工スケジュールとを統合した更新後の前記第3スケジュールを、更新前の前記第3加工スケジュールと関連付けて出力する処理を実行する、請求項4に記載の管理装置。
【請求項6】
加工システムにおける加工スケジュールを管理するための管理方法であって、
パレットに装着された状態で加工される第1ワークに関する第1生産計画の入力を受けた場合に、当該第1ワークに関する第1加工スケジュールを生成するステップと、
前記第1ワークと同一の前記パレットに装着された状態で加工が可能な第2ワークに関する第2生産計画の入力を受けた場合に、当該第2ワークに関する第2加工スケジュールを生成するステップとを備え、
前記第1加工スケジュールは、
作業者が前記第1ワークを前記パレットに装着する予定の時間帯と、
前記加工システムが前記第1ワークを加工する予定の時間帯と、
作業者が前記第1ワークを前記パレットから取り外す予定の時間帯とを含み、
前記第2加工スケジュールは、
作業者が前記第2ワークを前記パレットに装着する予定の時間帯と、
前記加工システムが前記第2ワークを加工する予定の時間帯と、
作業者が前記第2ワークを前記パレットから取り外す予定の時間帯とを含み、
前記管理方法は、さらに、
前記第1加工スケジュールおよび前記第2加工スケジュールを統合した第3加工スケジュールを、前記パレットに関連付けて出力するステップとを備える、管理方法。
【請求項7】
加工システムにおける加工スケジュールを管理するための管理プログラムであって、
前記加工プログラムは、コンピュータに、
パレットに装着された状態で加工される第1ワークに関する第1生産計画の入力を受けた場合に、当該第1ワークに関する第1加工スケジュールを生成するステップと、
前記第1ワークと同一の前記パレットに装着された状態で加工が可能な第2ワークに関する第2生産計画の入力を受けた場合に、当該第2ワークに関する第2加工スケジュールを生成するステップとを実行させ、
前記第1加工スケジュールは、
作業者が前記第1ワークを前記パレットに装着する予定の時間帯と、
前記加工システムが前記第1ワークを加工する予定の時間帯と、
作業者が前記第1ワークを前記パレットから取り外す予定の時間帯とを含み、
前記第2加工スケジュールは、
作業者が前記第2ワークを前記パレットに装着する予定の時間帯と、
前記加工システムが前記第2ワークを加工する予定の時間帯と、
作業者が前記第2ワークを前記パレットから取り外す予定の時間帯とを含み、
前記加工プログラムは、前記コンピュータに、さらに、
前記第1加工スケジュールおよび前記第2加工スケジュールを統合した第3加工スケジュールを、前記パレットに関連付けて出力するステップとを実行させる、管理プログラム。
発明の詳細な説明
【技術分野】
【0001】
本開示は、管理装置、管理方法、および管理プログラムに関する。
続きを表示(約 2,000 文字)
【背景技術】
【0002】
特開2020-129161号公報(特許文献1)は、「複数の異常が発生した場合に各異常の速やかな復旧を実現可能な作業支援システム」を開示している。当該作業支援システムは、作業者の割り当てを進捗に基づき変更することで、動的に作業者の割り当てを更新する。
【0003】
特許文献1の図13には、作業指揮者用の進捗管理画面が示されている。当該進捗管理画面は、ラインの欄と、工程の欄と、作業者の欄と、予定所要時間の欄と、進捗度の欄と、ガンチャートの欄とを含む。ガンチャートにおいては、各工程に関し、計画のチャートと、完了した処置手順のチャートと、遅れなく進行している処理手順のチャートと、進捗が遅れている処理手順のチャートとが、作業指揮者が区別可能な態様で表示されている。作業指揮者は、このような進捗管理画面を確認することで、復旧作業の進捗状況の全容を把握する。
【先行技術文献】
【特許文献】
【0004】
特開2020-129161号公報
【発明の概要】
【発明が解決しようとする課題】
【0005】
ところで、加工システムにおいて、ワークの加工スケジュールを管理することが望まれている。加工システムでは、作業者が様々な作業を行う。一例として、作業者は、パレットに対して加工対象のワークを取り付ける作業を行う。ワークの取り付け作業が完了すると、加工システムは、ワークの加工を開始する。ワークの加工が完了すると、作業者は、パレットからワークを取り外す作業を行う。
【0006】
加工工程を遅延させないためには、作業者は、加工システムでの自身の作業内容を予め把握しておく必要がある。これに関して、パレットに対して行う作業内容の把握を支援するための技術が望まれている。
【課題を解決するための手段】
【0007】
本開示の一例では、加工システムにおける加工スケジュールを管理するための管理装置が提供される。上記管理装置は、制御部を備える。上記制御部は、パレットに装着された状態で加工される第1ワークに関する第1生産計画の入力を受けた場合に、当該第1ワークに関する第1加工スケジュールを生成する処理と、上記第1ワークと同一の上記パレットに装着された状態で加工が可能な第2ワークに関する第2生産計画の入力を受けた場合に、当該第2ワークに関する第2加工スケジュールを生成する処理とを実行する。上記第1加工スケジュールは、作業者が上記第1ワークを上記パレットに装着する予定の時間帯と、上記加工システムが上記第1ワークを加工する予定の時間帯と、作業者が上記第1ワークを上記パレットから取り外す予定の時間帯とを含む。上記第2加工スケジュールは、作業者が上記第2ワークを上記パレットに装着する予定の時間帯と、上記加工システムが上記第2ワークを加工する予定の時間帯と、作業者が上記第2ワークを上記パレットから取り外す予定の時間帯とを含む。上記制御部は、さらに、上記第1加工スケジュールおよび上記第2加工スケジュールを統合した第3加工スケジュールを、上記パレットに関連付けて出力する処理とを実行する。
【0008】
本開示の一例では、上記第1加工スケジュールを出力する処理では、上記第1生産計画が関連付けられた状態で上記第1加工スケジュールが出力される。上記第2加工スケジュールを出力する処理では、上記第2生産計画が関連付けられた状態で上記第2加工スケジュールが出力される。
【0009】
本開示の一例では、上記管理装置は、さらに、複数の上記加工システムと通信することが可能な通信部を備える。上記制御部は、複数の上記加工システムの内の同一の加工システムで上記第1,第2ワークを加工するように上記第1,第2加工スケジュールを生成する。上記第1加工スケジュールを出力する処理では、上記同一の加工システムを示す識別子が関連付けられた状態で上記第1加工スケジュールが出力される。上記第2加工スケジュールを出力する処理では、上記識別子が関連付けられた状態で上記第2加工スケジュールが出力される。上記第3加工スケジュールを出力する処理では、上記識別子が関連付けられた状態で上記第3加工スケジュールが出力される。
【0010】
本開示の一例では、上記制御部は、さらに、上記加工システムが停止したことを示す停止実績情報を受信した場合に、上記加工システムの停止時間に応じて、上記第1加工スケジュールおよび上記第2加工スケジュールを更新する処理と、更新後の上記第1加工スケジュールを、更新前の上記第1加工スケジュールと関連付けて出力する処理と、更新後の上記第2加工スケジュールを、更新前の上記第2加工スケジュールと関連付けて出力する処理とを実行する。
(【0011】以降は省略されています)
この特許をJ-PlatPat(特許庁公式サイト)で参照する
関連特許
DMG森精機株式会社
工作機械
今日
DMG森精機株式会社
工作機械、測定方法、および測定プログラム
22日前
個人
詐欺保険
1か月前
個人
縁伊達ポイン
1か月前
個人
職業自動販売機
12日前
個人
5掛けポイント
19日前
個人
RFタグシート
1か月前
個人
QRコードの彩色
1か月前
個人
ペルソナ認証方式
27日前
個人
地球保全システム
1か月前
個人
情報処理装置
22日前
個人
自動調理装置
29日前
個人
農作物用途分配システム
1か月前
個人
残土処理システム
1か月前
個人
インターネットの利用構造
26日前
個人
サービス情報提供システム
14日前
個人
知的財産出願支援システム
1か月前
個人
タッチパネル操作指代替具
1か月前
個人
スケジュール調整プログラム
1か月前
個人
携帯端末障害問合せシステム
1か月前
個人
エリアガイドナビAIシステム
27日前
株式会社キーエンス
受発注システム
1か月前
個人
システム及びプログラム
2か月前
株式会社キーエンス
受発注システム
1か月前
株式会社キーエンス
受発注システム
1か月前
個人
海外支援型農作物活用システム
2か月前
個人
食品レシピ生成システム
1か月前
キヤノン株式会社
情報処理装置
20日前
株式会社ケアコム
項目選択装置
22日前
株式会社ケアコム
項目選択装置
22日前
キヤノン株式会社
印刷システム
1か月前
株式会社ワコム
電子ペン
21日前
個人
未来型家系図構築システム
2か月前
キヤノン株式会社
表示システム
1か月前
大同特殊鋼株式会社
疵判定方法
2か月前
株式会社ワコム
電子ペン
21日前
続きを見る
他の特許を見る