TOP
|
特許
|
意匠
|
商標
特許ウォッチ
Twitter
他の特許を見る
公開番号
2025163404
公報種別
公開特許公報(A)
公開日
2025-10-29
出願番号
2024066600
出願日
2024-04-17
発明の名称
段取りステーションおよび工作機械
出願人
DMG森精機株式会社
代理人
弁理士法人深見特許事務所
主分類
B23Q
3/157 20060101AFI20251022BHJP(工作機械;他に分類されない金属加工)
要約
【課題】工具ラックの取り付け姿勢を容易に調整することが可能な工具マガジンと、そのような工具マガジンを備える工作機械と、を提供する。
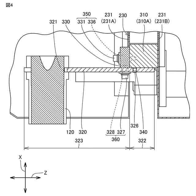
【解決手段】工具マガジンは、ベース部材(310)と、第1方向(X軸方向)においてベース部材(310)と対向する対向部(322)と、対向部(322)から、第1方向(X軸方向)と直交する第2方向(Z軸方向)に延出し、工具が第2方向(Z軸方向)に沿って挿抜される切り欠き321が設けられる延出部323とを有する工具ラック320と、第1方向(X軸方向)において延出部(323)と対向し、ベース部材(310)に取り付けられるブロック(330)と、対向部(322)に螺合され、第1方向(X軸方向)に延びるネジ部材(340)と、ベース部材(310)に対するブロック(330)の取り付け位置を第1方向(X軸方向)に調整可能な第1位置調整機構(350)とを備える。
【選択図】図4
特許請求の範囲
【請求項1】
ベース部材と、
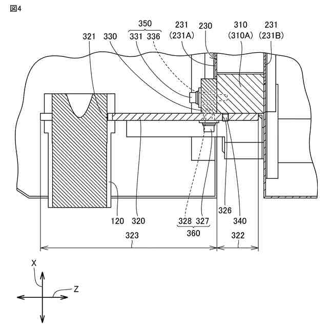
第1方向において前記ベース部材と対向する対向部と、前記対向部から、前記第1方向と直交する第2方向に延出し、工具が前記第2方向に沿って挿抜される切り欠きが設けられる延出部とを有し、前記第1方向が厚み方向に対応するプレートからなる工具ラックと、
前記第1方向において前記延出部と対向し、前記ベース部材に取り付けられるブロックと、
前記対向部に螺合され、前記第1方向に延びるネジ部材と、
前記ブロックに設けられ、前記ベース部材に対する前記ブロックの取り付け位置を前記第1方向に調整可能な第1位置調整機構とを備える、工具マガジン。
続きを表示(約 980 文字)
【請求項2】
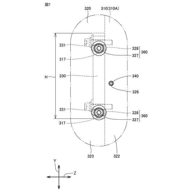
前記延出部には、前記第1方向および前記第2方向と直交する第3方向に間隔を開けて並ぶ複数の前記切り欠きが設けられ、
前記工具マガジンは、
前記第3方向において間隔を開けて並ぶ複数の前記ブロックと、
前記第3方向において間隔を開けて並び、前記第1方向に見た場合に、複数の前記ブロックから前記第2方向にずれた位置にそれぞれ設けられる複数の前記ネジ部材と、
複数の前記ブロックにそれぞれ設けられる複数の前記第1位置調整機構とを備える、請求項1に記載の工具マガジン。
【請求項3】
前記工具ラックは、複数の前記ブロックに取り付けられ、
前記工具マガジンは、
前記第3方向に間隔を開けて前記工具ラックに設けられ、各々が前記ブロックに対する前記工具ラックの取り付け位置を前記第2方向に調整可能な複数の第2位置調整機構をさらに備える、請求項2に記載の工具マガジン。
【請求項4】
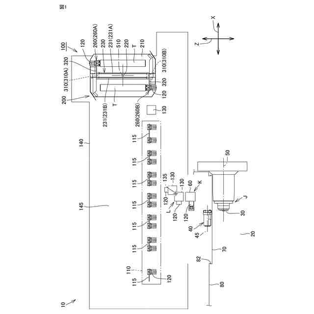
前記工具マガジンに格納される工具の段取りを行なうための段取りステーションを備え、
前記段取りステーションは、
上下方向に延びる所定軸を中心に旋回可能な旋回体と、
前記所定軸の半径方向外側における前記旋回体の一方端部に設けられる第1段取りユニットと、
前記第1段取りユニットから前記所定軸を中心に180°ずれた位置であって、前記所定軸の半径方向外側における前記旋回体の他方端部に設けられる第2段取りユニットとを有し、
前記旋回体は、上下方向に延びる柱からなり、前記一方端部および前記他方端部の各端部で前記旋回体の骨格をなす前記ベース部材を含み、
前記第1段取りユニットおよび前記第2段取りユニットの各段取りユニットは、前記第1方向が、前記所定軸の半径方向に対応し、前記第2方向が、前記所定軸を中心とする円周の接線方向に対応するように設けられる、前記工具ラック、前記ネジ部材および前記ブロックを含む、請求項1または2に記載の工具マガジン。
【請求項5】
請求項1または2に記載の工具マガジンと、
工具主軸と、
前記工具主軸に保持される工具と、前記工具マガジンに格納される工具とを交換可能な自動工具交換装置とを備える、工作機械。
発明の詳細な説明
【技術分野】
【0001】
この発明は、工具マガジンおよび工作機械に関する。
続きを表示(約 1,500 文字)
【背景技術】
【0002】
たとえば、特開2023-141843号公報(特許文献1)には、工具マガジン内の旧工具と、工具マガジン外の新工具とを入れ替える工具入れ替え装置を備えた工具マガジンが開示されている。工具入れ替え装置は、工具マガジンの所定位置に設けられる開口部に設置される固定枠と、鉛直方向の旋回軸を中心に旋回可能なように固定枠内に配された旋回枠と、旋回枠に固定された入れ替え用工具ラックとを有する。
【先行技術文献】
【特許文献】
【0003】
特開2023-141843号公報
【発明の概要】
【発明が解決しようとする課題】
【0004】
上述の特許文献1に開示される工具マガジンにおいて、入れ替え用工具ラックには、工具が一方向に沿って挿抜される複数の切り欠きが設けられている。このような構成において、工具マガジン内における入れ替え用工具ラックに対する工具の受け渡しは、ロボットである工具搬送装置により行なわれるため、入れ替え用工具ラックが適正な姿勢で取り付けられていないと、工具の受け渡しが円滑に実行されない可能性がある。したがって、工具マガジンの組み立て時に、工具ラックの取り付け姿勢を容易に調整する手段が必要とされている。
【0005】
この発明の目的は、工具ラックの取り付け姿勢を容易に調整することが可能な工具マガジンと、そのような工具マガジンを備える工作機械とを提供することである。
【課題を解決するための手段】
【0006】
この発明に従った工具マガジンは、ベース部材と、第1方向においてベース部材と対向する対向部と、対向部から、第1方向と直交する第2方向に延出し、工具が第2方向に沿って挿抜される切り欠きが設けられる延出部とを有し、第1方向が厚み方向に対応するプレートからなる工具ラックと、第1方向において延出部と対向し、ベース部材に取り付けられるブロックと、対向部に螺合され、第1方向に延びるネジ部材と、ベース部材に対するブロックの取り付け位置を第1方向に調整可能な第1位置調整機構とを備える。
【0007】
この発明に従った工作機械は、上記の工具マガジンと、工具主軸と、工具主軸に保持される工具と、工具マガジンに格納される工具とを交換可能な自動工具交換装置とを備える。
【発明の効果】
【0008】
この発明に従えば、工具ラックの取り付け姿勢を容易に調整することが可能な工具マガジンと、そのような工具マガジンを備える工作機械とを提供することができる。
【図面の簡単な説明】
【0009】
工作機械を示す上面図である。
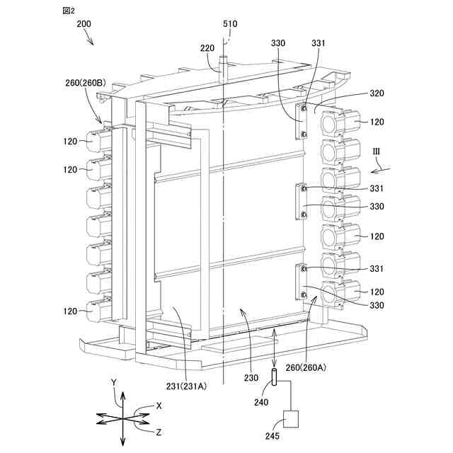
図1中の工具マガジンにおける段取りステーションを示す斜視図である。
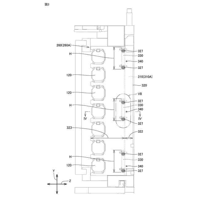
図2中の矢印IIIに示される方向に見た工具マガジンを示す側面図である。
図3中のIV-IV線上の矢視方向に見た工具マガジンを示す断面図である。
図4中に示す工具マガジンを示す斜視図である。
第1位置調整機構を示す分解組み立て図である。
図3中の2点鎖線VIIで囲まれた範囲の工具マガジンを示す側面図である。
工具主軸および工具マガジン間における工具搬送および工具交換の流れの一例を示す図である。
【発明を実施するための形態】
【0010】
この発明の実施の形態について、図面を参照して説明する。なお、以下で参照する図面では、同一またはそれに相当する部材には、同じ番号が付されている。
(【0011】以降は省略されています)
この特許をJ-PlatPat(特許庁公式サイト)で参照する
関連特許
DMG森精機株式会社
工作機械
今日
DMG森精機株式会社
加工システム
2か月前
DMG森精機株式会社
段取りステーションおよび工作機械
28日前
DMG森精機株式会社
工作機械、測定方法、および測定プログラム
22日前
DMG森精機株式会社
管理装置、管理方法、および管理プログラム
27日前
DMG森精機株式会社
ロボット搭載移動装置
1か月前
DMG森精機株式会社
クーラント処理装置および工作機械
1か月前
DMG森精機株式会社
管理装置、管理方法、および管理プログラム
27日前
個人
タップ
6か月前
個人
フライス盤
2か月前
個人
加工機
6か月前
麗豊実業股フン有限公司
ラクトバチルス・パラカセイNB23菌株及びそれを筋肉量の増加や抗メタボリック症候群に用いる用途
6か月前
株式会社北川鉄工所
回転装置
5か月前
日東精工株式会社
ねじ締め機
2か月前
日東精工株式会社
ねじ締め機
3か月前
日東精工株式会社
ねじ締め機
6か月前
株式会社不二越
ドリル
6か月前
日東精工株式会社
ねじ締め機
1か月前
日東精工株式会社
ねじ締め装置
4か月前
株式会社ダイヘン
溶接電源装置
3か月前
ダイニチ工業株式会社
配膳治具
22日前
日東精工株式会社
ねじ締め装置
2か月前
株式会社ダイヘン
溶接電源装置
4か月前
キヤノン電子株式会社
加工装置
19日前
株式会社ダイヘン
溶接電源装置
4か月前
株式会社FUJI
工作機械
5か月前
個人
切削油供給装置
3か月前
株式会社FUJI
工作機械
1か月前
株式会社FUJI
工作機械
1か月前
株式会社FUJI
工作機械
4か月前
日東精工株式会社
ねじ整列トレー
14日前
睦月電機株式会社
金属表面処理方法
19日前
株式会社アンド
半田付け方法
2か月前
株式会社富田製作所
支持構造
27日前
キヤノン電子株式会社
加工システム
3か月前
個人
型枠製造装置のフレーム
1か月前
続きを見る
他の特許を見る