TOP
|
特許
|
意匠
|
商標
特許ウォッチ
Twitter
他の特許を見る
公開番号
2025082600
公報種別
公開特許公報(A)
公開日
2025-05-29
出願番号
2023196040
出願日
2023-11-17
発明の名称
ねじ締め機
出願人
日東精工株式会社
代理人
主分類
B23P
19/06 20060101AFI20250522BHJP(工作機械;他に分類されない金属加工)
要約
【課題】チャック内部でねじの姿勢を保持することが可能なねじ締め機を提供する。
【解決手段】
回転駆動源31の駆動を受けて回転するドライバビット33を有するドライバユニット30と、別途供給されるねじSを案内する案内部材28と、前記案内部材28に案内されたねじSを受取可能なチャックユニット40と、前記ドライバユニット30を往復駆動させる位置制御機構40とを備え、前記チャックユニット40は、前記ねじSを保持可能な保持孔44が形成されたチャック爪43と、前記チャック爪43を往復移動させる往復駆動源41と、前記保持孔44に連続し、保持孔44内を負圧にすることによりねじSを吸着保持する吸着保持部45とを備えることを特徴とするねじ締め機10による。
【選択図】図2
特許請求の範囲
【請求項1】
回転駆動源の駆動を受けて回転するドライバビットを有するドライバユニットと、
前記ドライバビットの軸線方向にドライバユニットを往復移動させる位置制御機構と、
前記ドライバビットの軸線上にねじを搬送するチャックユニットと、
前記チャックユニットにねじを供給する案内部材とを備え、
前記チャックユニットは、
前記案内部材を通過したねじを保持可能な保持孔が形成されたチャック爪と、
前記保持孔が前記案内部材に連続する受取位置および前記保持孔がドライバビットの軸線上に位置する受渡位置の間で前記チャック爪を往復移動させる往復駆動源と、
前記保持孔内を負圧にすることによりねじを吸着保持する吸着保持部と
を備えることを特徴とするねじ締め機。
続きを表示(約 590 文字)
【請求項2】
前記ドライバビットには、前記ねじの頭部上面に当接し、当該ねじを吸着保持する保持手段が設けられていることを特徴とする請求項1に記載のねじ締め機。
【請求項3】
前記保持手段は、磁石によりねじを吸着保持することを特徴とする請求項2に記載のねじ締め機。
【請求項4】
前記保持手段の先端が前記保持孔内に進入可能に構成されていることを特徴とする請求項2に記載のねじ締め機。
【請求項5】
前記チャックユニットは、前記保持孔が分割形成された一対の前記チャック爪と、
前記チャック爪を互いに接近、離反させる開閉駆動源をと備えることを特徴とする請求項1に記載のねじ締め機。
【請求項6】
前記チャック爪は、ねじの頭部上端が保持孔から外部に突き出すよう構成され、
前記案内部材の先端には、前記受渡位置側に切り欠き溝が形成され、
前記切り欠き溝は、前記保持孔から突き出したねじの頭部上端が通過可能な大きさに構成されていることを特徴とする請求項1に記載のねじ締め機。
【請求項7】
前記保持孔は、ねじの頭部外形より広い開口部を有するテーパ部と、このテーパ部の底部に連続する連通部とを有し、
前記吸着保持部は、前記連通部に連続することを特徴とする請求項1に記載のねじ締め機。
発明の詳細な説明
【技術分野】
【0001】
本発明は、ワークにねじを締めつけるねじ締め機に関する。
続きを表示(約 3,100 文字)
【背景技術】
【0002】
従来のねじ締め機として、特許文献1に示すように、ねじと嵌合可能なドライバビットと、このドライバビットの軸線上に配置され、外部のねじ供給装置から供給されたねじを一旦保持するチャックユニットとを備えたねじ締め機が知られている。このねじ締め機のチャックユニットは、前記ドライバビットを軸方向の往復移動可能に案内する案内孔が形成されたチャック本体と、このチャック本体に揺動自在に装着され、前記ドライバビットの軸線上に保持孔を分割形成するチャック爪とを備えている。これら構造により、前記チャック爪がねじをドライバビットの軸線上に保持するとともに、ドライバビットがねじに向かい下降することで当該ねじをチャック爪から受取りワークに締めつけることが可能であった。
【先行技術文献】
【特許文献】
【0003】
特開2013-107159号公報
【発明の概要】
【発明が解決しようとする課題】
【0004】
しかしながら、従来のねじ締め機は、軸部の短いねじを締めつける場合、チャック爪が軸部を十分に保持することができず、供給されたねじがチャックユニット内部で姿勢を崩し、締めつけ不良を引き起こす等の問題があった。
【0005】
そのため、本発明は、チャック内部でねじの姿勢を保持することが可能なねじ締め機の提供を目的とする。
【課題を解決するための手段】
【0006】
本発明は、上記課題に鑑みて創生されたものであり、回転駆動源の駆動を受けて回転するドライバビットを有するドライバユニットと、前記ドライバビットの軸線方向にドライバユニットを往復移動させる位置制御機構と、前記ドライバビットの軸線上にねじを搬送するチャックユニットと、前記チャックユニットにねじを供給する案内部材とを備え、前記チャックユニットは、前記案内部材を通過したねじを保持可能な保持孔が形成されたチャック爪と、前記保持孔が前記案内部材に連続する受取位置および前記保持孔がドライバビットの軸線上に位置する受渡位置の間で前記チャック爪を往復移動させる往復駆動源と、前記保持孔内を負圧にすることによりねじを吸着保持する吸着保持部とを備えることを特徴とする。
また、前記ドライバビットには、前記ねじの頭部上面に当接し、当該ねじを吸着保持する保持手段が設けられていることが好ましい。
また、前記保持手段は、磁石によりねじを吸着保持することが好ましい。
また、前記保持手段の先端が前記保持孔内に進入可能に構成されていることが好ましい。
また、前記チャックユニットは、前記保持孔が分割形成された一対の前記チャック爪と、前記チャック爪を互いに接近、離反させる開閉駆動源をと備えることが好ましい。
また、前記チャック爪は、ねじの頭部上端が保持孔から外部に突き出すよう構成され、前記案内部材の先端には、前記受渡位置側に切り欠き溝が形成され、前記切り欠き溝は、前記保持孔から突き出したねじの頭部上端が通過可能な大きさに構成されていることが好ましい。
また、前記保持孔は、ねじの頭部外形より広い開口部を有するテーパ部と、このテーパ部の底部に連続する連通部とを有し、前記吸着保持部は、前記連通部に連続することが好ましい。
【発明の効果】
【0007】
本発明のねじ締め機によれば、保持孔内のねじを吸着保持部が吸着するため、チャック内部でねじの姿勢が崩れない等の利点がある。
また、前記ドライバビットに設けられた保持手段が前記ねじの頭部上面に当接するよう構成されているため、保持孔から保持手段へ受け渡す際にねじの姿勢が崩れることを防止できる等の利点もある。
また、前記保持手段が磁石によりねじを吸着保持するため、ねじの形状関係なく保持できるとうの利点もある。
また、前記保持手段の先端部が前記保持孔内に進入するため、ねじが保持孔と保持手段との間で自由になることがない。このため、よりねじの姿勢が崩れにくくなる等の利点もある。
また、前記チャック爪が開閉駆動するため、保持手段がねじを保持した後、ドライバビットおよび保持手段の移動経路上を即座に開けることが可能となる。このため、サイクルタイムを短縮できる等の利点もある。
【図面の簡単な説明】
【0008】
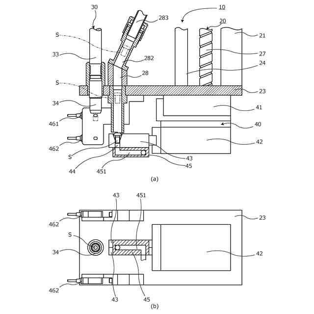
本発明に係るねじ締め機の側面図である。
本発明に係るねじ締め機の構造を示す要部拡大図であり、(a)はチャックユニットの構造を示す要部拡大側面図であり、(b)はチャックユニット構造を示す要部拡大底面図である。
(a)は図2の(a)の状態から次の状態に移行した状態を示す要部拡大側面図であり、(b)は図2の(b)の状態から次の状態に移行した状態を示す要部拡大底面図である。
(a)は図3の(a)の状態から次の状態に移行した状態を示す要部拡大側面図であり、(b)は図3の(b)の状態から次の状態に移行した状態を示す要部拡大底面図である。
(a)は図4の(a)の状態から次の状態に移行した状態を示す要部拡大側面図であり、(b)は図4の(b)の状態から次の状態に移行した状態を示す要部拡大底面図である。
本発明に係るねじ締め機のドライバビットの構造を示す要部拡大図であり、(a)はねじを保持した状態を示す要部拡大側面図であり、(b)はねじを締めつける時の状態を示す要部拡大側面図である。
【発明を実施するための形態】
【0009】
以下、本発明の実施の形態を図面に基づき説明する。図1ないし図5において、10は、被ワークWに形成された下孔に対して頭部および軸部を備えたねじSを締めつけるねじ締め機である。このねじ締め機10は、水平多関節ロボット(図示せず)の駆動を受けて水平移動する位置制御機構20と、この位置制御機構20の駆動を受けて昇降するドライバユニット30と、このドライバユニット30の移動経路状にねじSを保持するチャックユニット40と、これらの駆動を制御する制御部(図示せず)とを有している。
【0010】
前記ねじ締め機10の位置制御機構20は、図1に示すように鉛直方向に延びるフレーム21を備えており、このフレーム21の上下端部には、それぞれ水平方向に延びる上側プレート22および下側プレート23が固定されている。この上側プレート22および下側プレート23の間には、フレーム21と平行に延びるガイドロッド24が設けられており、このガイドロッド24には、ドライバ台25が当該ガイドロッド24に沿って摺動自在に装着されている。また、前記上側プレート22には、昇降駆動源の一例である昇降用ACサーボモータ26(以下、昇降モータ26という)が載置されており、この昇降モータ26の出力軸には、前記ガイドロッド24と平行に延びるボールねじ27が一体に回転可能に連結されている。このボールねじ27には、その回転によって昇降可能な駆動ナット(図示せず)が螺合しており、この駆動ナットには、前記ドライバ台25が一体に連結されている。このため、昇降モータ26がボールねじ27を回転させると、図1に二点鎖線に示すように駆動ナットおよびドライバ台25が上下方向に昇降する。
(【0011】以降は省略されています)
この特許をJ-PlatPat(特許庁公式サイト)で参照する
関連特許
日東精工株式会社
ねじ締め機
3か月前
日東精工株式会社
ねじ締め機
2か月前
日東精工株式会社
ねじ締め装置
2か月前
日東精工株式会社
ねじ整列トレー
28日前
日東精工株式会社
振動波形検査装置
1か月前
日東精工株式会社
医療用電動タッパー
28日前
日東精工株式会社
地盤の液状化判定方法
2か月前
日東精工株式会社
磁気式検査装置及びその良品判定方法
2か月前
日東精工株式会社
二次電池の端子および二次電池の端子の製造方法
5日前
個人
タップ
7か月前
個人
フライス盤
3か月前
個人
加工機
7か月前
麗豊実業股フン有限公司
ラクトバチルス・パラカセイNB23菌株及びそれを筋肉量の増加や抗メタボリック症候群に用いる用途
6か月前
日東精工株式会社
ねじ締め機
6か月前
日東精工株式会社
ねじ締め機
3か月前
日東精工株式会社
ねじ締め機
2か月前
株式会社北川鉄工所
回転装置
6か月前
株式会社不二越
ドリル
6か月前
日東精工株式会社
ねじ締め機
3か月前
日東精工株式会社
ねじ締め装置
5か月前
株式会社ダイヘン
溶接電源装置
4か月前
日東精工株式会社
ねじ締め装置
2か月前
ダイニチ工業株式会社
配膳治具
1か月前
株式会社ダイヘン
溶接電源装置
4か月前
株式会社ダイヘン
溶接電源装置
4か月前
キヤノン電子株式会社
加工装置
1か月前
日東精工株式会社
ねじ整列トレー
28日前
株式会社FUJI
工作機械
5か月前
株式会社FUJI
工作機械
5か月前
個人
切削油供給装置
3か月前
株式会社FUJI
工作機械
2か月前
株式会社FUJI
工作機械
2か月前
株式会社富田製作所
支持構造
1か月前
日進工具株式会社
エンドミル
7か月前
エフ・ピー・ツール株式会社
リーマ
7か月前
株式会社アンド
半田付け方法
3か月前
続きを見る
他の特許を見る