TOP
|
特許
|
意匠
|
商標
特許ウォッチ
Twitter
他の特許を見る
公開番号
2025169042
公報種別
公開特許公報(A)
公開日
2025-11-12
出願番号
2024074008
出願日
2024-04-30
発明の名称
医療用電動タッパー
出願人
日東精工株式会社
代理人
主分類
A61B
17/92 20060101AFI20251105BHJP(医学または獣医学;衛生学)
要約
【課題】本発明は、作業者の負担が小さい医療用電動タッパーを提供する。
【解決手段】モータ12と、モータに電力供給する電源13と、電源とモータ12とを接続する制御部14と、モータおよび制御部を内包可能な筐体15と、モータの駆動を受けて回転することにより、骨Wにめねじ加工を施すタップビット16とを備え、制御部は、タップビットが所定の深さまで骨に侵入すると電源からモータへの電力供給を遮断するように構成されていることを特徴とする医療用電動タッパーによる。タップビットは、骨にめねじ加工を施すタップ部161と、このタップ部が所定の深さまで骨に侵入すると骨の表面に当接するストッパ162とを有し、制御部は、ストッパが骨に当接したこと検出すると、モータの回転を停止させる。
【選択図】図1
特許請求の範囲
【請求項1】
モータと、
前記モータに電力供給する電源と、
前記電源とモータとを接続する制御部と、
作業者が把持可能かつ前記モータおよび制御部を内包可能な筐体と、
前記モータの駆動を受けて回転することにより、骨にめねじ加工を施すタップビットとを備え、
前記制御部は、タップビットが所定の深さまで骨に侵入すると電源からモータへの電力供給を遮断するように構成されていることを特徴とする医療用電動タッパー。
続きを表示(約 420 文字)
【請求項2】
前記タップビットは、骨にめねじ加工を施すタップ部と、このタップ部より基端側に設けられ、タップ部が所定の深さまで骨に侵入すると骨の表面に当接するストッパとを有し、
前記制御部は、前記ストッパが骨に当接したこと検出すると、前記モータの回転を停止させることを特徴とする請求項1に記載の医療用電動タッパー。
【請求項3】
前記制御部は、前記モータに供給される負荷電流値を常時監視し、前記負荷電流値の単位時間あたりの増加量が予め設定された規定値を超過すると、モータへ供給される電流を遮断することを特徴とする請求項1または請求項2に記載の医療用電動タッパー。
【請求項4】
前記モータが、DCモータであることを特徴とする請求項1に記載の医療用電動タッパー。
【請求項5】
前記筐体は、作業者が把持可能な筒状形状に構成されていることを特徴とする請求項1に記載の医療用電動タッパー。
発明の詳細な説明
【技術分野】
【0001】
本発明は、作業者の手に掛かる負担が小さい医療用電動タッパー。
続きを表示(約 3,400 文字)
【背景技術】
【0002】
従来、モータが駆動することにより工具を回転させる電動工具として、特許文献1に記載されるように作業者が把持する電動工具が知られている。このような電動工具は、モータに供給される電流値の上限値を制御することにより、モータの最大トルクを制御するよう構成されている。このため、ねじを所定のトルクでワークに締結可能であった。
【先行技術文献】
【特許文献】
【0003】
特許4203268号公報
【発明の概要】
【発明が解決しようとする課題】
【0004】
しかしながら、従来の電動工具は、最大トルクに到達後もモータに電流が流れており、モータが回転トルクを発揮し続けている。このため、ねじの座面やタップビット等がワークに当接することによって回転工具が強制的に回転停止した瞬間、当該電動工具を把持する作業者の手に回転工具の回転方向と逆方向に反動が作用し、当該反動が作業者を疲労させる等の問題があった。このため、従来の電動工具は、手術等、精密かつ長い時間使用する医療用電動タッパーとしては、不向きであった。
【0005】
そのため、本発明は、めねじ加工完了時の反動が小さい医療用電動タッパーの提供を目的とする。
【課題を解決するための手段】
【0006】
この目的を達成するために本発明は、モータと、前記モータに電力供給する電源と、前記電源とモータとを接続する制御部と、作業者が把持可能かつ前記モータおよび制御部を内包可能な筐体と、前記モータの駆動を受けて回転することにより、骨にめねじ加工を施すタップビットとを備え、前記制御部は、タップビットが所定の深さまで骨に侵入すると電源からモータへの電力供給を遮断するように構成されていることを特徴とする。
なお、前記タップビットは、骨にめねじ加工を施すタップ部と、このタップ部より基端側に設けられ、タップ部が所定の深さまで骨に侵入すると骨の表面に当接するストッパとを有し、前記制御部は、前記ストッパが骨に当接したこと検出すると、前記モータの回転を停止させることが好ましい。
また、前記制御部は、前記モータに供給される負荷電流値を常時監視し、前記負荷電流値の単位時間あたりの増加量が予め設定された規定値を超過すると、モータへ供給される電流を遮断することが好ましい。
さらに、前記モータが、DCモータであることが好ましい。
しかも、前記筐体は、作業者が把持可能な筒状形状に構成されていることが好ましい。
【発明の効果】
【0007】
上記発明によれば、制御部がモータへの電力供給を遮断してモータを即座に停止させるため、作業者の手に作用する反動が小さくなる等の利点がある。
なお、前記タップビットが、タップ部とストッパと有しており、タップ部が所定の深さまでめねじ加工を施すとストッパが骨に当接するため、深くめねじ加工しすぎることがない等の利点もある。
また、前記制御部が、前記モータに供給される電流値の単位時間あたりの増加量が予め設定された規定値を超過すると、モータへ供給される電流を遮断するよう構成されている。このため、ストッパが骨に当接し、前記モータに供給される電流値が急増すると、制御部が、モータへの電力供給を遮断し、モータを停止させることができる。この結果、タップビットの長さや骨の構造にかかわらずストッパが骨に当接したことを検出することができる等の利点も有する。
さらに、前記モータがDCモータであるため、電源に電池を用いることができ、作業性が向上する等の利点も有する。
しかも、前記筐体が筒状形状に構成されているため、軽量化することが可能となる等の利点も有する。
これら効果により、長時間操作しても作業者の手に掛かる負担を小さくすることが可能で、長時間操作しても疲労しにくい等の利点も有する。
【図面の簡単な説明】
【0008】
本発明に係る医療用電動タッパーの構造を示すが概略側面図である。
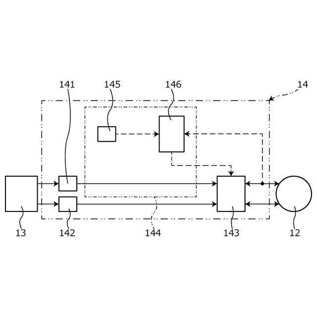
本発明に係る医療用電動タッパーの制御構成を示すブロック図である
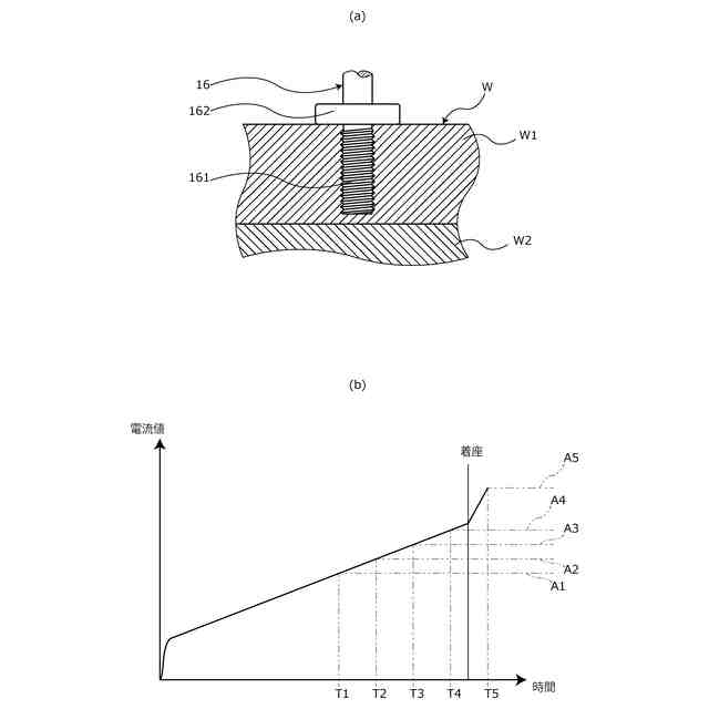
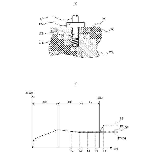
本発明に係る医療用電動タッパーによるめねじ加工状態を示す図であり、(a)は皮質骨がタップ部より厚い骨におけるめねじ加工の状態を示す要部拡大概略側面図で、(b)は(a)に示すめねじ加工状態における医療用電動タッパーの駆動制御を示すグラフである。
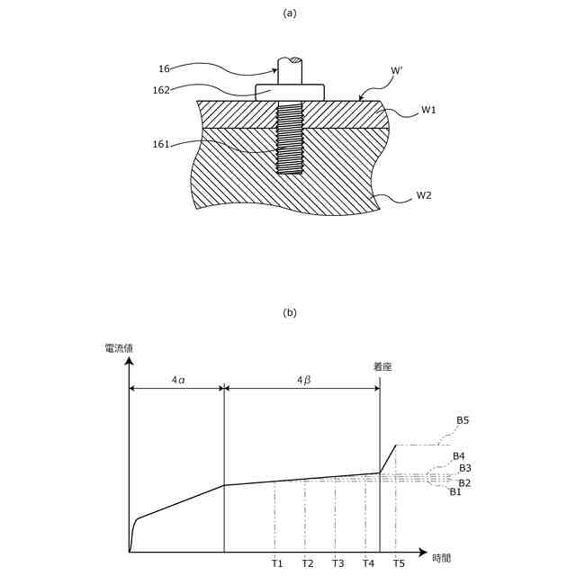
本発明に係る医療用電動タッパーによるめねじ加工状態を示す図であり、(a)は皮質骨がタップ部より薄い骨におけるめねじ加工の状態を示す要部拡大概略側面図で、(b)は(a)に示すめねじ加工状態における医療用電動タッパーの駆動制御を示すグラフである。
本発明に係る医療用電動タッパーの第2の実施例によるめねじ加工状態を示す図であり、(a)は皮質骨がタップ部より厚い骨におけるめねじ加工の状態を示す要部拡大概略側面図で、(b)は(a)に示すめねじ加工状態における医療用電動タッパーの駆動制御を示すグラフである。
本発明に係る医療用電動タッパーの第2の実施例によるめねじ加工状態を示す図であり、(a)は皮質骨がタップ部より薄い骨におけるめねじ加工の状態を示す要部拡大概略側面図で、(b)は(a)に示すめねじ加工状態における医療用電動タッパーの駆動制御を示すグラフである。
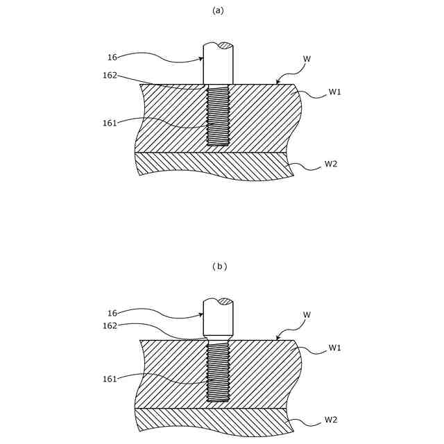
(a)、(b)ともに本発明に係る医療用電動タッパーの他の実施形態を示す要部拡大概略側面図である。
【発明を実施するための形態】
【0009】
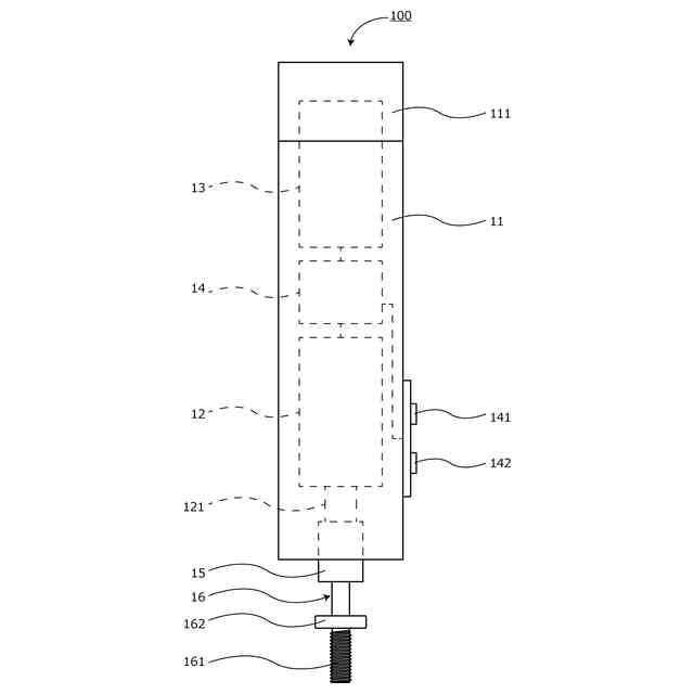
以下、本発明の第一の実施形態を図面に基づき説明する。図1において10は、骨Wに形成された下穴にめねじを切削する医療用電動タッパーの一例である。この医療用電動タッパー10は、作業者が把持可能な円筒形状の筐体11を有しており、この筐体11の内部には、DCモータ12と、このDCモータ12に電力供給する電池13と、電池13とDCモータ12とを接続する制御部14が収容されている。また、前記DCモータ12の出力軸121には、把持チャック15が連結されている。この把持チャック15は、その先端部が前記筐体11から突出しており、この把持チャック15には、タップビット16が把持されている。このタップビット16は、先端に設けられたおねじ形状のタップ部161と、このタップ部161より基端側に設けられたタップ部161より大きいストッパ162を有している。このため、図3の(a)に示すようにタップ部161が所定の深さまで骨Wに侵入すると、前記ストッパ162は、骨Wの表面に当接してする。さらに、前記筐体11は、タップビット16と逆側の端部が着脱可能に構成された蓋部材111となっており、前記電池13は、蓋部材111側に収容されている。このため、蓋部材111を外すことにより、前記電池13を容易に取り出しおよび交換可能となる。
【0010】
以下、制御部14の構成について図2を基づいて説明する。
前記制御部14は、正転スイッチ141および逆転スイッチ142と、回転指令部143と、回転制御部144とから構成されている。前記正転スイッチ141および逆転スイッチ142は、それぞれ前記筐体11の外周面に設けられた押しボタン式スイッチを有しており、作業者が当該押しボタン式スイッチを押している間、電池13から供給された電力を下流に設けられた回転指令部143に向けて出力し続けるよう構成されている。前記回転指令部143は、前記電池13から供給された電圧をDCモータ12に適するものに変換する変換回路と、前記正転スイッチ141が押された場合、正転駆動するようDCモータ12と電池13とを接続する一方、前記逆転スイッチ142が押された場合、逆転駆動するようDCモータ12と電池13とを接続する制御回路(図示せず)を備えている。なお、本実施形態の制御回路は、正転スイッチ141および逆転スイッチ142いずれからも押されていない状態では、DCモータ12を停止させるよう構成されている。
(【0011】以降は省略されています)
この特許をJ-PlatPat(特許庁公式サイト)で参照する
関連特許
日東精工株式会社
ねじ整列トレー
26日前
日東精工株式会社
振動波形検査装置
1か月前
日東精工株式会社
医療用電動タッパー
26日前
日東精工株式会社
磁気式検査装置及びその良品判定方法
1か月前
日東精工株式会社
二次電池の端子および二次電池の端子の製造方法
3日前
個人
貼付剤
1か月前
個人
簡易担架
24日前
個人
足踏み器具
1か月前
個人
腋臭防止剤
24日前
個人
短下肢装具
4か月前
個人
嚥下鍛錬装置
5か月前
個人
前腕誘導装置
4か月前
個人
排尿補助器具
1か月前
個人
水分吸収性物品
3日前
個人
胸骨圧迫補助具
3か月前
個人
テスト肺
5日前
個人
アイマスク装置
3か月前
個人
歯の修復用材料
5か月前
個人
腰ベルト
1か月前
個人
バッグ式オムツ
5か月前
個人
汚れ防止シート
2か月前
個人
ウォート指圧法
1か月前
個人
美容セット
1か月前
個人
排尿排便補助器具
26日前
個人
介護移乗アシスト
3日前
個人
湿布連続貼り機。
3か月前
個人
陣痛緩和具
5か月前
個人
歯の保護用シール
6か月前
個人
哺乳瓶冷まし容器
4か月前
個人
エア誘導コルセット
3か月前
個人
治療用酸化防御装置
2か月前
個人
性行為補助具
4か月前
株式会社大野
骨壷
5か月前
株式会社八光
剥離吸引管
6か月前
株式会社コーセー
化粧料
1か月前
株式会社ニデック
検眼装置
5か月前
続きを見る
他の特許を見る