TOP
|
特許
|
意匠
|
商標
特許ウォッチ
Twitter
他の特許を見る
公開番号
2025140505
公報種別
公開特許公報(A)
公開日
2025-09-29
出願番号
2024039943
出願日
2024-03-14
発明の名称
地盤の液状化判定方法
出願人
日東精工株式会社
,
ジャパンホームシールド株式会社
,
個人
代理人
主分類
E02D
1/00 20060101AFI20250919BHJP(水工;基礎;土砂の移送)
要約
【課題】簡便・迅速に液状化の判定が可能となる地盤の液状化判定方法の提供。
【解決手段】本発明の液状化判定方法は、先端にスクリューポイントを備えた貫入ロッドを地中に貫入するのに要するエネルギーE
0.25SL
を説明変数とする累乗回帰分析により、N値と細粒分含有率Fcとをそれぞれ推定し、この推定N値および推定Fcを用いて建築H1-Dcy法等の液状化被害可能性判定の手法により液状化判定を行うものである。これにより、試料の採取や室内土質試験を要せずに液状化判定に必要なN値と細粒分含有率Fcの推定値を得て、これを用いて建築H1-Dcy法等による液状化判定を行うことが可能になる。しかも、累乗回帰分析により標準貫入試験の結果に基づいて得られるN値やFcとのフィッティングを強め、各推定値の信頼度を高めることができる。
【選択図】図5
特許請求の範囲
【請求項1】
先端にスクリューポイントを備えた貫入ロッドを地中に貫入するのに要するエネルギーを説明変数とする累乗回帰分析により、N値を推定し、この推定N値を液状化判定のための定数として使用することを特徴とする地盤の液状化判定方法。
続きを表示(約 1,300 文字)
【請求項2】
先端にスクリューポイントを備えた貫入ロッドを地中に貫入するのに要するエネルギーを説明変数とする累乗回帰分析により、細粒分含有率Fcを推定し、この推定Fcを液状化判定のための定数として使用することを特徴とする地盤の液状化判定方法。
【請求項3】
先端にスクリューポイントを備えた貫入ロッドを地中に貫入するのに要するエネルギーを説明変数とする累乗回帰分析により、N値と細粒分含有率Fcとをそれぞれ推定し、この推定N値および推定Fcを用いて液状化被害可能性判定を行うことを特徴とする地盤の液状化判定方法。
【請求項4】
貫入ロッドを地中に貫入するのに要するエネルギーとして、スクリューポイントを0.25m毎地中に貫入するのに要するエネルギーE
0.25SL
を説明変数とする次の累乗回帰式
N
SDS
=3.01×E
0.25SL
0.65
により、N値の推定値N
SDS
を求めることを特徴とする請求項1又は請求項3に記載の地盤の液状化判定方法。
【請求項5】
スクリューポイントを0.25m毎地中に貫入するのに要するエネルギーE
0.25SL
は、各0.25m貫入区間で取得される複数のエネルギーを各貫入区間毎に比例換算した値であることを特徴とする請求項4に記載の地盤の液状化判定方法。
【請求項6】
貫入ロッドを地中に回転貫入する時の貫入ロッドの回転エネルギーETと荷重による貫入エネルギーEWとの比を説明変数とする次の累乗回帰式
Fc
SDS
=86.13×(ET/EW)
-0.60
により、細粒分含有率Fcの推定値Fc
SDS
を求めることを特徴とする請求項2又は請求項3に記載の地盤の液状化判定方法。
【請求項7】
貫入ロッドを地中に貫入するのに要するエネルギーとして、スクリューポイントを0.25m毎地中に貫入するのに要するエネルギーE
0.25SL
を説明変数とする次の累乗回帰式
N
SDS
=3.01×E
0.25SL
0.65
により、N値の推定値N
SDS
を求め、
また、貫入ロッドを地中に回転貫入する時の貫入ロッドの回転エネルギーETと荷重による貫入エネルギーEWとの比を説明変数とする次の累乗回帰式
Fc
SDS
=86.13×(ET/EW)
-0.60
により、細粒分含有率Fcの推定値Fc
SDS
を求めることを特徴とする請求項3に記載の地盤の液状化判定方法。
【請求項8】
スクリューポイントを0.25m毎地中に貫入するのに要するエネルギーE
0.25SL
は、各0.25m貫入区間で取得される複数のエネルギーを各貫入区間毎に比例換算した値であることを特徴とする請求項7に記載の地盤の液状化判定方法。
発明の詳細な説明
【技術分野】
【0001】
本発明は、スクリュードライバーサウンディング試験により得られるデータを用いた地盤の液状化判定方法に関する。
続きを表示(約 2,400 文字)
【背景技術】
【0002】
地盤の液状化判定に用いられる地盤定数は、標準貫入試験により得られたものとすることが一般的である。しかし、戸建て住宅等の規模の小さな建物・敷地においては、調査時間や費用がかかることから、より簡易な方法により判定が可能となる調査技術・方法が求められている。2011年の東北地方太平沖地震の後、住宅購入者等に対して液状化に関する情報提供を行う仕組みが「住宅の品質確保の促進等に関する法律」に規定され、そこでは日本産業規格JISA1221のスクリューウェイト貫入試験(以下、SWS試験という)を用いた液状化判定方法が示されている。しかし、このSWS試験で液状化判定を行うためには、地中の複数の深度において試料を採取し、室内土質試験(粒度試験)を行う必要があるが、試料の採取方法や費用の面で課題が多く、実効性に乏しい状況となっている。
【0003】
一方、近年では、SWS試験を発展させたスクリュードライバーサウンディング試験(以下、SDS試験という)が登場し、その需要が広がっている。このSDS試験は、特許文献1ないし特許文献3に示すように、地中に貫入ロッドを回転貫入する過程で貫入量0.25m単位で貫入ロッドに負荷する荷重Wを最大7段階(250N、375N、500N、625N、750N、875N、1kN)に変化させ、各荷重下で貫入ロッド(正確には貫入ロッド先端に取り付けられたスクリューポイント)に作用する回転負荷トルクT、貫入ロッドの半回転数Δn
ht
、貫入量ΔS
t
等の試験データを取得するものである。特許文献1ないし3では、それぞれで段階的に負荷する荷重値の開示内容が異なっているが、現状では特許文献3に示された7段階の荷重変更が主流となっている。このように0.25m毎の変動荷重Wに対するトルクT、半回転数Δn
ht
および貫入量ΔS
t
を記録しながら、地下10~20mまで試験を行う。このSDS試験によれば、得られた試験データ(荷重W、トルクT、半回転数Δn
ht
、貫入量ΔS
t
)に基づくパラメータの分析・評価を行うことにより、貫入深度毎の土質の判別が可能となっている。
【0004】
また、特許文献3にはSDS試験データを用いて複数のパラメータを定義し、これらを説明変数とする重回帰分析を行うことにより、液状化判定の基礎データとなるN値と土の細粒分含有率Fcの各推定値を求めることが示されている。
【先行技術文献】
【特許文献】
【0005】
特許第4705520号公報
特許第5291329号公報
特許第6159090号公報
【発明の概要】
【発明が解決しようとする課題】
【0006】
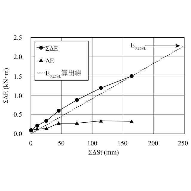
特許文献3に示された方法に基づく液状化判定方法においては、SDS試験で得られたデータからN値や細粒分含有率の推定値を求めることから、標準貫入試験やSWS試験による場合に比べ、試料の採取や室内土質試験を要せずに液状化判定を行うことができる利点がある。しかし、重回帰分析を行うための説明変数となるパラメータが複数存在するため、試験データによっては値の増減が大きくなり、推定値の信頼性を低下させる可能性が考えられた。特に試験データによっては0.25mの貫入に要するエネルギーE
0.25
の増減が大きくなる傾向も見られた。
【課題を解決するための手段】
【0007】
本発明は上記課題に鑑みて創成されたものであり、簡便・迅速に液状化の判定が可能となる地盤の液状化判定方法の提供を目的とする。
【0008】
上記目的を達成するために本発明は、先端にスクリューポイントを備えた貫入ロッドを地中に貫入するのに要するエネルギーを説明変数とする累乗回帰分析により、N値を推定し、この推定N値を液状化判定のための定数として使用することを特徴とする。これにより、試料の採取や室内土質試験を要せずに液状化判定に必要なN値の推定値を得ることができる。また、累乗回帰分析により、標準貫入試験によって得られるN値とのフィッティング(相関性)を強め、推定N値の信頼度を高めている。
【0009】
また、上記目的を達成するために本発明は、先端にスクリューポイントを備えた貫入ロッドを地中に貫入するのに要するエネルギーを説明変数とする累乗回帰分析により、細粒分含有率Fcを推定し、この推定Fcを液状化判定のための定数として使用することを特徴とする。これにより、試料の採取や室内土質試験を要せずに液状化判定に必要な細粒分含有率Fcの推定値を得ることができる。また、累乗回帰分析により、標準貫入試験の結果に基づいて得られるFcとのフィッティングを強め、推定Fcの信頼度を高めている。
【0010】
さらに、上記目的を達成するために本発明は、先端にスクリューポイントを備えた貫入ロッドを地中に貫入するのに要するエネルギーを説明変数とする累乗回帰分析により、N値と細粒分含有率Fcとをそれぞれ推定し、この推定N値および推定Fcを用いて建築H1-Dcy法により液状化判定を行うことを特徴とする。これにより、試料の採取や室内土質試験を要せずに液状化判定に必要なN値と細粒分含有率Fcの推定値を得て、これを用いて建築H1-Dcy法による液状化判定を行うことができる。しかも、累乗回帰分析により標準貫入試験の結果に基づいて得られるN値やFcとのフィッティングを強め、各推定値の信頼度を高めている。
(【0011】以降は省略されています)
この特許をJ-PlatPat(特許庁公式サイト)で参照する
関連特許
日東精工株式会社
ねじ整列トレー
17日前
日東精工株式会社
振動波形検査装置
25日前
日東精工株式会社
医療用電動タッパー
17日前
日東精工株式会社
磁気式検査装置及びその良品判定方法
1か月前
個人
バケット
1か月前
個人
建物の不同沈下の修正方法
1か月前
鹿島建設株式会社
接続方法
10日前
株式会社富田製作所
継手部構造
1か月前
千代田工営株式会社
回転貫入杭
1か月前
株式会社大林組
操縦装置
1か月前
株式会社郷土開発
傾斜地の切土工法
9日前
ウエダ産業株式会社
アタッチメント
1日前
日立建機株式会社
建設機械
23日前
株式会社クボタ
作業機
9日前
ヤンマーホールディングス株式会社
作業機械
1か月前
日立建機株式会社
作業機械
1か月前
ヤンマーホールディングス株式会社
作業機械
1か月前
日立建機株式会社
作業機械
22日前
FKS株式会社
擁壁及び擁壁の築造方法
1か月前
株式会社次世代一次産業実践所
登山道の施工装置
1か月前
株式会社三誠
建物の免震構造
1か月前
ナブテスコ株式会社
ドーザブレード駆動機構
22日前
個人
アンカーボルト支持装置
1か月前
日本車輌製造株式会社
杭打機の表示システム
25日前
日本車輌製造株式会社
杭打機の制御システム
1か月前
株式会社大林組
掘削支援装置及び掘削支援方法
3日前
株式会社大林組
評価支援装置及び評価支援方法
1か月前
株式会社大林組
施工支援装置及び施工支援方法
1か月前
株式会社大林組
施工支援装置及び施工支援方法
1か月前
株式会社大林組
施工支援装置及び施工支援方法
1か月前
日本車輌製造株式会社
建設機械の電源システム
1か月前
個人
保護カバー及び保護カバーの取付方法
25日前
株式会社大林組
免震構造及び免震構造の施工方法
25日前
ヤンマーホールディングス株式会社
作業機械
9日前
ヤンマーホールディングス株式会社
作業機械
9日前
大成建設株式会社
推定方法
1か月前
続きを見る
他の特許を見る