TOP
|
特許
|
意匠
|
商標
特許ウォッチ
Twitter
他の特許を見る
10個以上の画像は省略されています。
公開番号
2025160625
公報種別
公開特許公報(A)
公開日
2025-10-23
出願番号
2024063278
出願日
2024-04-10
発明の名称
建物の免震構造
出願人
株式会社三誠
代理人
個人
,
個人
,
個人
主分類
E02D
27/12 20060101AFI20251016BHJP(水工;基礎;土砂の移送)
要約
【課題】人工地盤を保護する。
【解決手段】杭本体11、及び杭本体11の上端に設けた杭頭プレート122を有し、杭本体主部11Mを地盤G内に埋設することにより、杭本体頭部11H、及び杭頭プレート122を地盤表面GLよりも上方に設けた鋼管杭1と、杭頭プレート122と基礎梁3との間に取り付けた免震装置2と、地盤表面GLから杭本体頭部11Hの外周面に沿って筒状に設けた杭頭コンクリート4と、地盤表面GLに設けられて杭頭コンクリート4の外周を包囲する人工地盤5と、を備え、杭頭コンクリート4は、免震装置2を通じて杭頭プレート122に荷重Fが加わると杭本体頭部11Hの屈曲を抑制し、人工地盤5は、杭頭コンクリート4の少なくとも下部を包囲し、且つ杭頭コンクリート4に対して縁が切られていることを特徴とする。
【選択図】図3
特許請求の範囲
【請求項1】
杭本体、及び前記杭本体の上端に設けた杭頭プレートを有し、杭本体主部を地盤内に埋設することにより、杭本体頭部、及び前記杭頭プレートを地盤表面よりも上方に設けた鋼管杭と、
前記杭頭プレートと建物基礎との間に取り付けた免震装置と、
前記地盤表面から前記杭本体頭部の外周面に沿って筒状に設けた杭頭コンクリートと、
前記地盤表面に設けられて前記杭頭コンクリートの外周を包囲する人工地盤と、
を備え、
前記杭頭コンクリートは、前記免震装置を通じて前記杭頭プレートに荷重が加わると前記杭本体頭部の屈曲を抑制し、
前記人工地盤は、前記杭頭コンクリートの少なくとも下部を包囲し、且つ前記杭頭コンクリートに対して縁が切られていることを特徴とする建物の免震構造。
続きを表示(約 480 文字)
【請求項2】
前記杭頭コンクリートは、前記地盤表面から前記杭本体頭部の外周面に沿って前記杭頭プレートの上面の高さ位置まで設けられていることを特徴とする請求項1に記載の建物の免震構造。
【請求項3】
前記杭頭コンクリートと前記人工地盤との間に樹脂製中空部材を介在させたことを特徴とする請求項1に記載の建物の免震構造。
【請求項4】
前記樹脂製中空部材の内周面と前記杭頭コンクリートの外周面との間にフッ素樹脂シートを介在させたことを特徴とする請求項3に記載の建物の免震構造。
【請求項5】
前記杭頭プレートは、前記杭頭コンクリートの打設時に流動状態のコンクリートを視認するための視認穴を備え、
前記視認穴は、前記杭頭プレートの厚さ方向を貫通していることを特徴とする請求項1に記載の建物の免震構造。
【請求項6】
前記建物基礎と前記人工地盤との間に、前記建物基礎と前記人工地盤とが相対移動する際のエネルギーを吸収するダンパーを設けたことを特徴とする請求項1に記載の建物の免震構造。
発明の詳細な説明
【技術分野】
【0001】
本発明は、建物の免震構造に関する。
続きを表示(約 2,600 文字)
【背景技術】
【0002】
鋼管杭と建物基礎との間に免震装置を備えた免震構造が知られている。例えば特許文献1には、鋼管杭とフラットスラブ基礎との間に免震装置を設けた免震構造が記載されている。免震装置は、地震発生時に建物の水平方向に沿った移動を抑制し、建物が受ける外力を低減するための装置である。
特許文献1の免震構造において鋼管杭は、杭本体の主要部分を地盤に埋設することにより、杭本体頭部、及び杭頭プレートを地盤表面よりも上方に設けている。そして、免震装置の下側部分を杭頭プレートに取り付け、免震装置の上側部分をフラットスラブ基礎に取り付けている。さらに、杭本体頭部は、地盤表面に設けた人工地盤(例えば土間コンクリート)によって固定されている。
【0003】
特許文献1の免震装置では、免震装置の下側部分と上側部分とが水平方向の所定範囲内において移動自在に構成されている。地震によって地盤が水平方向に移動すると、免震装置の下側部分は鋼管杭とともに移動するものの、建物からの荷重を受けている免震装置の上側部分は慣性力によって免震装置の下側部分よりも移動量が小さくなる。
このため、地震発生時には、免震装置の下側部分と上側部分の位置が水平方向にずれることとなり、ずれの大きさは地盤の水平方向への移動量に比例して大きくなる。
【先行技術文献】
【特許文献】
【0004】
特許第3756158号公報
【発明の概要】
【発明が解決しようとする課題】
【0005】
特許文献1の免震装置において下側部分と上側部分の位置がずれると、鋼管杭の杭本体頭部を屈曲させる方向に荷重が加わる。屈曲方向の荷重は、建物等が重い程、及び下側部分と上側部分との間の位置ずれが大きい程に大きくなる。そして、荷重が過度に大きくなると、杭本体頭部が屈曲したり、人工地盤が杭本体頭部によって破損されてしまう恐れがある。
本発明は、このような事情に鑑みてなされたものであり、その目的は、人工地盤を保護することにある。
【課題を解決するための手段】
【0006】
上記課題を解決するために、本発明に係る建物の免震構造は、杭本体、及び前記杭本体の上端に設けた杭頭プレートを有し、杭本体主部を地盤内に埋設することにより、杭本体頭部、及び前記杭頭プレートを地盤表面よりも上方に設けた鋼管杭と、前記杭頭プレートと建物基礎との間に取り付けた免震装置と、前記地盤表面から前記杭本体頭部の外周面に沿って筒状に設けた杭頭コンクリートと、前記地盤表面に設けられて前記杭頭コンクリートの外周を包囲する人工地盤と、を備え、前記杭頭コンクリートは、前記免震装置を通じて前記杭頭プレートに荷重が加わると前記杭本体頭部の屈曲を抑制し、前記人工地盤は、前記杭頭コンクリートの少なくとも下部を包囲し、且つ前記杭頭コンクリートに対して縁が切られていることを特徴とする。
【発明の効果】
【0007】
本発明によれば、人工地盤を保護することができる。
【図面の簡単な説明】
【0008】
建物の免震構造を示す図である。
鋼管杭の杭頭部分、及び免震装置の部分拡大断面図である。
免震装置の動作状態を示す部分拡大断面図である。
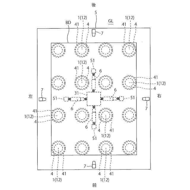
鋼管杭の位置、及びオイルダンパーの位置を示す図である。
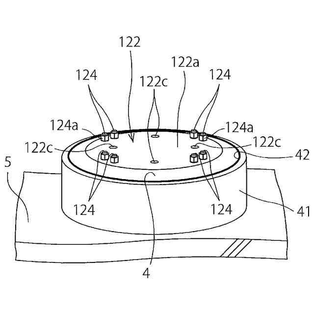
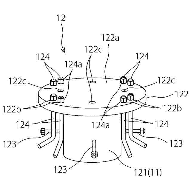
杭頭部材の斜視図である。
L型アンカーボルトを取り付けた杭頭部材の斜視図である。
杭頭コンクリート、及び杭頭プレートの平面図である。
杭頭コンクリート、及び杭頭プレートの斜視図である。
杭頭プレート、及び下部免震プレートの平面図である。
杭頭プレート、及び下部免震プレートの斜視図である。
オイルダンパーを説明する部分切り欠き断面図である。
杭本体主部を地盤内に貫入した状態を示す図である。
杭頭部材を取り付けた杭本体頭部を示す図である。
円筒パイプの設置状態を示す図である。
人工地盤の形成箇所に配筋した状態を示す図である。
コンクリートの打設作業を示す図である。
下部免震プレートを取り付けた状態を示す図である。
上部免震プレートの取り付け工程を示す図である。
免震構造の第1変形例を示す図である。
免震構造の第2変形例を示す図である。
免震構造の第3変形例を示す図である。
免震構造の第4変形例を示す図である。
(a)、及び(b)は杭頭部材の変形例を示す図である。
(a)は杭頭プレートを備えた上部杭の斜視図、(b)は杭頭プレートにボルト挿通穴、及びコンクリート視認穴を穿孔した上部杭の斜視図である。
【発明を実施するための形態】
【0009】
<建物の免震構造の概要>
最初に建物の免震構造の概要について説明する。但し、この実施形態に記載される構成要素、種類、組み合わせ、形状、その相対配置などは特定的な記載がない限り、この発明の範囲をそれのみに限定する主旨ではなく単なる説明例に過ぎない。例えば、複数の変形例に記載された構成を組み合わせて実施形態の構成に適用してもよい。
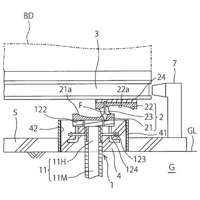
図1は建物BDの免震構造を示す図、図2は鋼管杭1の杭頭部分、及び免震装置2の部分拡大断面図、図3は免震装置2の動作状態を示す部分拡大断面図である。
【0010】
図1に示すように、鋼管杭1は、杭本体11(杭軸部)、及び杭本体11の上端に設けた杭頭プレート122を有しており、杭本体主部11Mを地盤G内に貫入(埋設)することにより、杭本体頭部11H、及び杭頭プレート122を地盤表面GLよりも上方に設けている。建物BDの下部には鉄骨構造の基礎梁3(建物基礎)が設けられており、基礎梁3と杭頭プレート122との間には免震装置2が取り付けられている。
図2に示すように、地盤表面GLから杭本体頭部11Hの外周面に沿って筒状の杭頭コンクリート4が設けられている。
(【0011】以降は省略されています)
この特許をJ-PlatPat(特許庁公式サイト)で参照する
関連特許
株式会社三誠
建物の免震構造
1か月前
個人
バケット
1か月前
個人
建物の不同沈下の修正方法
1か月前
鹿島建設株式会社
接続方法
18日前
株式会社富田製作所
継手部構造
1か月前
株式会社大林組
操縦装置
1か月前
株式会社郷土開発
傾斜地の切土工法
17日前
ウエダ産業株式会社
アタッチメント
9日前
エポコラム機工株式会社
地盤改良装置
2日前
日立建機株式会社
作業機械
1か月前
株式会社クボタ
作業機
17日前
日立建機株式会社
建設機械
1か月前
日本車輌製造株式会社
建設機械
2日前
日立建機株式会社
建設機械
4日前
FKS株式会社
擁壁及び擁壁の築造方法
1か月前
株式会社三誠
建物の免震構造
1か月前
日本車輌製造株式会社
杭打機の制御システム
1か月前
日本車輌製造株式会社
杭打機の表示システム
1か月前
ナブテスコ株式会社
ドーザブレード駆動機構
1か月前
日本車輌製造株式会社
建設機械の電源システム
1か月前
株式会社大林組
施工支援装置及び施工支援方法
1か月前
株式会社大林組
掘削支援装置及び掘削支援方法
11日前
株式会社大林組
施工支援装置及び施工支援方法
1か月前
株式会社大林組
評価支援装置及び評価支援方法
1か月前
株式会社大林組
施工支援装置及び施工支援方法
1か月前
個人
保護カバー及び保護カバーの取付方法
1か月前
株式会社大林組
免震構造及び免震構造の施工方法
1か月前
エポコラム機工株式会社
地盤改良装置及び地盤改良工法
2日前
エポコラム機工株式会社
地盤改良装置及び地盤改良工法
2日前
コベルコ建機株式会社
建設機械
4日前
コベルコ建機株式会社
建設機械
4日前
大成建設株式会社
推定方法
1か月前
ヤンマーホールディングス株式会社
作業機械
17日前
ヤンマーホールディングス株式会社
作業機械
17日前
ジャパンパイル株式会社
基礎構造の設計方法及び基礎構造
4日前
個人
真空バケット浚渫工法と真空バケット及び真空バケット浚渫船
1か月前
続きを見る
他の特許を見る