TOP
|
特許
|
意匠
|
商標
特許ウォッチ
Twitter
他の特許を見る
10個以上の画像は省略されています。
公開番号
2025177422
公報種別
公開特許公報(A)
公開日
2025-12-05
出願番号
2024084248
出願日
2024-05-23
発明の名称
建設機械
出願人
日本車輌製造株式会社
代理人
個人
,
個人
主分類
E02F
9/08 20060101AFI20251128BHJP(水工;基礎;土砂の移送)
要約
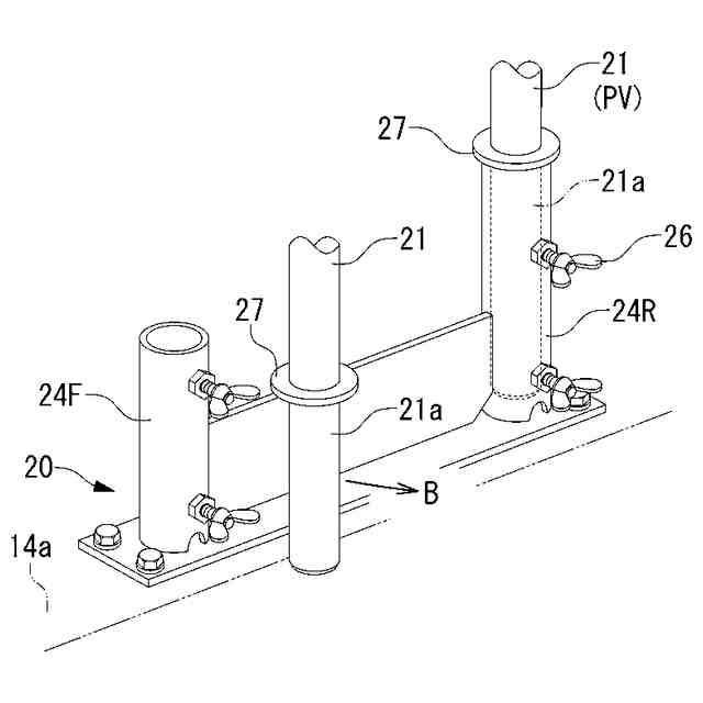
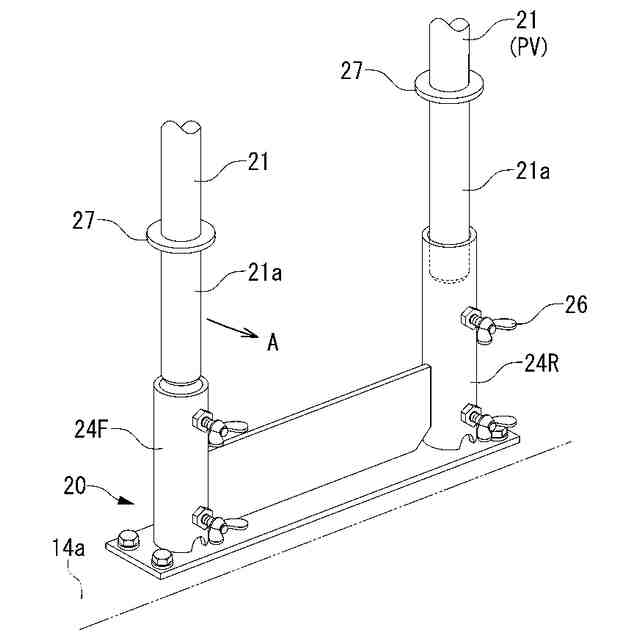
【課題】簡易な構成でハウスに対する着脱機能と回動機能とを両立できる梯子を備えた建設機械を提供する。
【解決手段】梯子は、梯子本体とこれをハウスの外側面に沿わせて保持するブラケット20とを備え、梯子本体は、前後一対の中空円筒状の縦桟21を有し、ブラケットは、ハウスの天板14aの外縁部に取り付けられたベース板23と、その上に立設された前後一対の中空円筒状の保持部24とを有し、縦桟は、上部が逆U字状に屈曲し、該屈曲してなる下向きの先端部21aが保持部と嵌合する挿入部とされ、前後一対の保持部と前後一対の先端部とは、前側と後側とで挿入量La,Lbが異なるように長さ方向の寸法差La-Lbが設けられ、前後一対の縦桟は、前後一対の保持部との嵌合状態から上動させると、一方側の嵌合状態が解除された時点で、他方側が嵌合状態を維持して回動軸となり、該回動軸を中心として、扉開口の投影と重ならない位置に回動可能である。
【選択図】図4
特許請求の範囲
【請求項1】
クローラを備えた下部走行体と、
該下部走行体の上部に旋回可能に設けられた上部旋回体と、
該上部旋回体の一側部に設けられたハウスと、
該ハウスの外側面に設けられた扉開口を開閉する外開き式の扉と、
前記扉開口の投影と重なりをもって前記ハウスに着脱可能に設けられた梯子と、を備えた建設機械において、
前記梯子は、
前記ハウスの天板に対して昇降経路となる梯子本体と、
該梯子本体を前記ハウスの外側面に沿わせて保持するブラケットと、を備え、
前記梯子本体は、
互いに平行に設けられた前後一対の中空円筒状の縦桟と、
該前後一対の縦桟同士を繋ぐ複数の横桟と、を有し、
前記ブラケットは、
前記天板の外縁部に取り付けられたベース板と、
該ベース板上に立設された前後一対の中空円筒状の保持部と、を有し、
前記縦桟は、前記天板の高さよりも上方に配置される部分が逆U字状に屈曲し、該屈曲してなる下向きの先端部が前記保持部と嵌合する挿入部又は被挿入部として形成され、
前記前後一対の保持部と前記前後一対の先端部とは、前側と後側とで挿入量が異なるように長さ方向の寸法差が設けられ、
前記前後一対の縦桟は、前記前後一対の保持部との嵌合状態から上動させると、一方側の嵌合状態が解除された時点で、他方側が嵌合状態を維持して回動軸となり、該回動軸を中心として、前記扉開口の投影と重ならない位置に回動可能に構成されていることを特徴とする建設機械。
続きを表示(約 67 文字)
【請求項2】
前記保持部は、前記中空円筒状に代えて中実円柱状に形成されていることを特徴とする請求項1記載の建設機械。
発明の詳細な説明
【技術分野】
【0001】
本発明は、建設機械に関し、詳しくは、エンジンパワーユニットを収容するハウスの外側面に梯子を備えた建設機械に関する。
続きを表示(約 1,800 文字)
【背景技術】
【0002】
一般に、杭打機やクローラクレーンなどの建設機械は、動力源となるエンジンパワーユニットやその関連部品などを収容したハウスを備えている(例えば、特許文献1参照)。
【0003】
図13に示すように、ハウス100は、前後方向(図13の左右方向)に延びて略矩形箱状に形成され、天板100aにはエンジン付属の機器などを収容するカバー体101が設けられ、外側面には扉開口を開閉する外開き式の扉102~106及び昇降用の梯子107が設けられている。梯子107は、開扉を妨げないように、扉102,103同士の間に設けられた壁面部100bに配置されている。これにより、建設機械の保守や組立作業に従事する者は、扉102を開いて燃料補給を行ったり、ハウス100の天板100aに上がって、手摺108の内側で作業を行ったりすることができる。
【0004】
ハウス100は、通常、扉102~106のある外側面の位置が車幅(輸送幅)に対応している。したがって、梯子107の本体は、建設機械の輸送時に一旦取り外され、輸送先の現場で再度取り付けられる。このような着脱式の梯子107は、図14及び図15に示すように、ハウス100の天板100aに対して昇降経路となる梯子本体109と、該梯子本体109をハウス100の壁面部100bに沿わせて保持するブラケット110とを備えている。
【0005】
梯子本体109は、主に丸パイプ材で形成され、互いに平行に設けられた前後一対の縦桟111,111と、該前後一対の縦桟111,111同士を繋ぐ複数の横桟112とを有している。縦桟111は、ハウス100の天板100aの高さよりも上方に配置される部分が逆U字状に屈曲し、該屈曲してなる下向きの先端部(パイプ下端部)111aの外周には円環板状の鍔部113が設けられている。また、最下段の横桟112に対応する位置には、前後一対の当たりゴム114a,114aを有するストッパ部材114が設けられている。
【0006】
ブラケット110は、ハウス100の天板100aの外縁部にボルト止めされたベース板115と、該ベース板115上に立設された前後一対の中空円筒状の保持部116,116と、ベース板115上に設けられて保持部116,116同士の間を繋ぐ補強板117とを有している。前後一対の保持部116,116は、互いに同一長さであり、これにより、前後一対の縦桟111,111の先端部111a,111aが同時に挿抜可能である。また、保持部116の外周には、上下一対のボルト孔に対応する溶接ナット及び押しボルト(蝶ボルト)118,118が設けられている。
【0007】
このように構成された梯子107は、梯子本体109をブラケット110に取り付ける場合、縦桟111,111の先端部111a,111aを保持部116,116に挿入して、鍔部113,113を保持部116,116の上端開口部に載置する。こうして、前後一対の縦桟111,111の先端部(挿入部)111a,111aと前後一対の保持部(被挿入部)116,116とが互いに嵌合した状態で、押しボルト118を締めて梯子本体109のガタ付き防止が図られる(図14)。
【0008】
これにより、梯子107は、梯子本体109の取付け状態で、強度や剛性が十分に確保され、昇降時に負荷が作用しても、ブラケット110及びストッパ部材114が機能して、ハウス100の天板100aや壁面部100bに悪影響を及ぼすことがない。
【0009】
一方、梯子本体109をブラケット110から取り外す場合は、押しボルト118を緩めた状態で、縦桟111,111を持ち上げて上動させ、その先端部111a,111aを保持部116,116から抜き取るだけの動作で済む(図15)。
【0010】
ところで、近年、エンジンパワーユニットに関する機器の増加や大型化に起因して、ハウスに設置される梯子は、配置上の制約を一層受けやすくなっている。上述のような構造の梯子を扉と対面配置せざるを得ない場合は、梯子が扉の開閉を邪魔することから、開扉の都度、梯子を取り外す手間が生じる。この問題については、先行文献(特許文献2参照)において、背景技術として取り上げられている。
【先行技術文献】
【特許文献】
(【0011】以降は省略されています)
この特許をJ-PlatPat(特許庁公式サイト)で参照する
関連特許
日本車輌製造株式会社
建設機械
今日
日本車輌製造株式会社
鉄道車両
今日
日本車輌製造株式会社
鉄道車両用台車
今日
日本車輌製造株式会社
鉄道車両用台車
今日
日本車輌製造株式会社
杭打機の表示システム
1か月前
日本車輌製造株式会社
カバーのアクセスホールへの取付構造
15日前
日本車輌製造株式会社
支持ユニット、分岐装置および分岐装置の施工方法
7日前
日本車輌製造株式会社
鉄道車両用車輪偏摩耗検知システム、および、鉄道車両用車輪偏摩耗検知方法
16日前
個人
バケット
1か月前
鹿島建設株式会社
接続方法
16日前
株式会社富田製作所
継手部構造
1か月前
株式会社大林組
操縦装置
1か月前
株式会社郷土開発
傾斜地の切土工法
15日前
ウエダ産業株式会社
アタッチメント
7日前
日立建機株式会社
建設機械
29日前
日本車輌製造株式会社
建設機械
今日
日立建機株式会社
作業機械
28日前
エポコラム機工株式会社
地盤改良装置
今日
株式会社クボタ
作業機
15日前
日立建機株式会社
建設機械
2日前
FKS株式会社
擁壁及び擁壁の築造方法
1か月前
ナブテスコ株式会社
ドーザブレード駆動機構
28日前
日本車輌製造株式会社
杭打機の表示システム
1か月前
株式会社大林組
施工支援装置及び施工支援方法
1か月前
株式会社大林組
評価支援装置及び評価支援方法
1か月前
株式会社大林組
掘削支援装置及び掘削支援方法
9日前
株式会社大林組
施工支援装置及び施工支援方法
1か月前
株式会社大林組
施工支援装置及び施工支援方法
1か月前
エポコラム機工株式会社
地盤改良装置及び地盤改良工法
今日
エポコラム機工株式会社
地盤改良装置及び地盤改良工法
今日
個人
保護カバー及び保護カバーの取付方法
1か月前
株式会社大林組
免震構造及び免震構造の施工方法
1か月前
ジャパンパイル株式会社
基礎構造の設計方法及び基礎構造
2日前
コベルコ建機株式会社
建設機械
2日前
ヤンマーホールディングス株式会社
作業機械
15日前
ヤンマーホールディングス株式会社
作業機械
15日前
続きを見る
他の特許を見る