TOP
|
特許
|
意匠
|
商標
特許ウォッチ
Twitter
他の特許を見る
公開番号
2025176844
公報種別
公開特許公報(A)
公開日
2025-12-05
出願番号
2024083195
出願日
2024-05-22
発明の名称
鉄道車両
出願人
日本車輌製造株式会社
代理人
弁理士法人コスモス国際特許商標事務所
主分類
B61D
17/00 20060101AFI20251128BHJP(鉄道)
要約
【課題】仕切パネル、および天井パネルの双方の取り外しが容易である鉄道車両を提供すること。
【解決手段】通路30の隅部に、仕切パネルの端部、および天井パネルの端部が配置され、天井骨40は、平板状の垂直片40aと、垂直片40aの上端部から略直角に屈曲してなる平板状の水平片40bと、を有する。垂直片40aは、通路30に対する仕切パネル31の背面側に配置され、水平片40bは、通路30に対する天井パネル32の背面側に配置される。仕切パネル31は、直接的に、または当該仕切パネル31に接合された仕切接合部材51を介して、ボルト53、およびフローティングナット54によって垂直片40aに着脱可能に固定され、天井パネル32は、直接的に、または当該天井パネル32に接合された天井接合部材61を介して、ボルト63、およびフローティングナット64によって水平片40bに着脱可能に固定されている。
【選択図】図4
特許請求の範囲
【請求項1】
出入台の通路を区画する仕切パネル、および天井パネルと、屋根構体に支持される天井骨と、を備える鉄道車両であって、
前記通路の上側隅部に、前記仕切パネルの端部、および前記天井パネルの端部が配置され、
前記天井骨は、車体高さ方向に平行な平板状の垂直片と、前記垂直片の上端部から略直角に屈曲してなる平板状の水平片と、を有し、
前記垂直片は、前記通路に対する前記仕切パネルの背面側に配置され、
前記水平片は、前記通路に対する前記天井パネルの背面側に配置され、
前記仕切パネルは、直接的に、または当該仕切パネルに接合された仕切接合部材を介して、仕切パネル固定具によって前記垂直片に着脱可能に固定され、
前記天井パネルは、直接的に、または当該天井パネルに接合された天井接合部材を介して、天井パネル固定具によって前記水平片に着脱可能に固定されていることを特徴とする鉄道車両。
続きを表示(約 140 文字)
【請求項2】
請求項1に記載の鉄道車両であって、
前記通路の上側隅部において、前記仕切パネルの端部と前記天井パネルの端部との間に隙間が形成され、
前記隙間に、当該隙間の前記通路と反対側を遮蔽するための遮蔽部材が配置されていることを特徴とする鉄道車両。
発明の詳細な説明
【技術分野】
【0001】
本発明は、出入台の通路に対向する仕切パネル、および天井パネルを備える鉄道車両に関する。
続きを表示(約 2,000 文字)
【背景技術】
【0002】
一般的に、鉄道車両の出入台(デッキ)において、多目的室、機械室、トイレ、および洗面台などの車内設備に用いられる空間が仕切パネルによって通路から隔てられた態様で区画されていた。特許文献1に記載の鉄道車両においては、車体に対して行う現車作業と切り離してアウトワーク化された個室構造体が車両に組み付けられることによって、車内設備に用いられる空間が区画されている。
【0003】
ところで、出願人は、従来、車内設備に用いられる空間を区画させるために、床面に仕切パネルを設置していた。そして、仕切パネルの設置方法として、先に天井パネルを天井側に固定してから、仕切パネルを天井パネルに固定する方法(従来設置方法1)と、先に仕切パネルを天井側に固定してから、天井パネルを仕切パネルに固定する方法(従来設置方法2)と、があった。
【0004】
図7(A)は従来設置方法1に係る仕切パネル、および天井パネルの固定構造を表す部分断面概略図であり、図7(B)は従来設置方法2に係る仕切パネル、および天井パネルの固定構造を表す部分断面概略図である。
【0005】
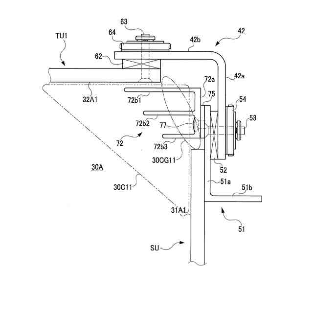
従来設置方法1によると、図7(A)に示すように、天井パネル32は、車体幅方向の外側端部でボルト80によって、屋根構体に支持されている天井骨40にスペーサー81を介して固定されている。また、天井パネル32とボルト80の頭部との間には、断面L字形状の連結部材82が一方の直線部分で締結されている。連結部材82の一方の直線部分の車体幅方向の内側端部から他方の直線部分が車体高さ方向下側に向けて屈曲している。また、仕切パネル31は、上端部の車体幅方向の車外側の背面で受部材84に接合されている。そして、連結部材82の他方の直線部分には、ライナープレート85を介して受部材84がボルト86によって締結されている。その結果、仕切パネル31は、天井パネル32の車体幅方向の車外側先端よりも車内側に入り込んだ位置に配置され、天井パネル32から下方に所定距離をおいて設置されている。すなわち、天井パネル32と仕切パネル31の上端との間には隙間S8が形成されている。しかしながら、ボルト80と隙間S8との間は、連結部材82および受部材84によって遮断されている。したがって、仮に天井パネル32を取り外したい場合は、まずは隙間S8からボルト86を抜くことで仕切パネル31を取り外し、それからボルト80を抜いて天井パネル32を取り外す必要がある。
【0006】
従来設置方法2によると、図7(B)に示すように、仕切パネル31は、上端部の車体幅方向の車外側でボルト90によって、屋根構体に支持されている天井骨40にスペーサー91を介して固定されている。また、仕切パネル31とボルト90の頭部との間には、断面L字形状の連結部材92が一方の直線部分で締結されている。連結部材92の一方の直線部分の下側端部から他方の直線部分が車体幅方向の車内側に屈曲している。一方、天井パネル32は、車体幅方向の車外側端部でビス93によって断面Z字形状の受部材94の相互に平行な直線部分の一方に締結されている。そして、受部材94の相互に平行な直線部分の他方は、ライナープレート95を介して連結部材92の他方の直線部分にボルト96によって締結されている。その結果、天井パネル32は、仕切パネル31の上端よりも下方に配置され、仕切パネル31から車体幅方向の車内側に所定距離をおいて設置されている。すなわち、仕切パネル31と天井パネル32の車体幅方向の車内側先端との間には隙間S9が形成されている。しかしながら、ボルト90と隙間S9との間は、連結部材92および受部材94によって遮断されている。したがって、仮に仕切パネル31を取り外したい場合は、まずは隙間S9からボルト96を抜くことで天井パネル32を取り外し、それからボルト90を抜いて仕切パネル31を取り外す必要がある。
【先行技術文献】
【特許文献】
【0007】
特開2004-338649号公報
【発明の概要】
【発明が解決しようとする課題】
【0008】
上述のように、従来設置方法1によると、天井パネル32を取り外したい場合には、先に仕切パネル31を取り外す必要がある。一方、従来設置方法2によると、仕切パネル31を取り外したい場合には、先に天井パネル32を取り外す必要がある。
【0009】
本発明は、かかる問題を解決するためになされたものであり、仕切パネル、および天井パネルの双方の取り外しが容易である鉄道車両を提供することを目的とする。
【課題を解決するための手段】
【0010】
前記目的を達成するために、本発明の一態様による鉄道車両は、以下のような特徴を有する。
(【0011】以降は省略されています)
この特許をJ-PlatPat(特許庁公式サイト)で参照する
関連特許
日本車輌製造株式会社
建設機械
1日前
日本車輌製造株式会社
鉄道車両
1日前
日本車輌製造株式会社
鉄道車両用台車
1日前
日本車輌製造株式会社
鉄道車両用台車
1日前
日本車輌製造株式会社
カバーのアクセスホールへの取付構造
16日前
日本車輌製造株式会社
支持ユニット、分岐装置および分岐装置の施工方法
8日前
日本信号株式会社
検査装置
1か月前
個人
車両及び走行システム
7か月前
日本信号株式会社
ホーム柵
3か月前
日本信号株式会社
検査装置
11か月前
日本信号株式会社
ホーム柵
3か月前
近畿車輌株式会社
耐火床構造
2か月前
日本車輌製造株式会社
鉄道車両
2か月前
日本信号株式会社
ホーム柵装置
8か月前
川崎車両株式会社
鉄道車両用パネル
9か月前
近畿車輌株式会社
鉄道車両の床構造
12か月前
日本車輌製造株式会社
台車組立装置
6か月前
近畿車輌株式会社
鉄道車両の床構造
12か月前
カヤバ株式会社
鉄道車両用制振装置
11か月前
近畿車輌株式会社
鉄道車両の床構造
12か月前
ナブテスコ株式会社
ホームドア装置
4か月前
日本信号株式会社
列車接近警報装置
4か月前
保線機器整備株式会社
保線用カート
10か月前
日本信号株式会社
ホームドア制御装置
4か月前
日本信号株式会社
ホーム安全システム
8か月前
株式会社ダイフク
搬送車
6か月前
株式会社東芝
台車搬送装置
2か月前
日本信号株式会社
物体検知装置
8か月前
日本ケーブル株式会社
索道の支索引留め装置
4か月前
富士電機株式会社
制御装置、制御方法
1日前
株式会社日立製作所
鉄道車両
2か月前
ヤマハ発動機株式会社
無人搬送車
8か月前
日本信号株式会社
列車接近警報システム
1か月前
日本信号株式会社
障害物検知装置
10日前
ヤマハ発動機株式会社
無人搬送車
8か月前
日本信号株式会社
障害物検知装置
10日前
続きを見る
他の特許を見る