TOP
|
特許
|
意匠
|
商標
特許ウォッチ
Twitter
他の特許を見る
公開番号
2025053955
公報種別
公開特許公報(A)
公開日
2025-04-07
出願番号
2023163097
出願日
2023-09-26
発明の名称
物体検知装置
出願人
日本信号株式会社
代理人
個人
,
個人
主分類
B61L
29/00 20060101AFI20250331BHJP(鉄道)
要約
【課題】暗色や黒色の自動車などのレーザ光の反射率が低い物体(低反射率物体)の検知漏れを防止することが可能な物体検知装置を提供する。
【解決手段】物体検知装置1は、レーザ光を監視領域10に走査して反射光を受光する第1測距センサ3及び第2測距センサ5を含み、監視領域10に設定された第1の出入口領域15又は第2の出入口領域17における前記反射光の受光状態から監視領域10への低反射率物体の進入を検知し、第2の出入口領域17又は第1の出入口領域15における前記反射光の受光状態から低反射率物体の監視領域10からの進出を検知するように構成されている。
【選択図】図1
特許請求の範囲
【請求項1】
レーザ光を監視領域に走査して反射光を受光する測距センサを含み、前記監視領域に設定された入口領域における前記反射光の受光状態から前記監視領域への物体の進入を検知し、前記監視領域に設定された出口領域における前記反射光の受光状態から前記物体の前記監視領域からの進出を検知する物体検知装置。
続きを表示(約 910 文字)
【請求項2】
前記入口領域内の複数方向に出射されたレーザ光のそれぞれの反射光の受光強度に基づき前記監視領域への前記物体の進入を検知し、前記出口領域内の複数方向に出射されたレーザ光のそれぞれの反射光の受光強度に基づき前記物体の前記監視領域からの進出を検知する、請求項1に記載の物体検知装置。
【請求項3】
前記物体は、レーザ光の反射率が低い低反射率物体である、請求項1に記載の物体検知装置。
【請求項4】
前記低反射率物体が前記監視領域に進入して前記入口領域を通過するときのレーザ光の出射方向と反射光の受光強度との関係を示す進入時受光強度パターンと、前記低反射率物体が前記出口領域を通過して前記監視領域から進出するときのレーザ光の出射方向と反射光の受光強度との関係を示す進出時受光強度パターンと、を有し、
前記入口領域内の複数方向に出射されたレーザ光のそれぞれの反射光の受光強度が前記進入時受光強度パターンと同様の傾向を示す場合に前記監視領域への前記低反射率物体の進入を検知し、前記出口領域内の複数方向に出射されたレーザ光のそれぞれの反射光の受光強度が前記進出時受光強度パターンの同様の傾向を示す場合に前記低反射率物体の前記監視領域からの進出を検知する、
請求項3に記載の物体検知装置。
【請求項5】
前記物体の前記監視領域への進入を検知した後、前記物体の前記監視領域からの進出を検知しない場合は、前記監視領域に前記物体が存在しているとみなす、請求項1~4のいずれか一つに記載の物体検知装置。
【請求項6】
前記測距センサは、前記監視領域の入口側に設けられて前記入口領域を含む範囲にレーザ光を走査する入口側測距センサと、前記監視領域の出口側に設けられて前記出口領域を含む範囲にレーザ光を操作する出口側測距センサと、を含む、請求項1~4のいずれか一つに記載の物体検知装置。
【請求項7】
前記監視領域は踏切内の道路であり、前記物体を障害物として検知する、
請求項1~4のいずれか一つに記載の物体検知装置。
発明の詳細な説明
【技術分野】
【0001】
本発明は、監視領域内の物体の有無を検知する物体検知装置に関する。
続きを表示(約 1,500 文字)
【背景技術】
【0002】
物体検知装置の一例として特許文献1に記載された障害物検知装置が知られている。特許文献1に記載の障害物検知装置は、所定の角度範囲でスキャニングするレーザ光の反射光を受光することで踏切内の設定エリア内に障害物(すなわち、物体)があるか否かを検知するように構成されている。
【先行技術文献】
【特許文献】
【0003】
特開平11-227608号公報
【発明の概要】
【発明が解決しようとする課題】
【0004】
しかし、特許文献1に記載された障害物検知装置では、暗色や黒色の自動車などのレーザ光の反射率が低い物体が設置エリア内にある場合であってもその位置等によっては当該物体からの反射光がほとんど受光されないことが起こり得る。その結果、特許文献1に記載された障害物検知装置では、暗色や黒色の自動車などレーザ光の反射率が低い物体の検知漏れが発生するおそれがあった。
【0005】
そこで、本発明は、暗色や黒色の自動車などのレーザ光の反射率が低い物体の検知漏れを防止することが可能な物体検知装置を提供することを目的とする。
【課題を解決するための手段】
【0006】
本発明の一側面によると、物体検知装置が提供される。提供される物体検知装置は、レーザ光を監視領域に走査して反射光を受光する測距センサを含み、前記監視領域に設定された入口領域における前記反射光の受光状態から前記監視領域への物体の進入を検知し、前記監視領域に設定された出口領域における前記反射光の受光状態から前記物体の前記監視領域からの進出を検知するように構成されている。
【発明の効果】
【0007】
本発明によれば、レーザ光の反射率が低い暗色や黒色の物体の検知漏れを防止することが可能な物体検知装置を提供することができる。
【図面の簡単な説明】
【0008】
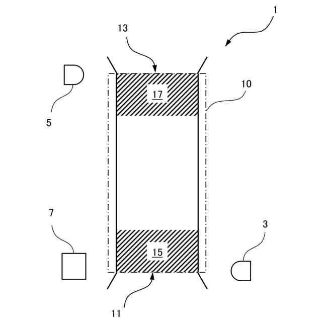
実施形態に係る物体検知装置の概略構成を示す平面図である。
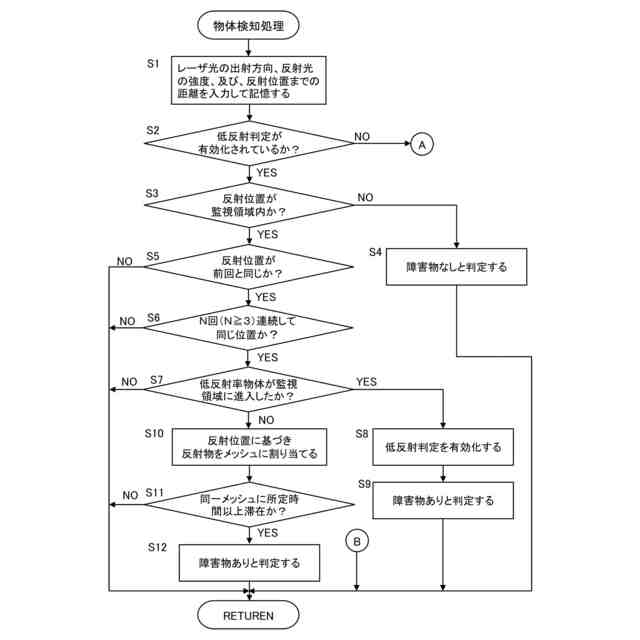
物体検知装置の処理装置による物体検知処理を示すフローチャートである。
物体検知装置の処理装置による物体検知処理を示すフローチャートである。
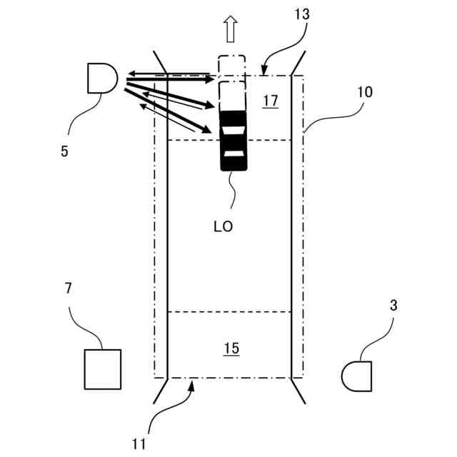
低反射率物体が監視領域に進入したか否かの判定処理を説明するための図である。
低反射率物体が監視領域に進入したか否かの判定処理を説明するための図である。
低反射率物体が監視領域から進出したか否かの判定処理を説明するための図である。
低反射率物体が監視領域から進出したか否かの判定処理を説明するための図である。
物体検知装置の変形例を示す平面図である。
【発明を実施するための形態】
【0009】
以下、添付図面を参照して本発明の実施形態を説明する。なお、以下の「第1」、「第2」、・・・などの用語は、単に類似の要素を区別するために用いられ、それらが付された要素を限定等するものではない。
【0010】
図1は、本発明の実施形態に係る物体検知装置1の概略構成を示す平面図である。実施形態に係る物体検知装置1は、踏切内の道路を監視領域10とし、監視領域10内の物体の有無を検知するように構成されている。さらに言えば、物体検知装置1は、監視領域10の物体を障害物として検知するように構成されている。物体検知装置1は、第1測距センサ3と、第2測距センサ5と、処理装置7と、を含む。また、監視領域10は、監視領域10内に出入りするための2つの出入口11、13を有する。
(【0011】以降は省略されています)
この特許をJ-PlatPat(特許庁公式サイト)で参照する
関連特許
日本信号株式会社
検査装置
19日前
日本信号株式会社
開閉システム
6日前
日本信号株式会社
制御システム
11日前
日本信号株式会社
距離画像センサ
11日前
日本信号株式会社
異常走行検出装置
1か月前
日本信号株式会社
可視光通信システム
1か月前
日本信号株式会社
検査装置及び検査方法
20日前
日本信号株式会社
列車接近警報システム
26日前
日本信号株式会社
運行管理システム及び方法
25日前
日本信号株式会社
地中レーダ装置及びその埋設物探査方法
20日前
日本信号株式会社
連動装置及び連動装置用の鎖錠解錠プログラム
6日前
日本信号株式会社
距離画像装置、距離画像の補正方法及び画像処理プログラム
19日前
日本信号株式会社
ホーム柵
2か月前
日本信号株式会社
検査装置
10か月前
個人
車両及び走行システム
6か月前
日本信号株式会社
ホーム柵
2か月前
日本信号株式会社
検査装置
19日前
近畿車輌株式会社
耐火床構造
1か月前
日本車輌製造株式会社
鉄道車両
1か月前
日本信号株式会社
ホーム柵装置
7か月前
ナブテスコ株式会社
ホームドア装置
3か月前
日本信号株式会社
列車接近警報装置
3か月前
保線機器整備株式会社
保線用カート
9か月前
川崎車両株式会社
鉄道車両用パネル
9か月前
カヤバ株式会社
鉄道車両用制振装置
11か月前
近畿車輌株式会社
鉄道車両の床構造
11か月前
近畿車輌株式会社
鉄道車両の床構造
11か月前
日本車輌製造株式会社
台車組立装置
5か月前
近畿車輌株式会社
鉄道車両の床構造
11か月前
株式会社ダイフク
搬送車
6か月前
日本信号株式会社
物体検知装置
7か月前
日本信号株式会社
踏切道監視システム
11か月前
株式会社東芝
台車搬送装置
1か月前
日本信号株式会社
ホーム安全システム
7か月前
日本信号株式会社
ホームドア制御装置
4か月前
日本ケーブル株式会社
索道の支索引留め装置
3か月前
続きを見る
他の特許を見る