TOP
|
特許
|
意匠
|
商標
特許ウォッチ
Twitter
他の特許を見る
公開番号
2025176918
公報種別
公開特許公報(A)
公開日
2025-12-05
出願番号
2024083329
出願日
2024-05-22
発明の名称
鉄道車両用台車
出願人
日本車輌製造株式会社
代理人
弁理士法人コスモス国際特許商標事務所
主分類
B61F
5/10 20060101AFI20251128BHJP(鉄道)
要約
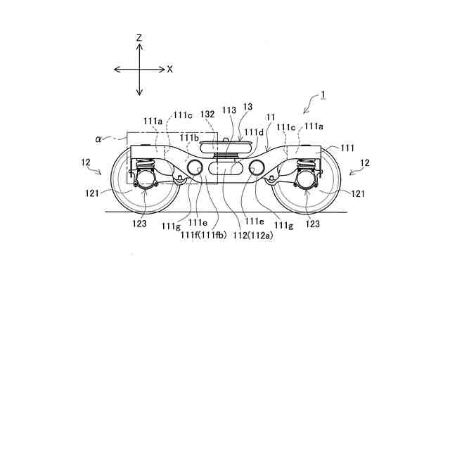
【課題】保守点検時などにおいて、側梁の補助空気室の容積を調整する容積調整部材の溶接部の検査や補修を実施できる鉄道車両用台車を提供すること。
【解決手段】本開示の一態様は、レール方向に沿って形成される側梁111と、側梁111と交差し、枕木方向に沿って形成される横梁112と、を有し、側梁111は、その内部に空気バネ13の空気室132と連通する補助空気室111bを備えている鉄道車両用台車1において、側梁111は、当該側梁111を貫通し、補助空気室111bの容積を調整するパイプ111eを備え、パイプ111eは、側梁111の側面部111fの外面111fbにて溶接されている。
【選択図】図3
特許請求の範囲
【請求項1】
レール方向に沿って形成される側梁と、
前記側梁と交差し、枕木方向に沿って形成される横梁と、を有し、
前記側梁は、その内部に空気バネの空気室と連通する補助空気室を備えている
鉄道車両用台車において、
前記側梁は、当該側梁を貫通し、前記補助空気室の容積を調整する容積調整部材を備え、
前記容積調整部材は、前記側梁の外面にて溶接されていること、
を特徴とする鉄道車両用台車。
続きを表示(約 380 文字)
【請求項2】
請求項1の鉄道車両用台車において、
前記容積調整部材の溶接部は、前記側梁の外面よりも外側に突出して形成されていること、
を特徴とする鉄道車両用台車。
【請求項3】
請求項1または2の鉄道車両用台車において、
前記容積調整部材は、前記側梁を前記枕木方向に貫通していること、
を特徴とする鉄道車両用台車。
【請求項4】
請求項1または2の鉄道車両用台車において、
前記容積調整部材は、円筒状に形成されていること、
を特徴とする鉄道車両用台車。
【請求項5】
請求項4の鉄道車両用台車において、
前記枕木方向から見たときに、前記容積調整部材の中心軸は、前記側梁の側面部の上下方向の中心線上に位置していること、
を特徴とする鉄道車両用台車。
発明の詳細な説明
【技術分野】
【0001】
本開示は、鉄道車両用台車枠の側梁の内部に、空気バネの空気室と連通する補助空気室を備えている鉄道車両用台車に関する。
続きを表示(約 1,200 文字)
【背景技術】
【0002】
特許文献1には、鉄道車両用台車枠の横梁の内部の補助空気室において、筒状部材の外径を調整することにより、補助空気室内にて筒状部材が占める容積の割合を調整して、補助空気室の容積を調整する鉄道車両用台車が開示されている。
【先行技術文献】
【特許文献】
【0003】
特開平3-50066号公報
【発明の概要】
【発明が解決しようとする課題】
【0004】
特許文献1において、筒状部材は蓋と溶接されていることが開示されているが、筒状部材と蓋がどのようにして溶接されているのかについては具体的に開示されていない。すると、仮に、筒状部材が蓋の内面にて溶接されている場合には、筒状部材の溶接部(すなわち、筒状部材が蓋に溶接される部分)は、鉄道車両用台車の外部から確認できない。そのため、鉄道車両用台車の保守点検時などにおいて、筒状部材、すなわち、補助空気室の容積を調整する容積調整部材の溶接部の検査や補修を実施できない。
【0005】
そこで、本開示は上記した課題を解決するためになされたものであり、保守点検時などにおいて、側梁の補助空気室の容積を調整する容積調整部材の溶接部の検査や補修を実施できる鉄道車両用台車を提供することを目的とする。
【課題を解決するための手段】
【0006】
上記目的を達成するため、本開示の鉄道車両は、以下の構成を備えている。
(1)レール方向に沿って形成される側梁と、前記側梁と交差し、枕木方向に沿って形成される横梁と、を有し、前記側梁は、その内部に空気バネの空気室と連通する補助空気室を備えている鉄道車両用台車において、前記側梁は、当該側梁を貫通し、前記補助空気室の容積を調整する容積調整部材を備え、前記容積調整部材は、前記側梁の外面にて溶接されていること、を特徴とする。
【0007】
本開示においては、容積調整部材が側梁を貫通して側梁の外面に溶接されているので、容積調整部材の溶接部(すなわち、容積調整部材が側梁に溶接されている部分)を外部から確認できる。そのため、鉄道車両用台車の保守点検時などにおいて、容積調整部材の溶接部の検査や補修を実施できる。したがって、鉄道車両用台車の安全性を確保できる。
【0008】
(2)(1)の鉄道車両用台車において、前記容積調整部材の溶接部は、前記側梁の外面よりも外側に突出して形成されていること、が好ましい。
【0009】
本開示においては、より確実に、容積調整部材の溶接部を外部から確認できる。そのため、容積調整部材の溶接部の検査や補修を実施し易くなる。
【0010】
(3)(1)または(2)の鉄道車両用台車において、前記容積調整部材は、前記側梁を前記枕木方向に貫通していること、が好ましい。
(【0011】以降は省略されています)
この特許をJ-PlatPat(特許庁公式サイト)で参照する
関連特許
日本信号株式会社
検査装置
1か月前
個人
車両及び走行システム
7か月前
日本信号株式会社
ホーム柵
3か月前
日本信号株式会社
検査装置
11か月前
日本信号株式会社
ホーム柵
3か月前
近畿車輌株式会社
耐火床構造
2か月前
日本車輌製造株式会社
鉄道車両
2か月前
日本信号株式会社
ホーム柵装置
8か月前
川崎車両株式会社
鉄道車両用パネル
9か月前
近畿車輌株式会社
鉄道車両の床構造
12か月前
日本車輌製造株式会社
台車組立装置
6か月前
近畿車輌株式会社
鉄道車両の床構造
12か月前
カヤバ株式会社
鉄道車両用制振装置
11か月前
近畿車輌株式会社
鉄道車両の床構造
12か月前
ナブテスコ株式会社
ホームドア装置
4か月前
日本信号株式会社
列車接近警報装置
4か月前
保線機器整備株式会社
保線用カート
10か月前
日本信号株式会社
ホームドア制御装置
4か月前
日本信号株式会社
ホーム安全システム
8か月前
株式会社ダイフク
搬送車
6か月前
株式会社東芝
台車搬送装置
2か月前
日本信号株式会社
物体検知装置
8か月前
日本ケーブル株式会社
索道の支索引留め装置
4か月前
富士電機株式会社
制御装置、制御方法
1日前
株式会社日立製作所
鉄道車両
2か月前
ヤマハ発動機株式会社
無人搬送車
8か月前
日本信号株式会社
列車接近警報システム
1か月前
日本信号株式会社
障害物検知装置
10日前
ヤマハ発動機株式会社
無人搬送車
8か月前
日本信号株式会社
障害物検知装置
10日前
ヤマハ発動機株式会社
無人搬送車
8か月前
株式会社ダイフク
搬送設備
7か月前
ヤマハ発動機株式会社
無人搬送車
6か月前
株式会社京三製作所
車上装置
8か月前
日本信号株式会社
自動列車運転装置
4か月前
日本製鉄株式会社
鉄道車両
9か月前
続きを見る
他の特許を見る