TOP
|
特許
|
意匠
|
商標
特許ウォッチ
Twitter
他の特許を見る
公開番号
2025172391
公報種別
公開特許公報(A)
公開日
2025-11-26
出願番号
2024077876
出願日
2024-05-13
発明の名称
障害物検知装置
出願人
日本信号株式会社
代理人
個人
,
個人
主分類
B61L
29/00 20060101AFI20251118BHJP(鉄道)
要約
【課題】障害物の有無を検知できない部分を監視領域内に生じさせる又はそのおそれのある物体を除去することを可能とする障害物検知装置を提供する。
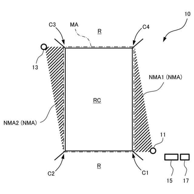
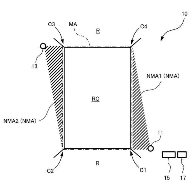
【解決手段】障害物検知装置10は、レーザ光を監視領域MAに走査して反射光を受光する第1レーザ測距センサ11及び第2レーザ測距センサ13を含み、前記レーザ光の反射位置が監視領域MA内にある場合に障害物検知信号を出力し、前記レーザ光の反射位置が非監視領域NMA(第1非監視領域NMA1、第2非監視領域NMA2)内にある場合に領域外物体検知信号を出力するように構成されている。
【選択図】図2
特許請求の範囲
【請求項1】
レーザ光を走査して反射光を受光する測距センサを含み、前記レーザ光の反射位置が監視領域内にある場合に障害物検知信号を出力し、前記レーザ光の反射位置が前記測距センサから見て前記監視領域の手前側の非監視領域内にある場合に領域外物体検知信号を出力する、障害物検知装置。
続きを表示(約 350 文字)
【請求項2】
前記非監視領域内における前記レーザ光の反射位置が変化しない場合に前記領域外物体検知信号を出力する、請求項1に記載の障害物検知装置。
【請求項3】
前記非監視領域は、前記測距センサのレーザ光の走査範囲内であり且つ前記測距センサと前記監視領域との間の領域である、請求項1又は2に記載の障害物検知装置。
【請求項4】
前記監視領域は、踏切道に対して設定されており、
踏切に設置された踏切保安装置が動作していないときに前記レーザ光の反射位置が前記非監視領域内にある否かを判定する、
請求項1又は2に記載の障害物検知装置。
【請求項5】
前記監視領域を挟んで一対の測距センサが配置されている、請求項1又は2に記載の障害物検知装置。
発明の詳細な説明
【技術分野】
【0001】
本発明は、監視領域における障害物の有無を検知する障害物検知装置に関する。
続きを表示(約 1,300 文字)
【背景技術】
【0002】
この種の障害物検知装置の一例として、特許文献1に記載された障害物検知装置が知られている。特許文献1に記載された障害物検知装置は、検出装置を含み、検出装置は、所定の角度範囲でスキャニングするレーザ光の反射光を受光することで、踏切内の設定エリア内、すなわち、監視領域内に人や車両等の障害物があるか否かを検知するように構成されている。
【先行技術文献】
【特許文献】
【0003】
特開平11-227608号公報
【発明の概要】
【発明が解決しようとする課題】
【0004】
しかし、特許文献1に記載された障害物検知装置は、設定エリア(監視領域)に向かうレーザ光を遮る物体が存在する場合、当該物体によって、障害物の有無を検知できない部分が踏切内の設定エリア(監視領域)内に生じるという課題がある。例えば踏切内においては設定エリア(監視領域)と検出装置との間に雑草が生えることがあり、そのような雑草が成長することで設定エリア(監視領域)に向かうレーザ光を遮る物体となり得る。
【0005】
そこで、本発明は、障害物の有無を検知できない部分を監視領域内に生じさせる又はそのおそれのある物体を除去することを可能とする障害物検知装置を提供することを目的とする。
【課題を解決するための手段】
【0006】
本発明の一側面によると、新規な障害物検知装置が提供される。提供される障害物検知装置は、レーザ光を走査して反射光を受光する測距センサを含み、前記レーザ光の反射位置が監視領域内にある場合に障害物検知信号を出力し、前記レーザ光の反射位置が前記測距センサから見て前記監視領域の手前側の非監視領域内にある場合に領域外物体検知信号を出力するように構成されている。
【発明の効果】
【0007】
本発明によれば、障害物の有無を検知できない部分を監視領域内に生じさせる又はそのおそれのある物体を除去することを可能とする障害物検知装置を提供することができる。
【図面の簡単な説明】
【0008】
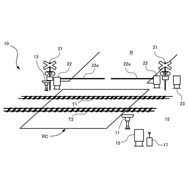
実施形態に係る障害物検知装置が設置された踏切道を示す図である。
障害物検知装置の概略平面図である。
障害物検知装置の制御系概略構成を示すブロック図である。
障害物検知装置が実行する処理の一例を示すフローチャートである。
障害物検知装置が実行する処理の一例を示すフローチャートである。
障害物検知装置が実行する処理の一例を示すフローチャートである。
【発明を実施するための形態】
【0009】
以下、添付図面を参照して本発明の実施形態を説明する。
【0010】
図1は、本発明の実施形態に係る障害物検知装置10が設置された踏切道RCを示す図であり、図2は、障害物検知装置10の概略平面図であり、図3は、障害物検知装置10等の制御系構成を示すブロック図である。
(【0011】以降は省略されています)
この特許をJ-PlatPat(特許庁公式サイト)で参照する
関連特許
日本信号株式会社
検査装置
28日前
日本信号株式会社
制御システム
20日前
日本信号株式会社
開閉システム
15日前
日本信号株式会社
障害物検知装置
1日前
日本信号株式会社
障害物検知装置
1日前
日本信号株式会社
距離画像センサ
20日前
日本信号株式会社
異常走行検出装置
2か月前
日本信号株式会社
可視光通信システム
1か月前
日本信号株式会社
検査装置及び検査方法
29日前
日本信号株式会社
列車接近警報システム
1か月前
日本信号株式会社
運行管理システム及び方法
1か月前
日本信号株式会社
地上子及び地上子の製造方法
7日前
日本信号株式会社
地中レーダ装置及びその埋設物探査方法
29日前
日本信号株式会社
連動装置及び連動装置用の鎖錠解錠プログラム
15日前
日本信号株式会社
距離画像装置、距離画像の補正方法及び画像処理プログラム
28日前
日本信号株式会社
検査装置
11か月前
日本信号株式会社
検査装置
28日前
個人
車両及び走行システム
7か月前
日本信号株式会社
ホーム柵
3か月前
日本信号株式会社
ホーム柵
2か月前
近畿車輌株式会社
耐火床構造
1か月前
日本信号株式会社
ホーム柵装置
7か月前
日本車輌製造株式会社
鉄道車両
1か月前
近畿車輌株式会社
鉄道車両の床構造
11か月前
カヤバ株式会社
鉄道車両用制振装置
11か月前
川崎車両株式会社
鉄道車両用パネル
9か月前
日本車輌製造株式会社
台車組立装置
5か月前
近畿車輌株式会社
鉄道車両の床構造
11か月前
ナブテスコ株式会社
ホームドア装置
3か月前
日本信号株式会社
列車接近警報装置
3か月前
保線機器整備株式会社
保線用カート
9か月前
近畿車輌株式会社
鉄道車両の床構造
11か月前
日本信号株式会社
物体検知装置
7か月前
日本ケーブル株式会社
索道の支索引留め装置
3か月前
株式会社東芝
台車搬送装置
1か月前
株式会社ダイフク
搬送車
6か月前
続きを見る
他の特許を見る