TOP
|
特許
|
意匠
|
商標
特許ウォッチ
Twitter
他の特許を見る
公開番号
2025167655
公報種別
公開特許公報(A)
公開日
2025-11-07
出願番号
2024072489
出願日
2024-04-26
発明の名称
制御システム
出願人
日本信号株式会社
代理人
弁理士法人朝日特許事務所
主分類
G01S
5/02 20100101AFI20251030BHJP(測定;試験)
要約
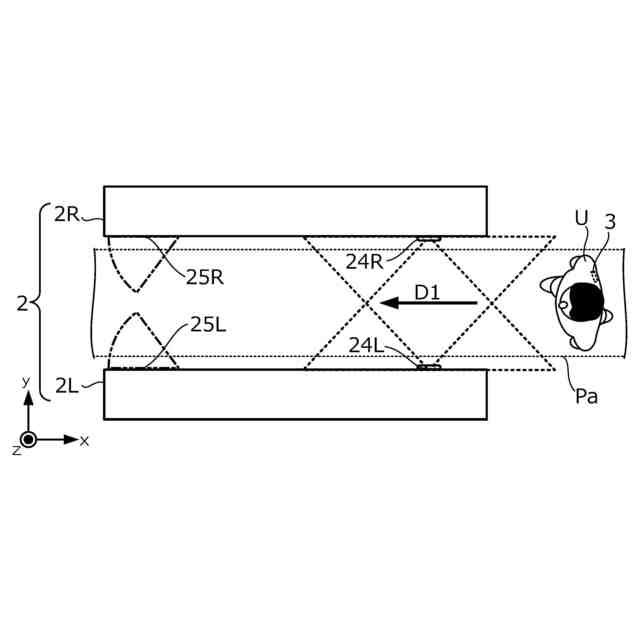
【課題】端末が通路を通行することについての可否を判定する際の堅牢性を向上させた制御システムを提供する。
【解決手段】取得部110は、インタフェース13を経由して無線機24が受信した信号の情報を取得する。第1領域監視部111は、無線機24の両方が受信した信号の角度がそれぞれ第1条件を満たすか否かを判定する。第2領域監視部112は、無線機24の一方が受信した信号の角度と強度とが第2条件を満たし、かつ、他方が受信した信号の強度が第3条件を満たすか否かを判定する。特定部113は、第1領域監視部111及び第2領域監視部112から監視結果を取得し、携帯端末3が監視領域に存在すると認識された場合に、その携帯端末3が一つであるか否かを確認する。通行可否判定部114は、携帯端末3の認証情報をサーバ装置4に送信して問い合わせ、その結果に基づいて、携帯端末3による通路の通行の可否を判定する。
【選択図】図7
特許請求の範囲
【請求項1】
通路を挟んで配置され端末から信号をそれぞれ受信する2つの無線機と、
前記無線機の両方がそれぞれ受信した信号の角度が第1条件を満たすとき、又は、前記無線機の一方が受信した信号の角度と強度とが第2条件を満たし、他方が受信した信号の強度が第3条件を満たすときに、前記信号を発信した端末が一つであれば該端末の前記通路の通行の可否を判定する制御装置と、
を有する制御システム。
続きを表示(約 470 文字)
【請求項2】
前記第1条件は、前記無線機の両方がそれぞれ受信した信号の角度がいずれも第1範囲内である条件であり、
前記第2条件は、前記無線機の一方が受信した信号の角度が第1範囲内であって、該信号の強度に応じた伝播距離が第1閾値未満である条件であり、
前記第3条件は、前記無線機の他方が受信した信号の強度に応じた伝播距離が前記第1閾値よりも小さい第2閾値未満である条件である
請求項1に記載の制御システム。
【請求項3】
前記制御装置は、
前記無線機の両方がそれぞれ受信した信号の角度がいずれも前記第1範囲よりも前記通路の入口側にある第2範囲内であるときに、前記信号を発信した端末が一つであれば該端末の前記通路の通行の可否を判定する
請求項2に記載の制御システム。
【請求項4】
前記通路に設けられたゲートを有し、
前記制御装置は、判定した前記可否に基づいて前記ゲートの開閉を制御する
請求項1から3のいずれか一項に記載の制御システム。
発明の詳細な説明
【技術分野】
【0001】
本発明は、信号を受信する無線機を制御して通行、入退場の可否を判定する制御システムに関する。
続きを表示(約 1,500 文字)
【背景技術】
【0002】
信号を受信する無線機を制御して通行、入退場の可否を判定する制御システムは、例えば、鉄道、劇場、イベント会場等、有料のサービスを受けるための各種施設に用いられている。
【0003】
従来の改札機で採用されてきた制御システムは、例えば、改札口を通行しようとする通行人から引き渡された切符、定期券等の媒体を装置内に引き入れて、それらの媒体に塗布又は蒸着された磁性膜から情報を読み取ることにより、通行人の通行の可否を判断していた。しかし、装置内において切符等の磁性記録媒体を搬送する機器が故障し易く、媒体の引き入れ・受け渡しも煩雑である等の理由から、近年、制御システムは、切符等の電子通行証の構成材料として、磁性記録媒体に代えて無線機器を利用するようになっている。
【0004】
例えば近年の鉄道の改札システムは、RFID(Radio Frequency Identification)を利用したものが普及している。RFIDの一種であるNFC(Near Field Communication)は、スマートフォンにも標準で搭載されるようになり、特に日本ではスマートフォンに搭載されたNFCを使って改札機を利用することが可能となっている。
【0005】
ところで、一つのゲートを通行人が通行してよいか否かを判断するためには、そのゲートを通行しようとしている通行人を一人だけ特定しなければならない。このため、例えば、上述した従来技術は、RFIDの中でも通信可能な距離が約10センチメートル程度に制限されるNFCを用いている。
【0006】
しかし、通信可能な距離をこのように制限すると、通行人はゲートを通行する際に、所有している電子通行証を着衣、鞄等から探し出し、手に持ち替え、さらに改札機のNFC無線機にかざす、という一連の動作をする必要があるため煩雑である。
【0007】
そこで、通信可能な範囲を一人分に制限することに代えて、より広い範囲にいる通行人をその位置とともに検出する制御システムが考えられている。
【0008】
特許文献1は、ゲート本体の出入口の第1の領域側又は第2の領域側の少なくともいずれか一方に予め定められた質問範囲へ質問電波を送信し、その質問電波を利用者が携帯する携帯端末が受信した場合に送信する応答電波を受信するアンテナと、その質問範囲を路面に表示する質問範囲画像を表示させる命令を表示装置に出力する表示制御部と、を備えたゲート制御システム、を開示している。
【0009】
特許文献2は、個人携帯端末から第1距離だけ離間された第1位置に配置された複数の第1位置特定側受信部と、第1距離よりも長い第2距離だけ個人携帯端末から離間された第2位置に配置された複数の第2位置特定側受信部と、複数の第1位置特定側受信部及び第2位置特定側受信部でそれぞれ受信した位置特定信号の強度差に基づいて、個人携帯端末の位置を特定する位置特定システム、を開示している。
【0010】
特許文献3は、第1無線通信装置を介して第1認証情報を取得し、第2無線通信装置を介して第2認証情報を取得し、第3無線ネットワーク通信装置を介して位置情報を取得し、取得した第1認証情報、及び/又は、第2認証情報を用いて通行認証端末を認証した認証結果と、第1無線通信装置の配置位置、及び/又は、第2無線通信装置の配置位置と、位置情報取得装置を介して取得した位置情報とを用いて、通行認証端末の所在位置を算出する所在位置確認システム、を開示している。
(【0011】以降は省略されています)
この特許をJ-PlatPat(特許庁公式サイト)で参照する
関連特許
日本信号株式会社
制御システム
22日前
日本信号株式会社
開閉システム
17日前
日本信号株式会社
障害物検知装置
3日前
日本信号株式会社
障害物検知装置
3日前
日本信号株式会社
距離画像センサ
22日前
日本信号株式会社
地上子及び地上子の製造方法
9日前
日本信号株式会社
連動装置及び連動装置用の鎖錠解錠プログラム
17日前
日本信号株式会社
距離画像装置、距離画像の補正方法及び画像処理プログラム
1か月前
個人
採尿及び採便具
1か月前
日本精機株式会社
検出装置
24日前
個人
計量機能付き容器
19日前
個人
高精度同時多点測定装置
1か月前
個人
アクセサリー型テスター
1か月前
甲神電機株式会社
電流検出装置
24日前
株式会社ミツトヨ
測定器
1か月前
株式会社カクマル
境界杭
9日前
日本精機株式会社
発光表示装置
2日前
株式会社トプコン
測量装置
1日前
アズビル株式会社
電磁流量計
1か月前
大成建設株式会社
風洞実験装置
19日前
日本特殊陶業株式会社
ガスセンサ
1日前
長崎県
形状計測方法
1か月前
日本特殊陶業株式会社
ガスセンサ
17日前
愛知電機株式会社
軸部材の外観検査装置
1か月前
個人
計量具及び計量機能付き容器
19日前
双庸電子株式会社
誤配線検査装置
25日前
大和製衡株式会社
組合せ計量装置
1か月前
ローム株式会社
半導体装置
1か月前
愛知時計電機株式会社
ガスメータ
1か月前
個人
非接触による電磁パルスの測定方法
22日前
日本信号株式会社
距離画像センサ
22日前
個人
システム、装置及び実験方法
1か月前
大和製衡株式会社
組合せ計量装置
1か月前
ローム株式会社
半導体装置
1か月前
キーコム株式会社
画像作成システム
9日前
個人
液位検視及び品質監視システム
17日前
続きを見る
他の特許を見る