TOP
|
特許
|
意匠
|
商標
特許ウォッチ
Twitter
他の特許を見る
10個以上の画像は省略されています。
公開番号
2025171993
公報種別
公開特許公報(A)
公開日
2025-11-20
出願番号
2025074016
出願日
2025-04-28
発明の名称
地上子及び地上子の製造方法
出願人
日本信号株式会社
代理人
個人
主分類
B61L
3/12 20060101AFI20251113BHJP(鉄道)
要約
【課題】 熱膨張を低減させつつ防振性能を維持し、外装部分の変形を抑えられる地上子及び地上子の製造方法を提供すること。
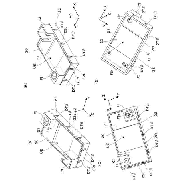
【解決手段】 地上子100は、内容物CNを収納するケース10と、内容物CNの形状に応じた凹凸部UEをもつ蓋20と、ケース10と蓋20との協働により形成される内容物CNの収容空間CSに充填されて、内容物CNを包含する弾性部材30とを備える。ケース10と蓋20との協働により形成される内容物CNの収容空間を極力小さくして該空間内に充填させる弾性部材30の量を抑えて弾性部材30の熱膨張を低減しつつ、弾性部材30による内容物CNの防振性能を維持できる。また、弾性部材30の熱膨張に伴って蓋20が外れたり、蓋20やケース10が変形したりすることを抑制できる。
【選択図】図1
特許請求の範囲
【請求項1】
内容物を収納するケースと、
前記内容物の形状に応じた凹凸部をもつ蓋と、
前記ケースと前記蓋との協働により形成される前記内容物の収容空間に充填されて、前記内容物を包含する弾性部材と
を備える地上子。
続きを表示(約 560 文字)
【請求項2】
前記ケースと前記蓋とにより前記弾性部材を挟んで押圧するように、前記ケースと前記蓋とを締結するロックピースを備える、請求項1に記載の地上子。
【請求項3】
前記蓋は、前記凹凸部を設けた天面部と、前記天面部の縁から前記ケースに向かう方向に延びる延在部とを有し、
前記ケースは、前記蓋に向かう方向に延びる側壁部を有し、
前記延在部は、前記側壁部の内面に沿って延びている、請求項1に記載の地上子。
【請求項4】
前記蓋は、前記天面部の内面と前記延在部の内面とにおいて、前記弾性部材と面的に密着している、請求項3に記載の地上子。
【請求項5】
前記側壁部と前記延在部との間の側方部を接着する接着部を備える、請求項3に記載の地上子。
【請求項6】
内容物を収納するケースと、前記内容物の形状に応じた凹凸部をもつ蓋と、前記ケースと前記蓋との協働により形成される前記内容物の収容空間に充填されて、前記内容物を包含する弾性部材とを備える地上子の製造方法であって、
前記収容空間に前記内容物を設置する設置工程と、
前記内容物が設置されている前記収容空間に前記弾性部材を充填させる充填工程と
を備える地上子の製造方法。
発明の詳細な説明
【技術分野】
【0001】
本発明は、列車の運行を制御のために線路内に設置される地上子及び地上子の製造方法に関する。
続きを表示(約 1,200 文字)
【背景技術】
【0002】
例えば、組込み処理と、溶着処理と、注入固化処理とにより地上子の成形加工を行う方法が知られている(特許文献1参照)。
【先行技術文献】
【特許文献】
【0003】
特開2000-127970号公報
【発明の概要】
【発明が解決しようとする課題】
【0004】
しかしながら、上記特許文献1では、各工程において作業性が悪くなりリードタイムが長くなる可能性や注入固化した物質の熱膨張による外殻の反りや変形、さらにはこれに見合う外殻の強度維持の問題等が生じ得る。
【0005】
本発明は上記した点に鑑みてなされたものであり、熱膨張を低減させつつ防振性能を維持し、外装部分の変形を抑えられる地上子及び地上子の製造方法を提供することを目的とする。
【課題を解決するための手段】
【0006】
上記目的を達成するための地上子は、内容物を収納するケースと、内容物の形状に応じた凹凸部をもつ蓋と、ケースと蓋との協働により形成される内容物の収容空間に充填されて、内容物を包含する弾性部材とを備える。
【0007】
上記地上子では、蓋が内容物の形状に応じた凹凸部をもつことで、ケースとの協働により形成される内容物の収容空間を極力小さくして該空間内に充填させる弾性部材の量を抑えて弾性部材の熱膨張を低減しつつ、弾性部材による内容物の防振性能を維持できる。また、この場合、弾性部材の熱膨張に伴って蓋が外れたり、蓋やケースが変形したりすることを抑制できる。
【0008】
本発明の具体的な側面では、ケースと蓋とにより弾性部材を挟んで押圧するように、ケースと蓋とを締結するロックピースを備える。この場合、ロックピースによる締結によって、内容物の収容空間において弾性部材をケースや蓋に密着させた状態に維持でき、この際、弾性部材を挟んで押圧する方向についてロックピースの物理的作用による固定が可能となる。
【0009】
本発明の別の側面では、蓋は、凹凸部を設けた天面部と、天面部の縁からケースに向かう方向に延びる延在部とを有し、ケースは、蓋に向かう方向に延びる側壁部を有し、延在部は、側壁部の内面に沿って延びている。この場合、蓋の天面部に内容物に応じた凹凸形状部があることで、内容物の収容空間を所望の形状とすることができ、蓋の天面部の縁から延びる延在部をケースの側壁部の内面に沿って延びるように設けておくことで、弾性部材の熱膨張に伴う蓋への内部圧が天面部側のみに掛からないように分散させられる。
【0010】
本発明のさらに別の側面では、蓋は、天面部の内面と延在部の内面とにおいて、弾性部材と面的に密着している。この場合、蓋に対する弾性部材の熱膨張は、天面部の内面と延在部の内面とに分散される。
(【0011】以降は省略されています)
この特許をJ-PlatPat(特許庁公式サイト)で参照する
関連特許
日本信号株式会社
検査装置
23日前
日本信号株式会社
開閉システム
10日前
日本信号株式会社
制御システム
15日前
日本信号株式会社
距離画像センサ
15日前
日本信号株式会社
可視光通信システム
1か月前
日本信号株式会社
検査装置及び検査方法
24日前
日本信号株式会社
列車接近警報システム
1か月前
日本信号株式会社
運行管理システム及び方法
29日前
日本信号株式会社
地上子及び地上子の製造方法
2日前
日本信号株式会社
地中レーダ装置及びその埋設物探査方法
24日前
日本信号株式会社
連動装置及び連動装置用の鎖錠解錠プログラム
10日前
日本信号株式会社
距離画像装置、距離画像の補正方法及び画像処理プログラム
23日前
日本信号株式会社
検査装置
23日前
個人
車両及び走行システム
7か月前
日本信号株式会社
検査装置
11か月前
日本信号株式会社
ホーム柵
2か月前
日本信号株式会社
ホーム柵
3か月前
近畿車輌株式会社
耐火床構造
1か月前
日本車輌製造株式会社
鉄道車両
1か月前
日本信号株式会社
ホーム柵装置
7か月前
カヤバ株式会社
鉄道車両用制振装置
11か月前
近畿車輌株式会社
鉄道車両の床構造
11か月前
近畿車輌株式会社
鉄道車両の床構造
11か月前
ナブテスコ株式会社
ホームドア装置
3か月前
日本信号株式会社
列車接近警報装置
3か月前
川崎車両株式会社
鉄道車両用パネル
9か月前
近畿車輌株式会社
鉄道車両の床構造
11か月前
保線機器整備株式会社
保線用カート
9か月前
日本車輌製造株式会社
台車組立装置
5か月前
日本ケーブル株式会社
索道の支索引留め装置
3か月前
日本信号株式会社
踏切道監視システム
11か月前
株式会社東芝
台車搬送装置
1か月前
株式会社ダイフク
搬送車
6か月前
日本信号株式会社
ホーム安全システム
7か月前
日本信号株式会社
物体検知装置
7か月前
日本信号株式会社
ホームドア制御装置
4か月前
続きを見る
他の特許を見る