TOP
|
特許
|
意匠
|
商標
特許ウォッチ
Twitter
他の特許を見る
公開番号
2025141712
公報種別
公開特許公報(A)
公開日
2025-09-29
出願番号
2024041773
出願日
2024-03-15
発明の名称
可視光通信システム
出願人
日本信号株式会社
代理人
個人
主分類
H04B
10/116 20130101AFI20250919BHJP(電気通信技術)
要約
【課題】 可視光通信において、通信の高速化を図れる可視光通信システムを提供すること。
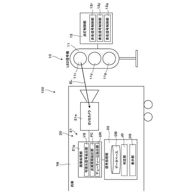
【解決手段】 可視光通信システム100は、点滅周期及びデューティー比に差異を設けた可視光の発光により信号送信を行う発光装置11と、発光装置11からの可視光ELについて、輝度変化から点滅周期及びデューティー比を読み取る受光装置21と、受光装置21で読み取った点滅周期及びデューティー比から発信側からの送信情報を抽出する信号処理部22とを備える。
【選択図】図1
特許請求の範囲
【請求項1】
点滅周期及びデューティー比に差異を設けた可視光の発光により信号送信を行う発光装置と、
前記発光装置からの前記可視光について、輝度変化から前記点滅周期及び前記デューティー比を読み取る受光装置と、
前記受光装置で読み取った前記点滅周期及び前記デューティー比から発信側からの送信情報を抽出する信号処理部と
を備える可視光通信システム。
続きを表示(約 660 文字)
【請求項2】
前記信号処理部は、前記点滅周期及び前記デューティー比から、発信側における灯色情報及び信号機IDを前記送信情報として抽出する、請求項1に記載の可視光通信システム。
【請求項3】
前記信号処理部は、前記点滅周期についての差異から前記灯色情報を抽出し、前記デューティー比についての差異から前記信号機IDを抽出する、請求項2に記載の可視光通信システム。
【請求項4】
前記受光装置において前記可視光を連続撮像する際のフレームレートは、前記発光装置の点滅動作のためのオンオフ切替の周波数よりも大きい、請求項1に記載の可視光通信システム。
【請求項5】
前記受光装置は、各画素の輝度変化を非同期で検出し変化したデータのみを画素の位置及び時間の情報と組み合わせて出力するイメージセンサにより、前記可視光についての読取りを行う、請求項1に記載の可視光通信システム。
【請求項6】
前記発光装置は、前記デューティー比の差異に応じて、前記可視光の発光輝度を変えている、請求項1に記載の可視光通信システム。
【請求項7】
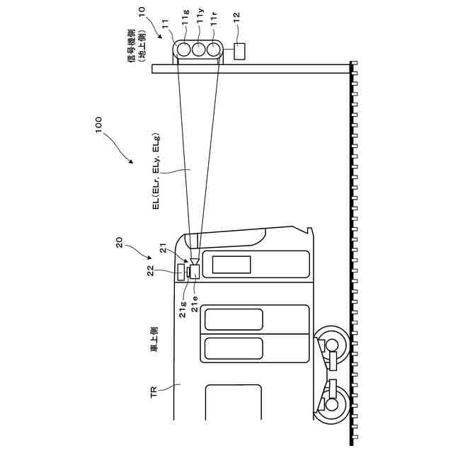
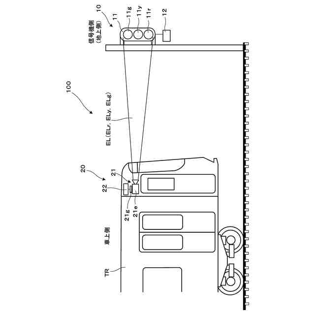
前記発光装置は、地上側に設けられ、鉄道信号灯器を構成するLED光源により前記可視光を発光し、鉄道用信号について前記信号送信を行い、
前記受光装置及び前記信号処理部は、車上側に設けられ、
前記信号処理部は、前記鉄道用信号に基づき、列車進行の可否情報を取得する、請求項1に記載の可視光通信システム。
発明の詳細な説明
【技術分野】
【0001】
本発明は、例えば鉄道設備における信号灯器等に対して適用可能な可視光通信システムに関する。
続きを表示(約 1,200 文字)
【背景技術】
【0002】
例えば照明光を利用して高速点滅による可視光通信を行う際に、照明のちらつきが生じないように均等な光量の照明光で照射する光送信装置が知られている(特許文献1参照)。
【先行技術文献】
【特許文献】
【0003】
特許第5196706号公報
【発明の概要】
【発明が解決しようとする課題】
【0004】
可視光通信においてちらつきを発生させないためには、例えばLEDを用いた照明光を採用して点滅周期を短くすることが一般的に考えられるが、信号検出側において通常のカメラを用いると、当該カメラのフレームレートの制限により、照明側の点滅周期は、例えば200Hz程度までしか短くできない。したがって、可視光通信における通信速度も制限されるものとなる。しかしながら、上記特許文献1には、例えば光送信装置のうち受光側における制約に基づく通信の高速化の限界への対応等については、言及されていない。
【0005】
本発明は上記した点に鑑みてなされたものであり、可視光通信において、通信の高速化を図れる可視光通信システムを提供することを目的とする。
【課題を解決するための手段】
【0006】
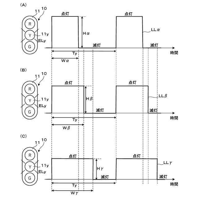
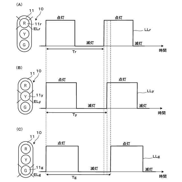
上記目的を達成するための可視光通信システムは、点滅周期及びデューティー比に差異を設けた可視光の発光により信号送信を行う発光装置と、発光装置からの可視光について、輝度変化から点滅周期及びデューティー比を読み取る受光装置と、受光装置で読み取った点滅周期及びデューティー比から発信側からの送信情報を抽出する信号処理部とを備える。
【0007】
上記可視光通信システムでは、受光側において、受光した可視光の輝度変化から点滅周期及びデューティー比を読み取って信号抽出を行うようにすることで、可視光通信において、ちらつきの発生を回避しつつ、通信の高速化を図れる。
【0008】
本発明の具体的な側面では、信号処理部は、点滅周期及びデューティー比から、発信側における灯色情報及び信号機IDを送信情報として抽出する。この場合、必要な情報を迅速に取得することができる。
【0009】
本発明の別の側面では、信号処理部は、点滅周期についての差異から灯色情報を抽出し、デューティー比についての差異から信号機IDを抽出する。この場合、灯色情報及び信号機IDをそれぞれ的確に抽出できる。
【0010】
本発明のさらに別の側面では、受光装置において可視光を連続撮像する際のフレームレートは、発光装置の点滅動作のためのオンオフ切替の周波数よりも大きい。この場合、十分高速なフレームレートの変化を利用して、発光装置の点滅動作を確実に捉えることができる。
(【0011】以降は省略されています)
この特許をJ-PlatPat(特許庁公式サイト)で参照する
関連特許
日本信号株式会社
検査装置
2日前
日本信号株式会社
可視光通信システム
1か月前
日本信号株式会社
検査装置及び検査方法
3日前
日本信号株式会社
列車接近警報システム
9日前
日本信号株式会社
運行管理システム及び方法
8日前
日本信号株式会社
地中レーダ装置及びその埋設物探査方法
3日前
日本信号株式会社
距離画像装置、距離画像の補正方法及び画像処理プログラム
2日前
個人
イヤーマフ
8日前
個人
監視カメラシステム
17日前
個人
店内配信予約システム
3か月前
個人
スイッチシステム
2日前
キーコム株式会社
光伝送線路
18日前
WHISMR合同会社
収音装置
1か月前
サクサ株式会社
中継装置
23日前
個人
スキャン式車載用撮像装置
17日前
サクサ株式会社
中継装置
24日前
アイホン株式会社
電気機器
1か月前
キヤノン株式会社
電子機器
3か月前
キヤノン株式会社
撮像装置
2か月前
サクサ株式会社
無線通信装置
23日前
株式会社リコー
画像形成装置
2か月前
サクサ株式会社
無線通信装置
23日前
サクサ株式会社
無線システム
22日前
株式会社リコー
画像形成装置
10日前
キヤノン電子株式会社
画像読取装置
16日前
キヤノン電子株式会社
画像読取装置
2日前
個人
ワイヤレスイヤホン対応耳掛け
1か月前
キヤノン電子株式会社
画像読取装置
1か月前
株式会社リコー
画像形成装置
2か月前
ヤマハ株式会社
放音制御装置
2日前
個人
映像表示装置、及びARグラス
3日前
株式会社リコー
画像形成装置
2か月前
株式会社ニコン
撮像装置
3か月前
日本電気株式会社
海底分岐装置
18日前
キヤノン株式会社
撮像システム
1か月前
ブラザー工業株式会社
読取装置
2か月前
続きを見る
他の特許を見る