TOP
|
特許
|
意匠
|
商標
特許ウォッチ
Twitter
他の特許を見る
10個以上の画像は省略されています。
公開番号
2025168926
公報種別
公開特許公報(A)
公開日
2025-11-12
出願番号
2024073797
出願日
2024-04-30
発明の名称
開閉システム
出願人
日本信号株式会社
代理人
弁理士法人朝日特許事務所
主分類
H01H
47/00 20060101AFI20251105BHJP(基本的電気素子)
要約
【課題】入力側装置と出力側装置の間の電路の通電が維持された状態で当該電路が有する開閉器の故障を検知する機能を備える開閉システムであって、入力側装置と出力側装置の間に短絡が生じた場合、入力側装置から出力側装置への電力又は電気信号の供給を遮断できる開閉システムを提供する。
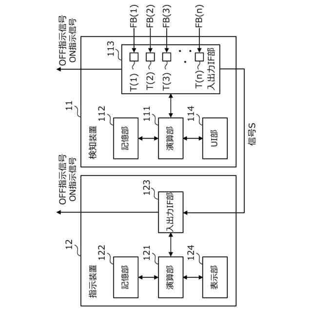
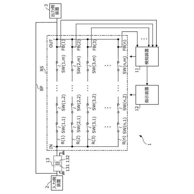
【解決手段】開閉システム1は、各々が直列接続された複数の開閉器SWを有する並列接続された複数の電路Rを有する並列電路RSと、複数の開閉器SWの中から順次1つずつ点検対象の開閉器SWを選択し、選択した点検対象の開閉器SWに開閉を指示し、開閉を指示した開閉器SWを有する電路Rから出力されるフィードバック信号FBに基づき開閉を指示した開閉器SWの故障を検知する検知装置11と、入力側装置2と並列電路RSの間に接続された絶縁回路である回路13を備える。
【選択図】図1
特許請求の範囲
【請求項1】
入力側装置と出力側装置の間に配置され、各々が開閉器を有する並列接続された複数の電路のうち、1以上の電路の通電を維持しながら他の電路の開閉器に開閉を指示し、前記他の電路の通電状態に基づいて開閉器の故障を検知し、前記入力側装置と前記出力側装置の短絡時に前記入力側装置から前記出力側装置に電流が流れないように前記入力側装置から出力される電流を前記入力側装置と共通のグランドである入力側グランドに流す開閉システム。
続きを表示(約 880 文字)
【請求項2】
互いに絶縁された入力側回路と出力側回路を有し、前記入力側回路に入力された電力又は電気信号を前記出力側回路に伝送する絶縁回路を備え、前記入力側回路が前記入力側グランドに接続され、前記出力側回路が前記出力側装置と共通のグランドであり前記入力側グランドとは異なるグランドである出力側グランドに接続されている
請求項1に記載の開閉システム。
【請求項3】
前記絶縁回路は、前記入力側回路から前記出力側回路に、磁力、光、電波、及び、音のいずれかにより電力又は電気信号を伝送する
請求項2に記載の開閉システム。
【請求項4】
前記絶縁回路から出力される電力又は電気信号の異常を検知したときに前記絶縁回路の出力を停止する
請求項2に記載の開閉システム。
【請求項5】
前記検知を行う検知装置と、前記検知装置から所定の信号を所定の時間間隔で受け取れない場合、前記複数の電路の各々の開閉器に開放を指示する指示装置とを備える
請求項1に記載の開閉システム。
【請求項6】
前記複数の電路の各々が複数の開閉器を有し、前記開閉の指示において前記他の電路の各々の1以上の開閉器に開閉を指示する
請求項1に記載の開閉システム。
【請求項7】
いずれかの開閉器の故障を検知した場合、前記複数の電路の各々の1以上の開閉器に開放を指示する
請求項6に記載の開閉システム。
【請求項8】
いずれかの開閉器の故障を検知した後、前記複数の電路のうち故障の検知された開閉器を有する電路を除く複数の電路において前記開閉の指示および前記故障の検知を行う
請求項6に記載の開閉システム。
【請求項9】
前記検知を行う検知装置と、前記検知装置から所定の信号を所定の時間間隔で受け取れない場合、前記複数の電路の各々の1以上の開閉器に開放を指示する指示装置とを備える
請求項6乃至8のいずれか1項に記載の開閉システム。
発明の詳細な説明
【技術分野】
【0001】
本発明は、開閉器の故障を検知する技術に関する。
続きを表示(約 1,900 文字)
【背景技術】
【0002】
入力側装置から出力側装置に電力または電気信号を供給する仕組みにおいて、非常時等にこれらの装置間の通電を遮断したい場合がある。そのような場合、入力側装置と出力側装置の間に、これらの装置間の電路を開閉する開閉器を配置し、通常時には当該開閉器を閉止状態で維持し、非常時等には当該開閉器を開放する、という仕組みが広く採用されている。
【0003】
上記の仕組みにおいて、例えば、開閉器を閉止状態から開放状態に切り替えることができなくなる故障(短絡故障)が発生すると、非常時等に入力側装置から出力側装置への電力または電気信号を遮断することができなくなる。例えば、非常時に出力側装置への電力の供給が速やかに遮断されなければならない場合、開閉器の短絡故障により電路が開放できなければ、出力側装置が運転し続けて、深刻な事故を招く危険性がある。
【0004】
上記のような問題を回避するためには、開閉器に故障が発生しているか否かの点検を頻繁に行う必要がある。ただし、頻繁に行われる点検の際に、入力側装置から出力側装置への電力または電気信号の供給を中断すると、それらの装置の運用の妨げとなる。従って、出力側装置から入力側装置への電力または電気信号の供給を継続しながら、それらの装置間に配置されている開閉器を点検する仕組みが必要となる。
【0005】
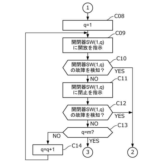
そのような必要を満たす技術を開示している特許文献として、特許文献1がある。特許文献1には、入力側装置と出力側装置の間に並列接続された複数の電路を設け、それら複数の電路の各々に開閉器を設け、指示装置によって複数の電路の中から順次、1つずつ点検対象の電路を選択し、点検対象ではない電路の開閉器は閉止状態を維持させつつ、点検対象の電路の開閉器を閉止状態から開放状態へと切り替えさせ、検知装置によってその切り替えに伴い点検対象の電路の通電状態が変化するか否かを判定することで、全ての開閉器に関し故障が発生しているか否かを点検する開閉システムが記載されている。
【先行技術文献】
【特許文献】
【0006】
特開2018-092822号公報
【発明の概要】
【発明が解決しようとする課題】
【0007】
特許文献1に記載の開閉システムに接続される入力側装置又は出力側装置の設計、製造、接続等におけるミス等により、特許文献1に記載の開閉システムをバイパスして、入力側装置の出力と出力側装置の入力が短絡してしまう危険性は完全に排除されない。
【0008】
そのような入力側装置の出力と出力側装置の入力との短絡が発生していても、入力側装置と出力側装置の運用中には入力側装置から出力側装置へと正常に電力又は電気信号が供給されるため、関係者がその短絡に気づくことは難しい。そして、非常時等に開閉システムの全開閉器が開放状態に切り替わり、入力側装置から出力側装置への電力または電気信号が遮断されるべきときに、短絡した経路により入力側装置から出力側装置への電力または電気信号の供給が維持され、遮断が失敗してはじめて、関係者が短絡の発生に気付くことになる。その際、停止されるべき出力側装置の運転が停止されず、深刻な事故を招く危険性がある。
【0009】
なお、開閉システムを介して接続された入力側装置と出力側装置の間に常に開閉システムをバイパスした短絡が生じている場合には、例えば開閉システムを介した入力側装置と出力側装置の接続作業を行った際に、開閉システムの全開閉器を開放状態に切り替えて、入力側装置と出力側装置の間に短絡が生じているか否かの点検を行うことで、その短絡を検出できる。しかしながら、出力側装置と入力側装置の短絡は、様々に変化する出力側装置の回路の状態と入力側装置の回路の状態との組み合わせによって発生したりしなかったりする可能性がある。それら全ての状態に関し網羅的に短絡の有無の点検を行うことは困難である。
【0010】
上記の事情に鑑み、本発明は、入力側装置と出力側装置の間の電路の通電が維持された状態で当該電路が有する開閉器の故障を検知する機能を備える開閉システムであって、入力側装置と出力側装置の間に短絡が生じた場合、入力側装置から出力側装置への電力又は電気信号の供給を遮断できる開閉システムを提供することを目的とする。
【課題を解決するための手段】
(【0011】以降は省略されています)
この特許をJ-PlatPat(特許庁公式サイト)で参照する
関連特許
日本信号株式会社
検査装置
1か月前
日本信号株式会社
車両検知装置
4日前
日本信号株式会社
開閉システム
27日前
日本信号株式会社
制御システム
1か月前
日本信号株式会社
障害物検知装置
13日前
日本信号株式会社
障害物検知装置
13日前
日本信号株式会社
距離画像センサ
1か月前
日本信号株式会社
可視光通信システム
2か月前
日本信号株式会社
検査装置及び検査方法
1か月前
日本信号株式会社
列車接近警報システム
1か月前
日本信号株式会社
運行管理システム及び方法
1か月前
日本信号株式会社
地上子及び地上子の製造方法
19日前
日本信号株式会社
車番式テナントチェッカ連携システム
6日前
日本信号株式会社
地中レーダ装置及びその埋設物探査方法
1か月前
日本信号株式会社
連動装置及び連動装置用の鎖錠解錠プログラム
27日前
日本信号株式会社
距離画像装置、距離画像の補正方法及び画像処理プログラム
1か月前
日機装株式会社
加圧装置
4日前
日新イオン機器株式会社
イオン源
4日前
富士電機株式会社
電磁接触器
19日前
株式会社GSユアサ
蓄電装置
19日前
ホシデン株式会社
複合コネクタ
13日前
株式会社東芝
電子源
4日前
大電株式会社
電線又はケーブル
11日前
トヨタ自動車株式会社
蓄電装置
11日前
株式会社トクミ
ケーブル
5日前
個人
電源ボックス及び電子機器
4日前
ローム株式会社
半導体モジュール
20日前
矢崎総業株式会社
バスバー
今日
ヒロセ電機株式会社
電気コネクタ
19日前
矢崎総業株式会社
コネクタ
19日前
住友電装株式会社
コネクタ
19日前
株式会社デンソー
半導体装置
19日前
株式会社パロマ
監視システム
11日前
矢崎総業株式会社
端子
11日前
トヨタ自動車株式会社
蓄電装置構造
5日前
日本特殊陶業株式会社
アンテナ装置
6日前
続きを見る
他の特許を見る