TOP
|
特許
|
意匠
|
商標
特許ウォッチ
Twitter
他の特許を見る
公開番号
2025160841
公報種別
公開特許公報(A)
公開日
2025-10-23
出願番号
2024063668
出願日
2024-04-10
発明の名称
列車接近警報システム
出願人
日本信号株式会社
代理人
個人
主分類
B61L
23/06 20060101AFI20251016BHJP(鉄道)
要約
【課題】 簡易な構成で確実に列車の接近を、作業員へ伝達できる列車接近警報システムを提供すること。
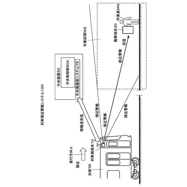
【解決手段】 列車接近警報システム100は、列車TRに搭載され、作業区間WSへの接近を示す接近警報を発する列車側端末10と、作業区間WSに存在する作業員MWに所持され、列車側端末10からの接近警報を受信する携帯端末30とを備える。上記列車接近警報システム100では、列車側端末10から発せられた作業区間WSへの接近を示す接近警報を、作業区間WSに存在する作業員MWが所持する携帯端末30で受信する態様とすることで、簡易な構成で確実に列車の接近を、作業員MWへ伝達できる。
【選択図】図1
特許請求の範囲
【請求項1】
列車に搭載され、作業区間への接近を示す接近警報を発する列車側端末と、
前記作業区間に存在する作業員に所持され、前記列車側端末からの前記接近警報を受信する携帯端末と
を備える列車接近警報システム。
続きを表示(約 390 文字)
【請求項2】
前記列車側端末と通信し、通信内容に基づいて前記接近警報を作成するとともに、作成した前記接近警報を前記列車側端末に発信する中央装置を備える、請求項1に記載の列車接近警報システム。
【請求項3】
前記中央装置は、前記列車側端末との通信から列車走行状況を把握するとともに、把握した前記列車走行状況と前記作業区間とに応じて、前記接近警報を作成するか否かを決定する、請求項2に記載の列車接近警報システム。
【請求項4】
前記中央装置は、前記列車側端末との多重通信により運行管理を行うCBTC制御装置であり、前記接近警報を、多重通信情報に付加している、請求項2に記載の列車接近警報システム。
【請求項5】
前記列車側端末は、列車の進行方向に指向性を有した状態で前記接近警報を発する、請求項1に記載の列車接近警報システム。
発明の詳細な説明
【技術分野】
【0001】
本発明は、例えば線路作業者等に対して、列車接近時に警報を行うための列車接近警報システムに関する。
続きを表示(約 1,200 文字)
【背景技術】
【0002】
例えば、軌道回路の情報を沿線に設置された送信局から発信することで列車の接近を沿線にいる作業員に知らせているものが知られている(特許文献1参照)。また、作業員のGPS情報や運行管理装置を組み込むことで接近している列車が作業中の区画に進入してくるかどうかを中央装置において判断しているものが知られている(特許文献2参照)。
【先行技術文献】
【特許文献】
【0003】
特開2012-210868号公報
特開2017-47741号公報
【発明の概要】
【発明が解決しようとする課題】
【0004】
しかしながら、上記特許文献1では、例えば作業員の持つ携帯端末への送信に必要な送信機を沿線に新たに設置する等の必要があり、また、地上に設置した送信機からの警報では線路内のすべての場所を網羅することができない可能性もある。また、上記特許文献2では、例えばGPSを使えない区間がある場合に、別の手法により判断を行う必要がある可能性がある。
【0005】
本発明は上記した点に鑑みてなされたものであり、簡易な構成で確実に列車の接近を、作業員へ伝達できる列車接近警報システムを提供することを目的とする。
【課題を解決するための手段】
【0006】
上記目的を達成するための列車接近警報システムは、列車に搭載され、作業区間への接近を示す接近警報を発する列車側端末と、作業区間に存在する作業員に所持され、列車側端末からの接近警報を受信する携帯端末とを備える。
【0007】
上記列車接近警報システムでは、列車側端末から発せられた作業区間への接近を示す接近警報を、作業区間に存在する作業員が所持する携帯端末で受信する態様とすることで、簡易な構成で確実に列車の接近を、作業員へ伝達できる。
【0008】
本発明の具体的な側面では、列車側端末と通信し、通信内容に基づいて接近警報を作成するとともに、作成した接近警報を列車側端末に発信する中央装置を備える。この場合、中央装置において作成された接近警報を、列車側端末を介して作業員へ伝達できる。
【0009】
本発明の別の側面では、中央装置は、列車側端末との通信から列車走行状況を把握するとともに、把握した列車走行状況と作業区間とに応じて、接近警報を作成するか否かを決定する。この場合、列車側端末との通信に基づく列車走行状況と列車走行状況とから、要否の判断が的確になされた上で接近警報が作成される。
【0010】
本発明のさらに別の側面では、中央装置は、列車側端末との多重通信により運行管理を行うCBTC制御装置であり、接近警報を、多重通信情報に付加している。この場合、CBTC制御における情報通信を利用した接近警報の伝達が可能になる。
(【0011】以降は省略されています)
この特許をJ-PlatPat(特許庁公式サイト)で参照する
関連特許
日本信号株式会社
検査装置
17日前
日本信号株式会社
開閉システム
4日前
日本信号株式会社
制御システム
9日前
日本信号株式会社
距離画像センサ
9日前
日本信号株式会社
異常走行検出装置
1か月前
日本信号株式会社
可視光通信システム
1か月前
日本信号株式会社
検査装置及び検査方法
18日前
日本信号株式会社
列車接近警報システム
24日前
日本信号株式会社
運行管理システム及び方法
23日前
日本信号株式会社
地中レーダ装置及びその埋設物探査方法
18日前
日本信号株式会社
連動装置及び連動装置用の鎖錠解錠プログラム
4日前
日本信号株式会社
距離画像装置、距離画像の補正方法及び画像処理プログラム
17日前
日本信号株式会社
ホーム柵
2か月前
日本信号株式会社
検査装置
10か月前
個人
車両及び走行システム
6か月前
日本信号株式会社
ホーム柵
2か月前
日本信号株式会社
検査装置
17日前
近畿車輌株式会社
耐火床構造
1か月前
日本車輌製造株式会社
鉄道車両
1か月前
日本信号株式会社
ホーム柵装置
7か月前
ナブテスコ株式会社
ホームドア装置
3か月前
日本信号株式会社
列車接近警報装置
3か月前
保線機器整備株式会社
保線用カート
9か月前
川崎車両株式会社
鉄道車両用パネル
9か月前
カヤバ株式会社
鉄道車両用制振装置
11か月前
近畿車輌株式会社
鉄道車両の床構造
11か月前
近畿車輌株式会社
鉄道車両の床構造
11か月前
日本車輌製造株式会社
台車組立装置
5か月前
近畿車輌株式会社
鉄道車両の床構造
11か月前
株式会社ダイフク
搬送車
5か月前
日本信号株式会社
物体検知装置
7か月前
日本信号株式会社
踏切道監視システム
11か月前
株式会社東芝
台車搬送装置
1か月前
日本信号株式会社
ホーム安全システム
7か月前
日本信号株式会社
ホームドア制御装置
4か月前
日本ケーブル株式会社
索道の支索引留め装置
3か月前
続きを見る
他の特許を見る