TOP
|
特許
|
意匠
|
商標
特許ウォッチ
Twitter
他の特許を見る
公開番号
2025141448
公報種別
公開特許公報(A)
公開日
2025-09-29
出願番号
2024041382
出願日
2024-03-15
発明の名称
耐火床構造
出願人
近畿車輌株式会社
代理人
個人
主分類
B61D
17/10 20060101AFI20250919BHJP(鉄道)
要約
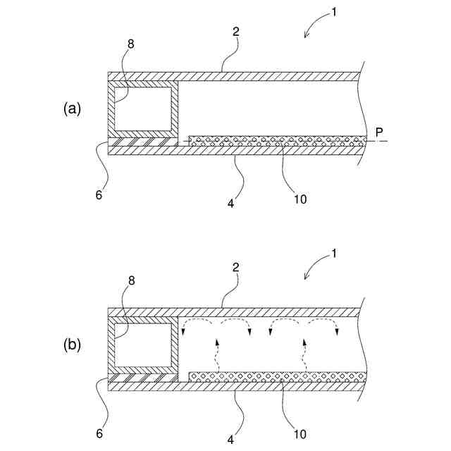
【課題】車両重量やコストの増大を抑え、製造が容易な耐火床構造を提供する。
【解決手段】耐火床構造1では、床下機器の上方に配置される下板4と、下板4の上方に平行に配置される上板2との間に空間が形成される。上板2は、樹脂材6及び角パイプ材8からなる支持部によって支持されている。上板2、下板4及び支持部により囲まれる空間内において、下板4の上面に、結晶水を含んだ化合物10が配置される。下板4が火災により熱せられた際、化合物10が脱水反応を起こして水蒸気を発生させる。
【選択図】図2
特許請求の範囲
【請求項1】
鉄道車両の床下機器の上方に形成される耐火床構造であって、
前記床下機器の上方を覆う下板と、
前記下板の上方に配置される上板と、
前記下板の縁に沿って形成され、前記上板を支持する支持部と、
前記上板、前記下板及び前記支持部で囲まれる空間内に配置される、結晶水を含む化合物と
を備えたことを特徴とする耐火床構造。
続きを表示(約 520 文字)
【請求項2】
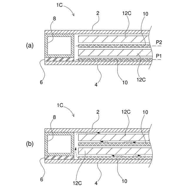
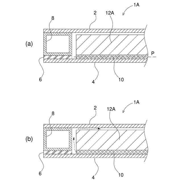
前記化合物は、前記下板の上面を含む上方で、前記下板に平行な仮想平面に沿って配置されていることを特徴とする請求項1に記載の耐火床構造。
【請求項3】
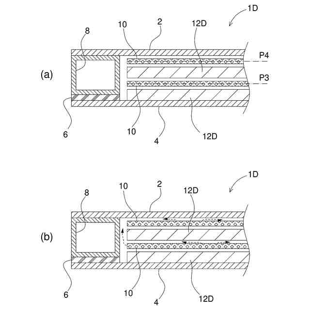
前記仮想平面と前記上板との間に断熱層が形成されていることを特徴とする請求項2に記載の耐火床構造。
【請求項4】
前記仮想平面と前記下板との間に断熱層が形成されていることを特徴とする請求項2に記載の耐火床構造。
【請求項5】
前記化合物には、脱水反応温度が異なる複数の種類が含まれることを特徴とする請求項3又は4に記載の耐火床構造。
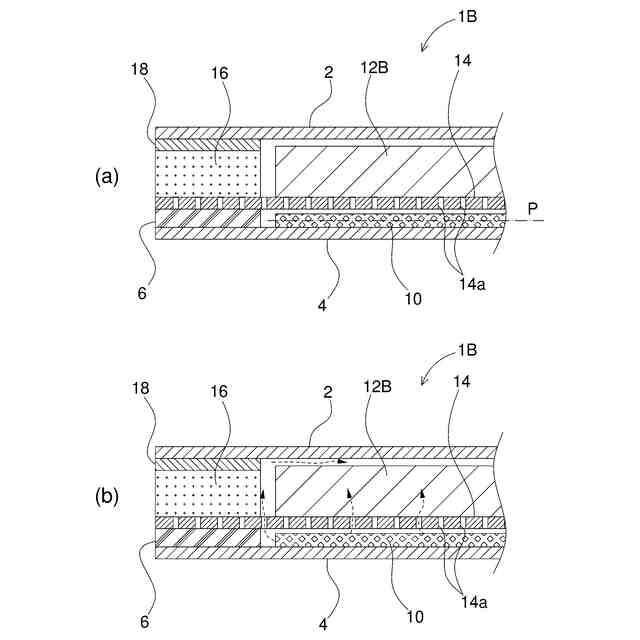
【請求項6】
前記化合物が並ぶ前記仮想平面が、前記下板から複数の高さ位置に配置されていることを特徴とする請求項3又は4に記載の耐火床構造。
【請求項7】
前記支持部には、前記上板と前記下板との間に木材を用いた木材層が介装され、
前記木材層よりも下方で前記支持部に支えられると共に、前記化合物と前記断熱層との間を仕切るように配置され、前記化合物及び前記断熱層との間を連通させる連通孔が形成されていることを特徴とする請求項3に記載の耐火床構造。
発明の詳細な説明
【技術分野】
【0001】
本発明は、鉄道車両の床下火災において、車内側への熱の伝達を遅らせる耐火床構造に関するものである。
続きを表示(約 1,000 文字)
【背景技術】
【0002】
床下機器から発生した火災に対して、一定の時間、車内への熱の伝達を防止するための様々な耐火床構造が従来から考えられている。
【0003】
図7は、従来の鉄道車両の床構造を示している。床構造の上側構造100は床詰物102の上方を床敷物101で覆った構造となっている。この上側構造100の下方には、断熱材104を充填したサブフロア103が設けられている。断熱材104の下方はサブフロアパン105で覆われている。このサブフロアパン105の下方には床下機器が配置される。
【0004】
このように構成されているので、床下機器から出火した場合であっても、サブフロアパン105と断熱材104とによって車内側への熱の伝導を遅らせることができる。
【0005】
上述のようなサブフロアを有する床構造の技術については、特許文献1に記載がある。
【先行技術文献】
【特許文献】
【0006】
特公平5-84345号公報
【発明の概要】
【発明が解決しようとする課題】
【0007】
しかしながら、十分な耐熱性能を得るためには、断熱材104及びサブフロアパン105で構成される、嵩高い断熱層を設ける必要があった。このため、車両重量が増大してしまうという問題があった。
【0008】
また、断熱材104を保持するサブフロアパン105は、ボルトやリベット等の締結部材で締結される。このサブフロアパン105の取付工程では、車体の下側に作業者が潜り込んで、多数のボルトやリベットによる締結作業を行う必要があった。このような作業は作業者にとって負担が大きい上に、多くの作業時間を要していた。
【0009】
そこで、本発明は、車両重量やコストの増大を抑え、製造が容易な耐火床構造を提供することを目的とする。
【課題を解決するための手段】
【0010】
上記の目的を達成するために、本発明の耐火床構造は、鉄道車両の床下機器の上方に形成される耐火床構造であって、前記床下機器の上方を覆う下板と、前記下板の上方に配置される上板と、前記下板の縁に沿って形成され、前記上板を支持する支持部と、前記上板、前記下板及び前記支持部で囲まれる空間内に配置される、結晶水を含む化合物とを備えたことを特徴とする。
(【0011】以降は省略されています)
この特許をJ-PlatPat(特許庁公式サイト)で参照する
関連特許
近畿車輌株式会社
耐火床構造
1か月前
日本信号株式会社
検査装置
10か月前
日本信号株式会社
検査装置
20日前
個人
車両及び走行システム
6か月前
日本信号株式会社
ホーム柵
2か月前
日本信号株式会社
ホーム柵
2か月前
近畿車輌株式会社
耐火床構造
1か月前
日本信号株式会社
ホーム柵装置
7か月前
日本車輌製造株式会社
鉄道車両
1か月前
日本信号株式会社
列車接近警報装置
3か月前
ナブテスコ株式会社
ホームドア装置
3か月前
保線機器整備株式会社
保線用カート
9か月前
近畿車輌株式会社
鉄道車両の床構造
11か月前
近畿車輌株式会社
鉄道車両の床構造
11か月前
日本車輌製造株式会社
台車組立装置
5か月前
カヤバ株式会社
鉄道車両用制振装置
11か月前
近畿車輌株式会社
鉄道車両の床構造
11か月前
川崎車両株式会社
鉄道車両用パネル
9か月前
日本ケーブル株式会社
索道の支索引留め装置
3か月前
株式会社東芝
台車搬送装置
1か月前
日本信号株式会社
物体検知装置
7か月前
株式会社ダイフク
搬送車
6か月前
日本信号株式会社
ホームドア制御装置
4か月前
日本信号株式会社
ホーム安全システム
7か月前
日本信号株式会社
踏切道監視システム
11か月前
日本信号株式会社
列車接近警報システム
27日前
株式会社ダイフク
搬送設備
7か月前
ヤマハ発動機株式会社
無人搬送車
7か月前
ヤマハ発動機株式会社
無人搬送車
7か月前
株式会社日立製作所
鉄道車両
1か月前
ヤマハ発動機株式会社
無人搬送車
7か月前
ヤマハ発動機株式会社
無人搬送車
5か月前
日本製鉄株式会社
鉄道車両
8か月前
オークラ輸送機株式会社
無人搬送車
1か月前
株式会社 空スペース
跨座式モノレールシステム
10か月前
日本車輌製造株式会社
車両用ヒップレスト
2か月前
続きを見る
他の特許を見る