TOP
|
特許
|
意匠
|
商標
特許ウォッチ
Twitter
他の特許を見る
公開番号
2025172392
公報種別
公開特許公報(A)
公開日
2025-11-26
出願番号
2024077878
出願日
2024-05-13
発明の名称
障害物検知装置
出願人
日本信号株式会社
代理人
個人
,
個人
主分類
B61L
29/00 20060101AFI20251118BHJP(鉄道)
要約
【課題】レーザ光の反射率が低い障害物の検知漏れを抑制することが可能な障害物検知装置を提供する。
【解決手段】障害物検知装置10は、レーザ測距センサ11と、入射光を再帰反射するリフレクタ13と、入射光を面法線に対して対称な方向に反射する第1~第5ミラー15a~15eとを含み、レーザ測距センサ11から出射されたレーザ光が監視領域MAを通過し且つ第1~第5ミラー15a~15eを介してリフレクタ13に導かれるように構成され、前記レーザ光のリフレクタ13による反射光がレーザ測距センサ11によって受光されない場合に障害物検知信号を出力する。
【選択図】図2
特許請求の範囲
【請求項1】
レーザ測距センサと、入射光を再帰反射するリフレクタと、入射光を面法線に対して対称な方向に反射する一つ以上のミラーとを含み、前記レーザ測距センサから出射されたレーザ光が監視領域を通過し且つ前記一つ以上のミラーを介して前記リフレクタに導かれるように構成され、前記レーザ光の前記リフレクタによる反射光が前記レーザ測距センサによって受光されない場合に障害物検知信号を出力する、障害物検知装置。
続きを表示(約 640 文字)
【請求項2】
前記レーザ光の反射位置までの距離が前記レーザ光の前記一つ以上のミラーを介した前記リフレクタまでの伝搬経路の距離に一致しない場合に前記レーザ光の前記リフレクタによる反射光が前記レーザ測距センサによって受光されないと判定する、請求項1に記載の障害物検知装置。
【請求項3】
前記レーザ測距センサと前記リフレクタは、前記監視領域を挟んで互いに斜向かいに配置され、
前記一つ以上のミラーは、前記監視領域に対して前記レーザ測距センサと同じ側に配置された一つ以上のミラーと、前記監視領域に対して前記リフレクタと同じ側に配置された一つ以上のミラーとを含む、
請求項1に記載の障害物検知装置。
【請求項4】
前記レーザ測距センサと前記リフレクタは、前記監視領域を挟んだ一方側に配置され、
前記一つ以上のミラーは、前記監視領域を挟んだ他方側に配置されたミラーであるか、又は、前記一方側における前記レーザ測距センサと前記リフレクタの間に配置された一つ以上のミラーと前記他方側に配置された二つ以上のミラーとを含む、
請求項1に記載の障害物検知装置。
【請求項5】
前記レーザ測距センサは、前記監視領域を含む所定範囲でレーザ光を走査して前記レーザ光の反射光を受光するように構成され、前記レーザ光の反射位置が前記監視領域内にある場合に障害物検知信号を出力する、請求項1~4のいずれか一つに記載の障害物検知装置。
発明の詳細な説明
【技術分野】
【0001】
本発明は、障害物検知装置に関する。
続きを表示(約 1,500 文字)
【背景技術】
【0002】
障害物検知装置の一例として特許文献1に記載された障害物検知装置が知られている。特許文献1に記載された障害物検知装置は、検出装置を含み、検出装置は、所定の角度範囲でスキャニングするレーザ光の反射光を受光することで、踏切内の設定エリア内、すなわち、監視領域内に人や車両等の障害物があるか否かを検知するように構成されている。
【先行技術文献】
【特許文献】
【0003】
特開平11-227608号公報
【発明の概要】
【発明が解決しようとする課題】
【0004】
しかし、特許文献1に記載された障害物検知装置では、暗色や黒色の車両などレーザ光の反射率が低い物体が設置エリア(監視領域)内にある場合でも当該物体からの反射光がほとんど受光されないことが起こり得る。その結果、特許文献1に記載された障害物検知装置では、レーザ光の反射率が低い障害物の検知漏れが発生するおそれがあった。
【0005】
そこで、本発明は、レーザ光の反射率が低い障害物の検知漏れを抑制することが可能な障害物検知装置を提供することを目的とする。
【課題を解決するための手段】
【0006】
本発明の一側面によると、新規な障害物検知装置が提供される。提供される障害物検知装置は、レーザ測距センサと、入射光を面法線に対して対称な方向に反射する一つ以上のミラーと、入射光を再帰反射するリフレクタとを含み、前記レーザ測距センサから出射されたレーザ光が監視領域を通過し且つ前記一つ以上のミラーを介して前記リフレクタに導かれるように構成され、前記レーザ光の前記リフレクタによる反射光が前記レーザ測距センサによって受光されない場合に障害物検知信号を出力する。
【発明の効果】
【0007】
本発明によれば、レーザ光の反射率が低い障害物の検知漏れを抑制することが可能な障害物検知装置を提供することができる。
【図面の簡単な説明】
【0008】
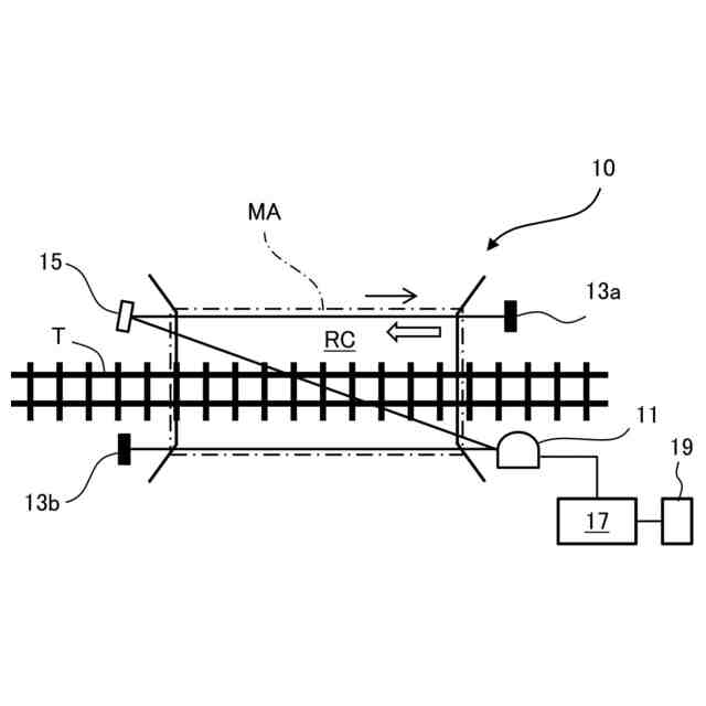
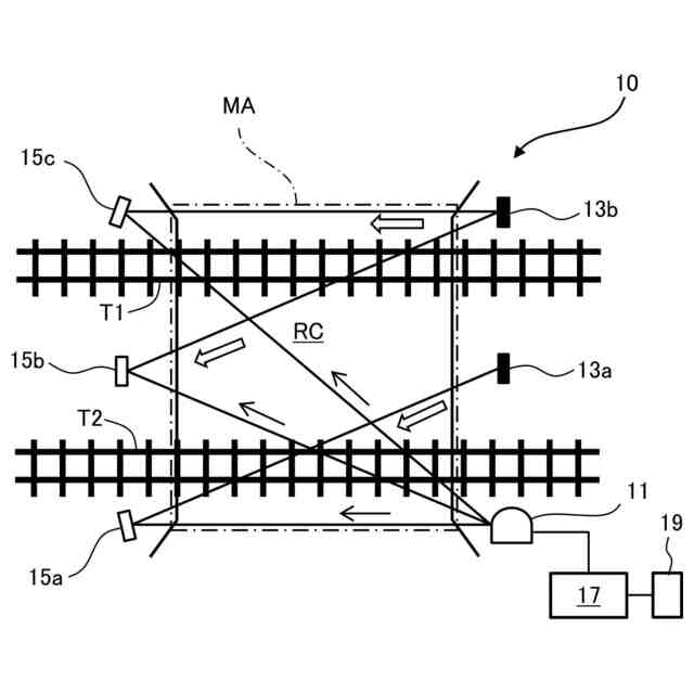
実施形態に係る障害物検知装置の概略平面図である。
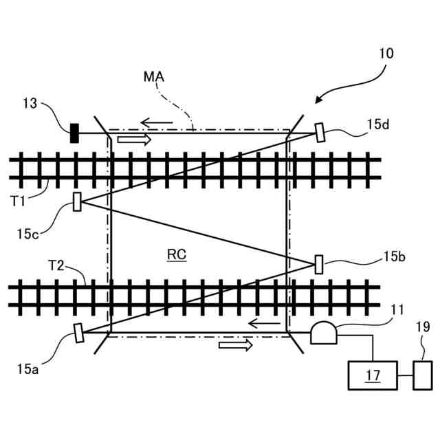
レーザ測距センサから第1ミラーの方向に出射されたレーザ光の伝搬経路を示す図である。
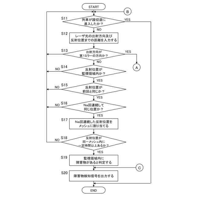
障害物検知装置(の処理部)が行う障害物判定処理の一例を示すフローチャートである。
障害物検知装置(の処理部)が行う障害物判定処理の一例を示すフローチャートである。
障害物検知装置の変形例を示す図である。
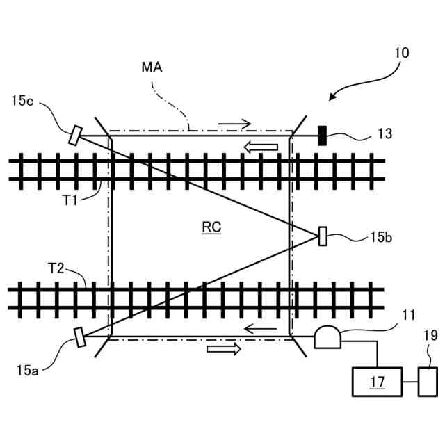
障害物検知装置の変形例を示す図である。
障害物検知装置の変形例を示す図である。
障害物検知装置の変形例を示す図である。
【発明を実施するための形態】
【0009】
以下、添付図面を参照して本発明の実施形態を説明する。
【0010】
図1は、本発明の実施形態に係る障害物検知装置10の概略平面図である。実施形態に係る障害物検知装置10は、踏切道RCに対して設定された監視領域MA内に障害物があるか否かを判定し、障害物があると判定した場合又は障害物がある可能性があると判定した場合に障害物検知信号を出力するように構成されている。特に限定されないが、本実施形態において、監視領域MAは、踏切道RCの全部又は大部分を含む平面視で略矩形状の領域として設定され、監視領域MAの4つの角部C1~C4は、踏切道RCの外側に位置している。なお、図1におけるT1、T2は、列車が走行する線路を示している。
(【0011】以降は省略されています)
この特許をJ-PlatPat(特許庁公式サイト)で参照する
関連特許
日本信号株式会社
検査装置
28日前
日本信号株式会社
制御システム
20日前
日本信号株式会社
開閉システム
15日前
日本信号株式会社
障害物検知装置
1日前
日本信号株式会社
障害物検知装置
1日前
日本信号株式会社
距離画像センサ
20日前
日本信号株式会社
可視光通信システム
1か月前
日本信号株式会社
検査装置及び検査方法
29日前
日本信号株式会社
列車接近警報システム
1か月前
日本信号株式会社
運行管理システム及び方法
1か月前
日本信号株式会社
地上子及び地上子の製造方法
7日前
日本信号株式会社
地中レーダ装置及びその埋設物探査方法
29日前
日本信号株式会社
連動装置及び連動装置用の鎖錠解錠プログラム
15日前
日本信号株式会社
距離画像装置、距離画像の補正方法及び画像処理プログラム
28日前
日本信号株式会社
検査装置
11か月前
日本信号株式会社
検査装置
28日前
個人
車両及び走行システム
7か月前
日本信号株式会社
ホーム柵
3か月前
日本信号株式会社
ホーム柵
2か月前
近畿車輌株式会社
耐火床構造
1か月前
日本信号株式会社
ホーム柵装置
7か月前
日本車輌製造株式会社
鉄道車両
1か月前
近畿車輌株式会社
鉄道車両の床構造
11か月前
カヤバ株式会社
鉄道車両用制振装置
11か月前
川崎車両株式会社
鉄道車両用パネル
9か月前
日本車輌製造株式会社
台車組立装置
5か月前
近畿車輌株式会社
鉄道車両の床構造
11か月前
ナブテスコ株式会社
ホームドア装置
3か月前
日本信号株式会社
列車接近警報装置
3か月前
保線機器整備株式会社
保線用カート
9か月前
近畿車輌株式会社
鉄道車両の床構造
11か月前
日本信号株式会社
物体検知装置
7か月前
日本ケーブル株式会社
索道の支索引留め装置
3か月前
株式会社東芝
台車搬送装置
1か月前
株式会社ダイフク
搬送車
6か月前
日本信号株式会社
ホームドア制御装置
4か月前
続きを見る
他の特許を見る