TOP
|
特許
|
意匠
|
商標
特許ウォッチ
Twitter
他の特許を見る
公開番号
2025050506
公報種別
公開特許公報(A)
公開日
2025-04-04
出願番号
2023159338
出願日
2023-09-25
発明の名称
ホーム柵装置
出願人
日本信号株式会社
代理人
個人
主分類
B61B
1/02 20060101AFI20250328BHJP(鉄道)
要約
【課題】扉が外力の影響を受けにくくしつつ、扉の先端が乗客に接触しても問題が発生しにくいホーム柵装置を提供すること。
【解決手段】
第1実施形態に係るホーム柵装置100は、第1ホーム柵本体30Aの端部32から側方に進退する第1扉体20Aと、隣の第2ホーム柵本体30Bの第1ホーム柵本体30A側の端部33から側方に進退する第2扉体20Bと、第1扉体20Aの第1端81と第2扉体20Bの第2端82とを当接させる閉止時に第1扉体20Aの第1端81に収納された状態から突出した状態に変化する突起部85aと、第2扉体20Bの第2端82に形成され突起部85aの挿入が可能な受容孔85bとを有する連結部84とを備える。
【選択図】図2
特許請求の範囲
【請求項1】
第1ホーム柵本体の端部から側方に進退する第1扉体と、
隣の第2ホーム柵本体の前記第1ホーム柵本体側の端部から側方に進退する第2扉体と、
前記第1扉体の第1端と前記第2扉体の第2端とを当接させる閉止時に前記第1扉体の前記第1端に収納された状態から突出した状態に変化する突起部と、前記第2扉体の前記第2端に形成され前記突起部の挿入が可能な受容孔とを有する連結部と、
を備えるホーム柵装置。
続きを表示(約 610 文字)
【請求項2】
前記突起部は、前記第1扉体と前記第2扉体とを閉止させる動作によって突出した状態に駆動される、請求項1に記載のホーム柵装置。
【請求項3】
前記第1扉体の前記第1端は、前記突起部の根元を支持する支持部材と、前記突起部を通す開口を有し前記第2端に押圧されて後退する可動カバーと、前記可動カバーを前記第2端の方向に付勢する付勢部材とを有する、請求項2に記載のホーム柵装置。
【請求項4】
前記第1扉体の前記第1端は、前記突起部に対して相対的に固定され、後退した前記可動カバーを収納する固定カバーを有する、請求項3に記載のホーム柵装置。
【請求項5】
前記連結部を2つ含み、
一方の連結部は、前記第1扉体と前記第2扉体とにおいて上部に形成され、
他方の連結部は、前記第1扉体と前記第2扉体とにおいて下部に形成される、請求項1に記載のホーム柵装置。
【請求項6】
前記第1扉体と前記第2扉体の一方の先端領域に設けられて、前記第1端と前記第2端とを互いに平行にする屈曲部を備える、請求項1に記載のホーム柵装置。
【請求項7】
前記第1扉体の本体と前記第2扉体の本体とは、所定の傾斜角を成して配置され、
前記屈曲部は、前記第1扉体の本体と前記第2扉体の本体との傾斜角度を相殺する、請求項6に記載のホーム柵装置。
発明の詳細な説明
【技術分野】
【0001】
本発明は、一対のホーム柵本体の端部から同期して進退することによって開閉動作する一対の扉体を有するホーム柵装置に関する。
続きを表示(約 1,500 文字)
【背景技術】
【0002】
ホーム柵装置として、例えば、対向する一対の扉の先端に互いに嵌り合う凹凸形状が設けられており、扉が閉じているときに扉に垂直な方向の押圧が加わっても扉が開かないようにしたものが公知となっている(特許文献1)。凹凸形状として、例えば、凸形状の先端には、矢じり状のフックが形成され、凹形状の先端内縁には、互いに対向する一対のフックが形成されている(段落[0017]~[0019]、図1~6等)。
【0003】
特許文献1に記載されたホーム柵装置では、フックのような突起が扉の先端に形成されるので、扉の先端が乗客に接触しても問題が発生しないような対策が必要となる。
【先行技術文献】
【特許文献】
【0004】
特開2014-151723号公報
【発明の概要】
【0005】
本発明は、扉が外力の影響を受けにくくしつつ、扉の先端が乗客に接触しても問題が発生しにくいホーム柵装置を提供することを目的とする。
【0006】
上記目的を達成するため、本発明に係るホーム柵装置は、第1ホーム柵本体の端部から側方に進退する第1扉体と、隣の第2ホーム柵本体の第1ホーム柵本体側の端部から側方に進退する第2扉体と、第1扉体の第1端と第2扉体の第2端とを当接させる閉止時に第1扉体の第1端に収納された状態から突出した状態に変化する突起部と、第2扉体の第2端に形成され突起部の挿入が可能な受容孔とを有する連結部とを備える。
【0007】
上記ホーム柵装置によれば、突起部が、第1扉体の第1端と第2扉体の第2端とを当接させる閉止時に第1扉体の第1端に収納された状態から突出した状態に変化し、第2扉体の第2端に形成された受容孔に挿入されるので、開放時に突起部が収納された状態となって通過する人や物と接触することを回避することができる。さらに、閉止時に突出した状態の突起部が受容孔に挿入されて第1端と第2端とが連結され、閉止された扉体が外力の影響を受けにくくなり、ホーム柵本体によって扉体を支持する際の負担軽減を図ることができる。
【図面の簡単な説明】
【0008】
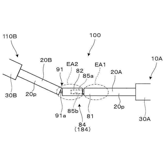
第1実施形態のホーム柵装置を説明する全体的な概念図である。
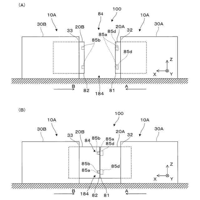
(A)は、ホーム柵装置の開放状態を説明する正面図であり、(B)は、ホーム柵装置の閉止状態を説明する正面図である。
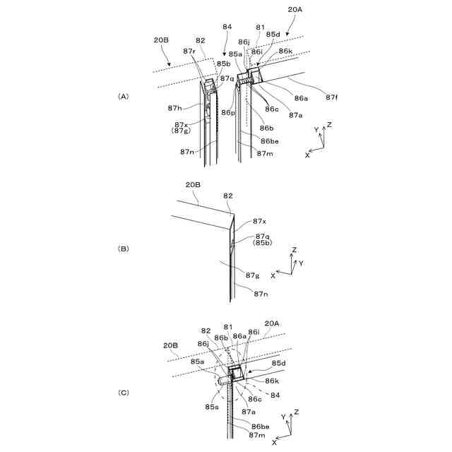
(A)は、第1扉体の第1端と第2扉体の第2端とに設けられている連結部について開放状態を説明する一部破断斜視図であり、(B)は、第2扉体の第2端の外観を説明する斜視図であり、(C)は、第1扉体の第1端に設けられている連結部について閉止状態を説明する一部破断斜視図である。
突起部が受容孔に保持された状態を示す概念図である。
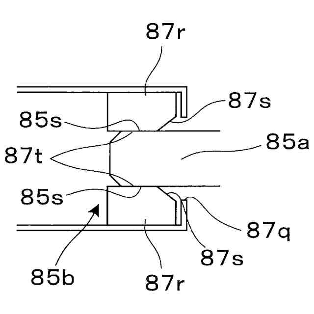
図4に示す受容孔の変形例を説明する概念図である。
図5に示す受容孔の変形例を説明する概念図である。
第2実施形態のホーム柵装置を説明する平面図である。
【発明を実施するための形態】
【0009】
〔第1実施形態〕
以下、図面を参照して、第1実施形態のホーム柵装置について説明する。
【0010】
図1は、ホーム柵装置100を説明する概念図である。図1は、ホーム柵装置100をホームPF側から見た図であり、ホーム柵装置100のホームPF側の外装パネルを除いた状態を示す。
(【0011】以降は省略されています)
この特許をJ-PlatPat(特許庁公式サイト)で参照する
関連特許
日本信号株式会社
検査装置
9日前
日本信号株式会社
制御システム
1日前
日本信号株式会社
距離画像センサ
1日前
日本信号株式会社
検査装置及び検査方法
10日前
日本信号株式会社
運行管理システム及び方法
15日前
日本信号株式会社
地中レーダ装置及びその埋設物探査方法
10日前
日本信号株式会社
距離画像装置、距離画像の補正方法及び画像処理プログラム
9日前
日本信号株式会社
ホーム柵
2か月前
日本信号株式会社
ホーム柵
2か月前
個人
車両及び走行システム
6か月前
日本信号株式会社
検査装置
9日前
日本信号株式会社
検査装置
10か月前
近畿車輌株式会社
耐火床構造
1か月前
日本車輌製造株式会社
鉄道車両
1か月前
日本信号株式会社
ホーム柵装置
7か月前
日本信号株式会社
列車接近警報装置
3か月前
保線機器整備株式会社
保線用カート
9か月前
ナブテスコ株式会社
ホームドア装置
3か月前
近畿車輌株式会社
鉄道車両の床構造
11か月前
近畿車輌株式会社
鉄道車両の床構造
11か月前
カヤバ株式会社
鉄道車両用制振装置
10か月前
近畿車輌株式会社
鉄道車両の床構造
11か月前
日本車輌製造株式会社
台車組立装置
5か月前
川崎車両株式会社
鉄道車両用パネル
8か月前
日本信号株式会社
物体検知装置
7か月前
日本信号株式会社
ホームドア制御装置
4か月前
株式会社ダイフク
搬送車
5か月前
株式会社東芝
台車搬送装置
1か月前
日本ケーブル株式会社
索道の支索引留め装置
3か月前
日本信号株式会社
ホーム安全システム
7か月前
日本信号株式会社
踏切道監視システム
11か月前
ヤマハ発動機株式会社
無人搬送車
5か月前
ヤマハ発動機株式会社
無人搬送車
7か月前
ヤマハ発動機株式会社
無人搬送車
7か月前
株式会社日立製作所
鉄道車両
1か月前
ヤマハ発動機株式会社
無人搬送車
7か月前
続きを見る
他の特許を見る