TOP
|
特許
|
意匠
|
商標
特許ウォッチ
Twitter
他の特許を見る
公開番号
2025147412
公報種別
公開特許公報(A)
公開日
2025-10-07
出願番号
2024047655
出願日
2024-03-25
発明の名称
鉄道車両
出願人
日本車輌製造株式会社
代理人
個人
主分類
B61D
37/00 20060101AFI20250930BHJP(鉄道)
要約
【課題】車内に護身用具が組み込まれた鉄道車両を提供すること。
【解決手段】一端側が持ち手側となる棒状のハンドル部およびハンドル部の他端側から2方向に分かれた押当て部が形成された護身用手摺部材21と、その護身用手摺部材21を車内における手摺として使用可能な位置に取外しが可能な状態で固定する固定構造32,35,36と、を有し、例えば、護身用手摺部材は21、車体幅方向を正面として複数の乗客が座ることができるロングシート3に設けられた座席用スタンションポールであり、固定構造は、ロングシート3の上部に設けられた荷物棚15にハンドル部の持ち手側端部を引掛ける上側固定構造と、ロングシート3のフレーム301に固定された支持部材35に押当て部側を拘束する下側固定構造を備える鉄道車両。
【選択図】図2
特許請求の範囲
【請求項1】
一端側が持ち手側となる棒状のハンドル部および前記ハンドル部の他端側から2方向に分かれた押当て部が形成された護身用手摺部材と、
前記護身用手摺部材を車内における手摺として使用可能な位置に取外しが可能な状態で固定する固定構造と、
を有する鉄道車両。
続きを表示(約 870 文字)
【請求項2】
前記護身用手摺部材は、車内の所定箇所に前記ハンドル部が縦方向になるよう取り付けられた縦手摺または、車内の所定箇所に前記ハンドル部が横方向になるよう取り付けられた横手摺である請求項1に記載の鉄道車両。
【請求項3】
前記護身用手摺部材は、車体幅方向を正面として複数の乗客が座ることができるロングシートに設けられた座席用スタンションポールであり、
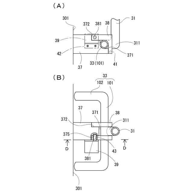
前記固定構造は、前記ロングシートの上部に設けられた荷物棚に前記ハンドル部の持ち手側端部を引掛ける上側固定構造と、前記ロングシートのフレームに固定された支持部材に前記押当て部側を拘束する下側固定構造を備える請求項1に記載の鉄道車両。
【請求項4】
前記上側固定構造は、前記荷物棚の最前部に位置する横パイプに嵌合孔が形成され、前記座席用スタンションポールのハンドル部の持ち手側端部に、前記横パイプの外径に合わせた湾曲面の当て板に前記嵌合孔に嵌まり込む突起が形成されたものである請求項3に記載の鉄道車両。
【請求項5】
前記下側固定構造は、前記支持部材に、前記座席用スタンションポールの押当て部側が搭載される受け部が形成され、前記受け部に搭載された前記座席用スタンションポールの押当て部側を拘束する固定カバーが設けられた請求項3に記載の鉄道車両。
【請求項6】
前記下側固定構造は、前記固定カバーに対して車内の所定箇所に設けられたロック解錠ボタンの操作により解錠する電磁ロックを用いたロック機構が設けられた請求項5に記載の鉄道車両。
【請求項7】
前記護身用手摺部材は、車内の床と天井とに前記ハンドル部が縦方向になるよう取り付けられた床固定スタンションポールである請求項1に記載の鉄道車両。
【請求項8】
前記護身用手摺部材は、車内側面の所定高さで前記ハンドル部が横方向になるように取り付けられ、前記ハンドル部が横手摺となり、前記押当て部が縦手摺となる請求項1に記載の鉄道車両。
発明の詳細な説明
【技術分野】
【0001】
本発明は、護身用具を兼ねた手摺が車内に設けられた鉄道車両に関する。
続きを表示(約 1,900 文字)
【背景技術】
【0002】
暴漢など不審者に対峙する護身用具の一つに、一本の棒部材の先端部が2方向へと広げられた刺股がある。その刺股は、最近では侵入者や不審人物への備えとして学校や各種施設などに配置されている。こうした不審者などに対する護身用具の必要性は、鉄道関連施設にも求められており、駅構内や鉄道車両の車内への設置が考えられる。この点、下記特許文献1には、駅構内に配置する刺股に梯子としての機能を加えた構成の発明が開示されている。
【先行技術文献】
【特許文献】
【0003】
特開2007-017077号公報
【発明の概要】
【発明が解決しようとする課題】
【0004】
しかしながら、駅構内であれば刺股などのような護身用具を配置しておく場所は様々あるものの、車内には用具箱などを配置するわけにもいかず、また護身用具そのものを例えば車内の側面に取り付け、或いはシートの下に配置するわけにもいかない。従って、走行中の車内に暴漢など不審者が出た場合、現状では車両を最寄り駅に緊急停車させ、その後、駅員などが刺股をもってその不審者に対峙するしかなかった。しかし、最寄り駅に停車するまでに時間がかかってしまうような場合は、車内において身を護らなければならず、鉄道車両における護身用具の設置が望まれる。
【0005】
そこで、本発明は、かかる課題を解決すべく、護身用具を兼ねた手摺が車内に設けられた鉄道車両を提供することを目的とする。
【課題を解決するための手段】
【0006】
本発明に係る鉄道車両は、一端側が持ち手側となる棒状のハンドル部および前記ハンドル部の他端側から2方向に分かれた押当て部が形成された護身用手摺部材と、前記護身用手摺部材を車内における手摺として使用可能な位置に取外しが可能な状態で固定する固定構造と、を有する。
【発明の効果】
【0007】
前記構成によれば、護身用手摺部材が車内に固定されている場合には、それを手摺として使用することができ、車内に暴漢などの不審者が出現した場合には、その護身用手摺部材を取り外すことにより、棒状のハンドル部の一端側を持ち手側として持ち、ハンドル部の他端側の2方向に分かれた押当て部を不審者に向けて刺股のように護身用具として使用することができる。
【図面の簡単な説明】
【0008】
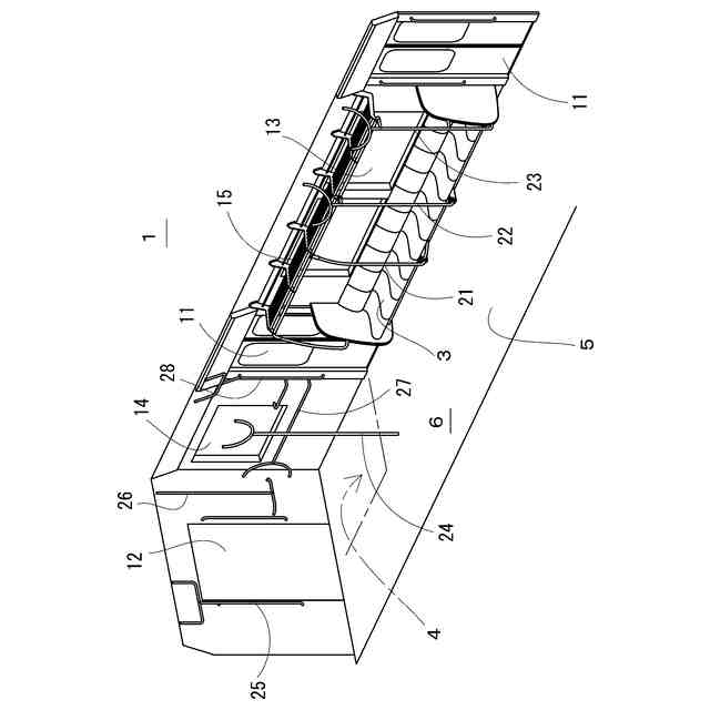
鉄道車両の一実施形態について車内の一部を示した斜視図である。
車内における鉄道車両の一部分(ロングシート部分)を示した斜視図である。
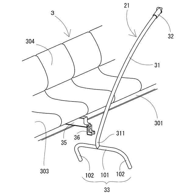
取り外された状態の座席用スタンションポールを示した斜視図である。
座席用スタンションポールの上側固定構造を(A)タイプと(B)タイプとに分けて示した側面図である。
座席用スタンションポールの下側固定構造を示した、取り外し状態(A)と固定状態(B)との斜視図である。
座席用スタンションポールの下側固定構造に電磁ロック機構を加えた一部断面図であり、側面図(A)と平面図(B)が示されている。
座席用スタンションポールの変形例を示した斜視図である。
座席用スタンションポールの変形例を車内に取り付けた状態を示した側面図である。
【発明を実施するための形態】
【0009】
本発明に係る鉄道車両の一実施形態について、図面を参照しながら以下に説明する。図1は、本実施形態の鉄道車両について、車内の一部を示した斜視図である。鉄道車両の座席は、座った乗客が車体幅方向(枕木方向)を正面とするロングシートと、車体前後方向(レール方向)を正面とするクロスシートとがある。そうした中で本実施形態ではロングシート3が搭載された鉄道車両1を例として説明する。そのロングシート3は、側壁から突出するようにした片持ち式シートであり、座席下が空間になって床清掃に優れた構成になっている。
【0010】
鉄道車両1では、車体の側面であってロングシート3を挟む位置に、乗客が出入りするための乗降口があり、左右にスライドする2枚の乗降扉11が設けられている。また、車体前後方向の妻面には車両間の貫通路を仕切るため貫通扉12が設けられている。ところで、複数の鉄道車両によって編成された列車の一部には、車内端部にシートを設けないで車椅子やベビーカーが入りやすいようにしたフリースペースが設けられていることもある。鉄道車両1は、そうした車両の一例であり、妻面に近い乗降扉11付近にフリースペース4が設けられている。
(【0011】以降は省略されています)
この特許をJ-PlatPat(特許庁公式サイト)で参照する
関連特許
日本信号株式会社
検査装置
1か月前
日本信号株式会社
ホーム柵
3か月前
日本信号株式会社
検査装置
11か月前
日本信号株式会社
ホーム柵
3か月前
個人
車両及び走行システム
7か月前
近畿車輌株式会社
耐火床構造
2か月前
日本車輌製造株式会社
鉄道車両
1か月前
日本信号株式会社
ホーム柵装置
8か月前
近畿車輌株式会社
鉄道車両の床構造
12か月前
近畿車輌株式会社
鉄道車両の床構造
12か月前
近畿車輌株式会社
鉄道車両の床構造
12か月前
カヤバ株式会社
鉄道車両用制振装置
11か月前
日本信号株式会社
列車接近警報装置
4か月前
ナブテスコ株式会社
ホームドア装置
3か月前
川崎車両株式会社
鉄道車両用パネル
9か月前
保線機器整備株式会社
保線用カート
9か月前
日本車輌製造株式会社
台車組立装置
6か月前
株式会社東芝
台車搬送装置
2か月前
日本信号株式会社
物体検知装置
8か月前
日本ケーブル株式会社
索道の支索引留め装置
4か月前
日本信号株式会社
ホームドア制御装置
4か月前
日本信号株式会社
ホーム安全システム
8か月前
株式会社ダイフク
搬送車
6か月前
日本信号株式会社
踏切道監視システム
12か月前
ヤマハ発動機株式会社
無人搬送車
6か月前
ヤマハ発動機株式会社
無人搬送車
8か月前
株式会社ダイフク
搬送設備
7か月前
株式会社日立製作所
鉄道車両
2か月前
日本信号株式会社
障害物検知装置
7日前
日本信号株式会社
列車接近警報システム
1か月前
ヤマハ発動機株式会社
無人搬送車
8か月前
日本信号株式会社
障害物検知装置
7日前
ヤマハ発動機株式会社
無人搬送車
8か月前
日本車輌製造株式会社
車両用ヒップレスト
3か月前
オークラ輸送機株式会社
無人搬送車
2か月前
株式会社 空スペース
跨座式モノレールシステム
10か月前
続きを見る
他の特許を見る