TOP
|
特許
|
意匠
|
商標
特許ウォッチ
Twitter
他の特許を見る
10個以上の画像は省略されています。
公開番号
2025155127
公報種別
公開特許公報(A)
公開日
2025-10-14
出願番号
2024058598
出願日
2024-04-01
発明の名称
建設機械
出願人
日本車輌製造株式会社
代理人
個人
,
個人
主分類
E02F
9/16 20060101AFI20251006BHJP(水工;基礎;土砂の移送)
要約
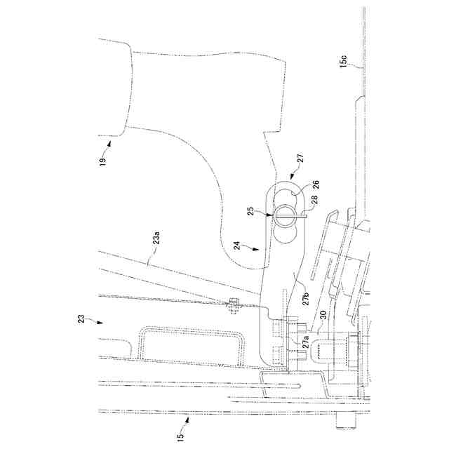
【課題】簡単な操作で踏み部材の位置調整が可能なフットレストを備えた建設機械を提供する。
【解決手段】フットレストは、円形断面を有する軸状の踏み部材25と、運転席前方の床上に設けられ、踏み部材の両端部を挿通支持する支持孔26が設けられた左右一対の支持腕27と、支持孔に支持された状態の踏み部材に対して軸まわりの回転を与える操作部とを有し、踏み部材の両端部は、それぞれ円形断面の外周を2箇所切除して互いに平行な2つの平面部25a,25aが設けられ、支持孔の輪郭形状は、円形断面の直径Dに対応した直径を有する複数の円(第1円,第2円,第3円)の円周を一部重複させて運転席前後方向に配列し、隣り合う円の円周が連なるように、互いに平行な上下2つの直線を介して連接させた輪郭形状であり、上下2つの直線間の距離Lは、2つの平面部間の距離Wよりも大きく、かつ、円形断面の直径Dよりも小さい。
【選択図】図6
特許請求の範囲
【請求項1】
下部走行体と、
該下部走行体の上部に旋回可能に設けられた上部旋回体と、
該上部旋回体の前部に設けられた作業装置と、
前記上部旋回体に搭載され、内部に運転席及び該運転席に座ったオペレータが足を載せるフットレストが設けられたキャブと、
を備えた建設機械において、
前記フットレストは、
円形断面を有する軸状の踏み部材と、
前記運転席前方の床上に設けられ、前記踏み部材の両端部を挿通支持する支持孔が設けられた左右一対の支持腕と、
前記支持孔に支持された状態の前記踏み部材に対して軸まわりの回転を与える操作部と、を有し、
前記踏み部材の両端部は、それぞれ前記円形断面の外周を2箇所切除して互いに平行な2つの平面部が設けられ、
前記支持孔の輪郭形状は、前記円形断面の直径に対応した直径を有する複数の円の円周を一部重複させて運転席前後方向に配列し、隣り合う円の円周が連なるように、互いに平行な上下2つの直線を介して連接させた輪郭形状であり、
前記上下2つの直線間の距離は、前記2つの平面部間の距離よりも大きく、かつ、前記円形断面の直径よりも小さいことを特徴とする建設機械。
続きを表示(約 350 文字)
【請求項2】
前記操作部は、前記平面部と平行な板面を有する一対の板片を前記踏み部材の左右両端部に固着してなり、
前記板片は、前記踏み部材の軸端面から軸方向へ突出する軸方向突出部と、前記踏み部材の外周面から径方向へ突出する径方向突出部とを有し、前記床の床面に対して前記板面を垂直にした状態で、前記径方向突出部が前記支持腕の一側部に当接して前記踏み部材の軸方向の移動を規制することを特徴とする請求項1記載の建設機械。
【請求項3】
前記径方向突出部は、前記踏み部材の径方向一方側の外周面のみから突出することを特徴とする請求項2記載の建設機械。
【請求項4】
前記踏み部材は、丸パイプ材で形成されることを特徴とする請求項1乃至3のいずれか1項記載の建設機械。
発明の詳細な説明
【技術分野】
【0001】
本発明は、建設機械に関し、詳しくは、オペレータの足を載せるフットレストを備えた建設機械に関する。
続きを表示(約 1,900 文字)
【背景技術】
【0002】
杭打機やクレーン、油圧ショベルなどの建設機械のキャブ内には、運転席前方の床上にフットレストが設けられており、運転席に着座したオペレータがその両足を載せた状態で各種操作を行うようになっている(例えば、特許文献1参照)。
【先行技術文献】
【特許文献】
【0003】
特開2018-90032号公報
【発明の概要】
【発明が解決しようとする課題】
【0004】
しかしながら、オペレータの脚長には長短の個人差がある。そのため、比較的小柄なオペレータの場合、フットレストに足を載せるとき、足が踏み部材(踏面部材)に届かないかあるいは足裏が十分当接できないという不都合があった。
【0005】
そこで本発明は、簡単な操作で踏み部材の位置調整が可能なフットレストを備えた建設機械を提供することを目的としている。
【課題を解決するための手段】
【0006】
上記目的を達成するため、本発明の建設機械は、下部走行体と、該下部走行体の上部に旋回可能に設けられた上部旋回体と、該上部旋回体の前部に設けられた作業装置と、前記上部旋回体に搭載され、内部に運転席及び該運転席に座ったオペレータが足を載せるフットレストが設けられたキャブと、を備えた建設機械において、前記フットレストは、円形断面を有する軸状の踏み部材と、前記運転席前方の床上に設けられ、前記踏み部材の両端部を挿通支持する支持孔が設けられた左右一対の支持腕と、前記支持孔に支持された状態の前記踏み部材に対して軸まわりの回転を与える操作部と、を有し、前記踏み部材の両端部は、それぞれ前記円形断面の外周を2箇所切除して互いに平行な2つの平面部が設けられ、前記支持孔の輪郭形状は、前記円形断面の直径に対応した直径を有する複数の円の円周を一部重複させて運転席前後方向に配列し、隣り合う円の円周が連なるように、互いに平行な上下2つの直線を介して連接させた輪郭形状であり、前記上下2つの直線間の距離は、前記2つの平面部間の距離よりも大きく、かつ、前記円形断面の直径よりも小さいことを特徴としている。
【0007】
また、前記操作部は、前記平面部と平行な板面を有する一対の板片を前記踏み部材の左右両端部に固着してなり、前記板片は、前記踏み部材の軸端面から軸方向へ突出する軸方向突出部と、前記踏み部材の外周面から径方向へ突出する径方向突出部とを有し、前記床の床面に対して前記板面を垂直にした状態で、前記径方向突出部が前記支持腕の一側部に当接して前記踏み部材の軸方向の移動を規制することを特徴としている。
【0008】
さらに、前記径方向突出部は、前記踏み部材の径方向一方側の外周面のみから突出することを特徴としている。加えて、前記踏み部材は、丸パイプ材で形成されることを特徴としている。
【発明の効果】
【0009】
本発明の建設機械によれば、運転席前方の床上に設けたフットレストにおいて、円形断面の踏み部材に互いに平行な2つの平面部を設け、踏み部材を支持する支持孔の輪郭形状を、円形断面の直径に対応した直径を有する複数の円の円周を一部重複させて運転席前後方向に配列し、隣り合う円の円周が連なるように、互いに平行な上下2つの直線を介して連接させた輪郭形状としているので、輪郭を形成する複数の円のうちのいずれかを選択して踏み部材の支持位置を適宜に設定することができる。しかも、上下2つの直線間の距離が、2つの平面部間の距離よりも大きく、かつ、円形断面の直径よりも小さいので、平面部が床の床面と平行になるように踏み部材を回動させるだけの操作で、現在位置にある踏み部材を隣の位置へと渡すことができる。すなわち、簡単な操作で踏み部材の位置調整が可能なフットレストを備えた建設機械が実現できる。
【図面の簡単な説明】
【0010】
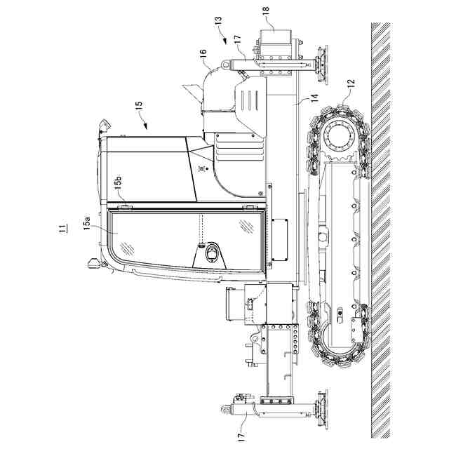
本発明の一形態例を示す杭打機の側面図である。
同じく要部側面図である。
同じく要部平面図である。
図2のIV-IV矢視図である。
図4のV-V矢視図である。
図4のVI-VI断面図である。
同じく要部拡大斜視図である。
同じく踏み部材の位置調整手順の説明図である。
同じくフットレストの使用状態(第2支持位置)を示す図である。
同じくフットレストの使用状態(第3支持位置)を示す図である。
同じくフットレストにおいて踏み部材を取り外した状態を示す図である。
【発明を実施するための形態】
(【0011】以降は省略されています)
この特許をJ-PlatPat(特許庁公式サイト)で参照する
関連特許
日本車輌製造株式会社
支持ユニット、分岐装置および分岐装置の施工方法
3日前
個人
バケット
1か月前
個人
建物の不同沈下の修正方法
1か月前
鹿島建設株式会社
接続方法
12日前
株式会社大林組
操縦装置
1か月前
株式会社富田製作所
継手部構造
1か月前
千代田工営株式会社
回転貫入杭
1か月前
株式会社郷土開発
傾斜地の切土工法
11日前
株式会社熊谷組
山留壁用親杭
1か月前
ウエダ産業株式会社
アタッチメント
3日前
ヤンマーホールディングス株式会社
作業機械
1か月前
ヤンマーホールディングス株式会社
作業機械
1か月前
株式会社クボタ
作業機
11日前
日立建機株式会社
作業機械
1か月前
日立建機株式会社
作業機械
24日前
日本車輌製造株式会社
建設機械
1か月前
日立建機株式会社
作業車両
1か月前
日立建機株式会社
建設機械
25日前
FKS株式会社
擁壁及び擁壁の築造方法
1か月前
株式会社三誠
建物の免震構造
1か月前
鹿島建設株式会社
接続方法および接続構造
1か月前
株式会社次世代一次産業実践所
登山道の施工装置
1か月前
山形新興株式会社
建築物の基礎及び基礎成形型
1か月前
日本車輌製造株式会社
杭打機の制御システム
1か月前
日本車輌製造株式会社
杭打機の表示システム
27日前
ナブテスコ株式会社
ドーザブレード駆動機構
24日前
個人
アンカーボルト支持装置
1か月前
株式会社大林組
施工支援装置及び施工支援方法
1か月前
日立建機株式会社
作業機械
1か月前
日立建機株式会社
作業機械
1か月前
株式会社大林組
施工支援装置及び施工支援方法
1か月前
日本車輌製造株式会社
建設機械の電源システム
1か月前
株式会社大林組
施工支援装置及び施工支援方法
1か月前
株式会社大林組
掘削支援装置及び掘削支援方法
5日前
株式会社大林組
評価支援装置及び評価支援方法
1か月前
株式会社大林組
免震構造及び免震構造の施工方法
27日前
続きを見る
他の特許を見る