TOP
|
特許
|
意匠
|
商標
特許ウォッチ
Twitter
他の特許を見る
公開番号
2025158297
公報種別
公開特許公報(A)
公開日
2025-10-17
出願番号
2024060699
出願日
2024-04-04
発明の名称
作業機械
出願人
ヤンマーホールディングス株式会社
代理人
主分類
E02F
9/00 20060101AFI20251009BHJP(水工;基礎;土砂の移送)
要約
【課題】メンテナス作業時に作業員が外部から機器へのアクセスがし易く、性能を安定的に確保できる位置に電装品を設置可能な作業機械を提供することである。
【解決手段】原動機520の駆動力により回転するファン524の側方かつ前方に配置された作動油タンク312と、作動油タンク312の後方で作動油タンク312に対向するように配置された電装品535と、を備え、電装品535がファン524の前方に配置されている、作業機械。
【選択図】図3
特許請求の範囲
【請求項1】
原動機の駆動力により回転するファンの側方かつ前方に配置されたタンクと、
前記タンクの後方で前記タンクに対向するように配置された電装品と、を備え、
前記電装品が前記ファンの前方に配置されている、作業機械。
続きを表示(約 700 文字)
【請求項2】
前記作業機械の側部外装に設けられ、前記ファンにより発生する気流が通過する開口を備え、
前記電装品は、前記開口に対して前方にずれて配置される、請求項1記載の作業機械。
【請求項3】
前記ファンと前記開口の間に配置され前記気流が通過する流路を備え、
前記電装品は、前記流路の前方に配置されている、請求項2記載の作業機械。
【請求項4】
前記流路中に配置された熱交換器から前記開口部に向けて延設され、前記流路の一部を形成するダクト備え、
前記電装品が前記ダクトと前記タンクの間に配置されている、請求項3記載の作業機械。
【請求項5】
前記電装品の下方に配置され、前記電装品とハーネスを介して接続するバッテリを備える、請求項3又は4に記載の作業機械。
【請求項6】
前記バッテリが前記流路の下方に配置されている、請求項5記載の作業機械。
【請求項7】
前記電装品は、第1の電装品と第2の電装品を含み、
第1の電装品と第2の電装品が上下に配置されている、請求項2から4記載の何れか1項に記載の作業機械。
【請求項8】
前記外装に対向するように、前記タンクに装着された前記電装品を収容するケースを備え、
前記ケースが前記ケースの前記外装側の側面が上方を向くように傾斜するように配置された、請求項2から4の何れか1項に記載の作業機械。
【請求項9】
前記ケースは、前記側面側に前記電装品が交換可能に配置されている、請求項8記載の作業機械。
発明の詳細な説明
【技術分野】
【0001】
本発明は、作業機械に関する。
続きを表示(約 1,400 文字)
【背景技術】
【0002】
関連技術として、運転シートが載置されエンジンを覆うシートスタンドとシートスタンドの幅方向の外側に配置され、エンジンよりも空気流の上流側にある熱交換器を備え、シートスタンドと熱交換器との間に電装品が設置された作業機械の一つである建設機械が知られている。
(特許文献1参照)
【先行技術文献】
【特許文献】
【0003】
特開2015-090050
【発明の概要】
【発明が解決しようとする課題】
【0004】
シートマウントと熱交換器の間は、外部からのアクセス性が良好でないことから、電装品がリレーやヒューズのような交換が想定される電装品の場合は、メンテナンスが困難になるという問題が生じる。
【0005】
また、シートマウントと熱交換器の間は、熱交換器からエンジン側に向かう空気の流れが発生し、温度変化が生じやすい環境であることから、リレーやヒューズを設置する場所として、適していない。
【0006】
さらにシートマウントと熱交換器の間は、狭い空間であるため、リレーやヒューズ等のメンテナンスが想定される電装品を集約して配置することが難しいという問題がある。
【0007】
本発明は、上述した関連技術の問題に鑑みなされたもので、その課題は、メンテナス性と性能を安定的に確保できる位置に電装品を設置可能な作業機械を提供することである。
【課題を解決するための手段】
【0008】
本発明の一態様に係る作業機械は、原動機の駆動力により回転するファンの側方かつ前方に配置されたタンクと、前記タンクの後方で前記タンクに対向するように配置された電装品と、を備え、前記電装品が前記ファンの前方に配置されている。
【発明の効果】
【0009】
本発明によれば、メンテナス性と性能を安定的に確保できる位置に電装品を設置可能な作業機械を提供することできる。
【図面の簡単な説明】
【0010】
本発明の第1の実施形態に係る油圧ショベルの右側面図である。
本発明の第1の実施形態に係る油圧ショベルの運転座席と操作装置等を除いた上部旋回体の左側面図である。
本発明の第1の実施形態に係る油圧ショベルの運転座席と操作装置等を除いた上部旋回体のA-A方向から見た模式断面図である。
本発明の第1の実施形態に係る油圧ショベルの運転座席と操作装置等を除いた上部旋回体のB-B方向から見た模式断面図である。
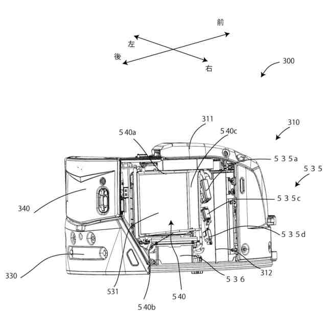
本発明の第1の実施形態に係る油圧ショベルの外装カバーを取り外した運転座席と操作装置等を除いた上部旋回体の後方斜視図である。
本発明の第1の実施形態に係る油圧ショベルの電装品が装着された作動油タンクの斜視図である。。
本発明の第1の実施形態に係る油圧ショベルの電装品を作動油タンクに装着させるためのブラケットの平面図である。
本発明の第1の実施形態に係る油圧ショベルのリレーボックスとブレードヒューズボックスのカバーが脱離した時の電装品が装着された作動油タンクの斜視図である。
【発明を実施するための形態】
(【0011】以降は省略されています)
特許ウォッチbot のツイートを見る
この特許をJ-PlatPat(特許庁公式サイト)で参照する
関連特許
個人
バケット
1か月前
個人
建物の不同沈下の修正方法
1か月前
鹿島建設株式会社
接続方法
11日前
株式会社大林組
操縦装置
1か月前
千代田工営株式会社
回転貫入杭
1か月前
株式会社富田製作所
継手部構造
1か月前
株式会社熊谷組
山留壁用親杭
1か月前
株式会社郷土開発
傾斜地の切土工法
10日前
ウエダ産業株式会社
アタッチメント
2日前
日立建機株式会社
作業機械
1か月前
ヤンマーホールディングス株式会社
作業機械
1か月前
日立建機株式会社
作業車両
1か月前
株式会社クボタ
作業機
10日前
日立建機株式会社
作業機械
23日前
日立建機株式会社
作業機械
1か月前
ヤンマーホールディングス株式会社
作業機械
1か月前
日本車輌製造株式会社
建設機械
1か月前
日立建機株式会社
作業機械
1か月前
日立建機株式会社
建設機械
24日前
FKS株式会社
擁壁及び擁壁の築造方法
1か月前
株式会社次世代一次産業実践所
登山道の施工装置
1か月前
株式会社三誠
建物の免震構造
1か月前
鹿島建設株式会社
接続方法および接続構造
1か月前
株式会社竹内製作所
作業用車両
1か月前
株式会社竹内製作所
作業用車両
1か月前
株式会社竹内製作所
作業用車両
1か月前
株式会社竹内製作所
作業用車両
1か月前
山形新興株式会社
建築物の基礎及び基礎成形型
1か月前
清水建設株式会社
遮水層の構築方法
1か月前
ナブテスコ株式会社
ドーザブレード駆動機構
23日前
日本車輌製造株式会社
杭打機の制御システム
1か月前
日本車輌製造株式会社
杭打機の表示システム
26日前
コベルコ建機株式会社
施工システム
1か月前
個人
アンカーボルト支持装置
1か月前
株式会社大林組
施工支援装置及び施工支援方法
1か月前
日立建機株式会社
作業機械
1か月前
続きを見る
他の特許を見る