TOP
|
特許
|
意匠
|
商標
特許ウォッチ
Twitter
他の特許を見る
10個以上の画像は省略されています。
公開番号
2025141765
公報種別
公開特許公報(A)
公開日
2025-09-29
出願番号
2024165065
出願日
2024-09-24
発明の名称
擁壁
出願人
FKS株式会社
代理人
個人
主分類
E02D
29/02 20060101AFI20250919BHJP(水工;基礎;土砂の移送)
要約
【課題】壁部材の強度をより大きなものとし、壁部材に大きな開口部を形成しても、開口部のひび割れの発生を抑制することができる擁壁を提供する。
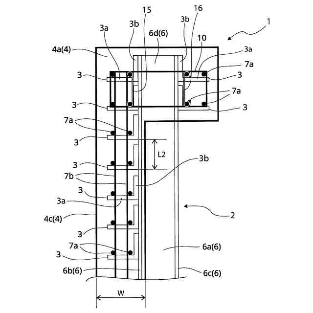
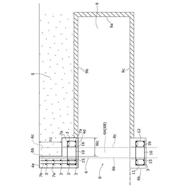
【解決手段】本発明の擁壁1は、壁部材4の壁頭部4a及び壁足部4bと壁本体部4cとを備える。前記壁頭部4a及び壁足部4bは、露出したH形鋼6における壁部材4に対応する部分の上端部及び下端部に形成され、前記壁頭部4a及び壁足部4bの内部には、H形鋼6と形鋼3と横方向の鉄筋7aと縦方向の鉄筋7bがコンクリートによって埋設される。壁本体部4cには、一つまたは複数の開口部8が形成され、その上辺に沿って開口用梁4dが設けられる。前記開口用梁4dは、横方向の鉄筋7aが、コンクリートによって内部に埋設される。
【選択図】図6
特許請求の範囲
【請求項1】
壁部材によって土圧の水平成分を受ける擁壁であって、
複数の支持杭と、
前記支持杭と一体に前記壁部材として形成され、少なくとも横方向に延設される横方向の鉄筋と縦方向に延設される縦方向の鉄筋とを、コンクリートによって内部に埋設した壁本体部と、
前記壁本体部に形成された一つまたは複数の開口部と、
前記開口部の上辺に沿って形成され、少なくとも前記横方向の鉄筋を、コンクリートによって内部に埋設した開口用梁と、
を備えることを特徴とする擁壁。
続きを表示(約 980 文字)
【請求項2】
前記開口部の上辺に沿って形成され、少なくとも前記横方向の鉄筋を、コンクリートによって内部に埋設した開口用梁は、
前記開口部に隣接したH形鋼まで、少なくとも形成されていることを特徴とする請求項1記載の擁壁。
【請求項3】
開口用梁は、前記壁本体部の両端部まで形成されていることを特徴とする請求項2記載の擁壁。
【請求項4】
前記壁部材の上端部における、前記開口部上方の領域以外の領域に、
支持杭を構成するH形鋼と横方向の鉄筋と縦方向の鉄筋を、コンクリートによって内部に埋設した壁頭部が設けられていることを特徴とする請求項1に記載された擁壁。
【請求項5】
前記壁部材の上端部における、前記開口部の上方の領域を含む領域に、
支持杭を構成するH形鋼と横方向の鉄筋と縦方向の鉄筋を、コンクリートによって内部に埋設した壁頭部が設けられていることを特徴とする請求項1に記載された擁壁。
【請求項6】
前記横方向の鉄筋を囲うように前記開口用梁に配設されたあばら筋を備え、前記あばら筋が、コンクリートによって前記壁部材の内部に埋設されていることを特徴とする請求項1記載の擁壁。
【請求項7】
前記開口用梁に配設された前記あばら筋は、横方向の鉄筋と、上下に配設された横方向の鉄筋に結束された幅止め筋とに結束されることを特徴とする請求項6に記載された擁壁。
【請求項8】
前記壁頭部には、支持杭を構成するH形鋼を互いに連結する連結部材が設けられていることを特徴とする、請求項4または請求項5に記載された擁壁。
【請求項9】
前記開口用梁には、開口部に隣接する左右のH形鋼を、互いに連結する連結部材が設けられていることを特徴とする、請求項1に記載された擁壁。
【請求項10】
前記壁部材の下端部に、支持杭を構成するH形鋼と横方向の鉄筋と縦方向の鉄筋を、コンクリートによって内部に埋設した壁足部が設けられ、
前記開口部下方の領域の壁足部に、開口部に隣接する左右のH形鋼を、互いに連結する連結部材が設けられていることを特徴とする、請求項1に記載された擁壁。
(【請求項11】以降は省略されています)
発明の詳細な説明
【技術分野】
【0001】
本発明は開口部が形成された擁壁に関し、例えば、開口部を出入口とした地下室の壁面として利用できる擁壁に関する。
続きを表示(約 1,800 文字)
【背景技術】
【0002】
擁壁は、土壌の安息角を超える大きな高低差を地面に設けたいときに、土壌の横圧に抗して斜面の崩壊を防ぐために設計・構築される壁状の構造物である。
特許文献1には、建築物を建築するための平らな土地を極力減らすことのない擁壁が提案されている。図18及び図19に基づいて、この擁壁について説明する。
【0003】
図18に示すように、この擁壁100は、複数の支持杭20を備えている。この支持杭20は、地盤内においてセメントミルクによって形成された柱状部50と、下部が柱状部50の内部に配置されて上部が柱状部50から露出したH形鋼60と、を備えている。
【0004】
また、この擁壁100は、図19に示すように、H形鋼60に溶接などで固定された溝形鋼30を備える。この溝形鋼30は、ウェブ30aと、ウェブ30aの一端側に形成された第1フランジ30bと、ウェブ30aの他端側に形成された第2フランジ30cとを備える形鋼である。
【0005】
更に、前記擁壁100は壁部材40を備える。この壁部材40は、鉄筋70がコンクリートによって埋設された、いわゆる鉄筋コンクリートによって形成されている。
この鉄筋70は、溝形鋼30のウェブ30a上に配置された横方向に延設された鉄筋70aと垂直方向に延設された縦方向の鉄筋70bからなる。
また、この壁部材40は、複数の支持杭20のH形鋼60に沿って面状(板状)に配置され、内部に埋設された溝形鋼30を介して支持杭20に固定されている。そして、この擁壁100にあっては面状の壁部材40が土圧の水平成分を受けるように構成されている。
【0006】
このように擁壁100は、壁部材40の中に、溝形鋼30、横方向の鉄筋70a、縦方向の鉄筋70bが埋設され、壁部材40が溝形鋼30を介して支持杭20に固定されることによって、支持杭20と壁部材40が一体化した合成構造とされている。
そして、前記壁部材40は土圧の水平成分の力を受ける。この土圧の水平成分の力は、溝形鋼30を介して支持杭20の上部のH形鋼60に力が伝達され、支持杭20の下部へ伝達され、前記壁部材40は土壌の横圧に抗して斜面の崩壊を防ぐ。
【先行技術文献】
【特許文献】
【0007】
特許第6940709号公報
【発明の概要】
【発明が解決しようとする課題】
【0008】
ところで、前記壁部材40は、斜面の崩壊を防ぐ目的で作られるため、この擁壁に開口部を形成することは予定されていない。しかしながら、土地の有効利用を含め、擁壁の開口部を出入口とした地下室、車庫等の利用できるようにしたいという社会的要請がある。
一方、特許文献1に提案された擁壁100は、壁部材40がいわゆる鉄筋コンクリートであるため、開口部を設けない場合でも、壁部材40の強度が十分とは言えず、土圧によるゆがみ、せん断破壊等の破壊、転倒、沈下が生じる虞があり、また壁部材40が面状(板状)に形成されているため、ヒーピング、圧密滑りが生じる虞があった。
そのため、擁壁100の壁部材40に開口部を形成すると、開口部に応力集中に起因するひび割れが容易に生じるという課題があった。
【0009】
本発明は、上記事情を鑑みてなされたものであり、壁部材の強度をより大きなものとし、壁部材に開口部を形成しても、開口部が形成された壁部材にひび割れ等が生じない、擁壁を提供することを目的とする。
【課題を解決するための手段】
【0010】
前記した課題を解決するために、本発明に係る擁壁は、壁部材によって土圧の水平成分を受ける擁壁であって、複数の支持杭と、前記支持杭と一体に前記壁部材として形成され、少なくとも横方向に延設される横方向の鉄筋と縦方向に延設される縦方向の鉄筋とを、コンクリートによって内部に埋設した壁本体部と、前記壁本体部に形成された一つまたは複数の開口部と、前記開口部の上辺に沿って形成され、少なくとも前記横方向の鉄筋を、コンクリートによって内部に埋設した開口用梁と、を備えることに特徴を有する。
(【0011】以降は省略されています)
この特許をJ-PlatPat(特許庁公式サイト)で参照する
関連特許
FKS株式会社
擁壁
23日前
鈴健興業株式会社
敷板部材
19日前
千代田工営株式会社
回転貫入杭
6日前
株式会社熊谷組
山留壁用親杭
12日前
株式会社熊谷組
地盤改良方法
15日前
日立建機株式会社
建設機械
19日前
日立建機株式会社
作業機械
12日前
日立建機株式会社
作業車両
8日前
日立建機株式会社
作業機械
6日前
日立建機株式会社
作業機械
13日前
日立建機株式会社
建設機械
13日前
日立建機株式会社
建設機械
13日前
ヤンマーホールディングス株式会社
作業機械
5日前
ヤンマーホールディングス株式会社
作業機械
5日前
日立建機株式会社
作業機械
12日前
日立建機株式会社
作業機械
12日前
日本車輌製造株式会社
建設機械
8日前
ライト工業株式会社
鉄筋保持用治具
13日前
カナデビア株式会社
サクション基礎
13日前
鹿島建設株式会社
接続方法および接続構造
8日前
JFEスチール株式会社
鋼管矢板の継手構造
13日前
株式会社竹内製作所
作業用車両
12日前
株式会社竹内製作所
作業用車両
12日前
株式会社竹内製作所
作業用車両
12日前
株式会社竹内製作所
作業用車両
12日前
日立建機株式会社
電動式作業機械
19日前
株式会社日立建機ティエラ
建設機械
14日前
山形新興株式会社
建築物の基礎及び基礎成形型
7日前
清水建設株式会社
遮水層の構築方法
12日前
浙江工業大学
多機能土柱モデル装置及び使用方法
19日前
コベルコ建機株式会社
施工システム
12日前
個人
アンカーボルト支持装置
5日前
清水建設株式会社
免震装置の基礎構造
13日前
ヤンマーホールディングス株式会社
作業機械
15日前
日立建機株式会社
作業機械
13日前
日立建機株式会社
作業車両
15日前
続きを見る
他の特許を見る