TOP
|
特許
|
意匠
|
商標
特許ウォッチ
Twitter
他の特許を見る
公開番号
2025153460
公報種別
公開特許公報(A)
公開日
2025-10-10
出願番号
2024055953
出願日
2024-03-29
発明の名称
遮水層の構築方法
出願人
清水建設株式会社
代理人
個人
,
個人
,
個人
主分類
E02B
3/12 20060101AFI20251002BHJP(水工;基礎;土砂の移送)
要約
【課題】品質及び寸法を安定させつつ、施工が容易な遮水層の構築方法を提供する。
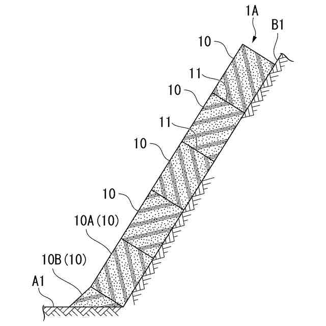
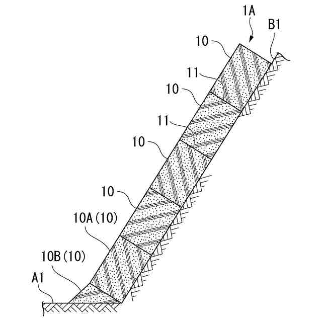
【解決手段】遮水層の構築方法は、ベントナイト混合土でブロック状に形成されたベントナイト混合土ブロック10を複数設置して遮水層1Aを構築し、略直方体状に形成されたベントナイト混合土ブロック10を、法面B1に沿って複数積み上げて設置して、最下段に設置されたベントナイト混合土ブロック10Aと略水平面に沿う設置面A1との間には、くさび状に形成されたベントナイト混合土ブロック10Bを設置する。
【選択図】図2
特許請求の範囲
【請求項1】
ベントナイト混合土でブロック状に形成されたベントナイト混合土ブロックを複数設置して遮水層を構築する遮水層の構築方法。
続きを表示(約 370 文字)
【請求項2】
略直方体状に形成された前記ベントナイト混合土ブロックを、法面に沿って複数積み上げて設置して、
最下段に設置された前記ベントナイト混合土ブロックと略水平面に沿う設置面との間には、くさび状に形成された前記ベントナイト混合土ブロックを設置する請求項1に記載の遮水層の構築方法。
【請求項3】
法面に対して略直角をなすように掘込面を形成し、
略直方体状に形成された前記ベントナイト混合土ブロックを、前記掘込面から前記法面に沿って複数積み上げて設置する請求項1に記載の遮水層の構築方法。
【請求項4】
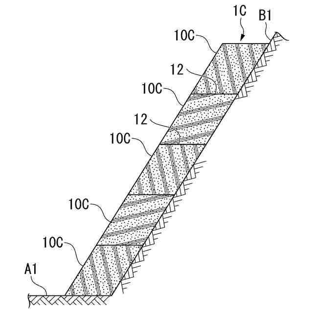
略水平面に沿う設置面と法面に直交する断面視で、略平行四辺形状に形成された前記ベントナイト混合土ブロックを、法面に沿って複数積み上げて設置する請求項1に記載の遮水層の構築方法。
発明の詳細な説明
【技術分野】
【0001】
本発明は、遮水層の構築方法に関するものである。
続きを表示(約 1,300 文字)
【背景技術】
【0002】
従来から、一般廃棄物及び産業廃棄物等の最終処分場では、埋立地からの浸出液による公共の水域及び地下水の汚染を防止するための措置として、表面遮水工または鉛直遮水工を設置することとされている。
【0003】
表面遮水工では、以下の(1)~(3)の3つの二重遮水構造が規定されている。(1)透水層の上側に粘性土を設置して、その上側に遮水シート及び保護マットを設置して、保護土を設置する、(2)透水層の上側に水密アスファルトコンクリートを設置して、その上側に遮水シート及び保護マットを設置して、保護土を設置する、(3)透水層の上側に保護マット及び遮水シートを設置して、その上側に保護マットまたは砂で構成された中間保護層を設置して、その上側に遮水シート及び保護マットを設置して、保護土を設置する方法がある。
【0004】
近年は、粘性土に代わり、自己修復性による止水効果が期待できるベントナイト混合土を採用する事例がある(下記の特許文献1参照)。
【先行技術文献】
【特許文献】
【0005】
特開2014-020161号公報
【発明の概要】
【発明が解決しようとする課題】
【0006】
しかしながら、ベントナイト混合土の母材となる土砂は、最終処分場の造成に伴って発生した現地発生土を使用するため、土の性状が均質ではなく、施工したベントナイト混合土における均一性の確保が課題である。また、ベントナイトは水に触れると膨潤してしまうため、現地でのベントナイトと現地発生土の混合時や施工中は、降雨や地下水の湧水等で浸潤しないことが要求される。防水シートで養生しながら施工する防水対策を講じても、突然の天候悪化には対応が困難である。この他、施工面の課題として、法面部ではローラ転圧による施工が困難であることが挙げられる。
【0007】
そこで、本発明は、上記事情に鑑みてなされたものであり、品質及び寸法を安定させつつ、施工が容易な遮水層の構築方法を提供する。
【課題を解決するための手段】
【0008】
上記目的を達成するために、本発明は以下の手段を採用している。
すなわち、本発明に係る遮水層の構築方法は、ベントナイト混合土でブロック状に形成されたベントナイト混合土ブロックを複数設置して遮水層を構築する。
【0009】
このように構成された遮水層の構築方法では、ベントナイト混合土ブロックは工場で製作できるため、品質及び寸法を安定させることができる。また、現場では、ベントナイト混合土ブロックを設置すればよいため、容易に施工することができる。
【0010】
また、本発明に係る遮水層の構築方法では、略直方体状に形成された前記ベントナイト混合土ブロックを、法面に沿って複数積み上げて設置して、最下段に設置された前記ベントナイト混合土ブロックと略水平面に沿う設置面との間には、くさび状に形成された前記ベントナイト混合土ブロックを設置してもよい。
(【0011】以降は省略されています)
この特許をJ-PlatPat(特許庁公式サイト)で参照する
関連特許
清水建設株式会社
建築構造
1か月前
清水建設株式会社
枠体および壁体
16日前
清水建設株式会社
遮水層の構築方法
1か月前
清水建設株式会社
免震装置の基礎構造
1か月前
清水建設株式会社
床吹き出し空調装置
1か月前
清水建設株式会社
遮水層構築の降雨対策方法
16日前
清水建設株式会社
防火積層体及びその製造方法
22日前
清水建設株式会社
制振装置およびこれを備えた建物
16日前
清水建設株式会社
接合構造及び接合構造の改修方法
23日前
清水建設株式会社
変位計測装置および変位計測方法
1か月前
清水建設株式会社
地中連続壁の終局せん断耐力算定方法
8日前
清水建設株式会社
桁と床版との接合構造、及び桁と床版との接合方法
16日前
清水建設株式会社
自律移動体制御システムおよび自律移動体制御方法
9日前
清水建設株式会社
打設監視システム、ガイド装置、および打設監視方法
8日前
清水建設株式会社
作業架台の支持構造及びコンクリート構造物の施工方法
16日前
岡部株式会社
スタッド溶接用治具及びスタッド溶接方法
16日前
株式会社神戸製鋼所
ジオポリマー組成物、ジオポリマー硬化体およびジオポリマー硬化体の製造方法
1か月前
株式会社神戸製鋼所
ジオポリマー組成物、ジオポリマー硬化体およびジオポリマー硬化体の製造方法
1か月前
個人
バケット
16日前
個人
建物の不同沈下の修正方法
23日前
株式会社富田製作所
継手部構造
16日前
株式会社大林組
操縦装置
19日前
千代田工営株式会社
回転貫入杭
1か月前
株式会社熊谷組
山留壁用親杭
1か月前
日立建機株式会社
建設機械
1か月前
日立建機株式会社
作業機械
1か月前
日立建機株式会社
作業車両
1か月前
日立建機株式会社
作業機械
1か月前
ヤンマーホールディングス株式会社
作業機械
29日前
日立建機株式会社
建設機械
9日前
日立建機株式会社
建設機械
1か月前
日本車輌製造株式会社
建設機械
1か月前
ヤンマーホールディングス株式会社
作業機械
29日前
日立建機株式会社
作業機械
8日前
日立建機株式会社
作業機械
1か月前
日立建機株式会社
作業機械
1か月前
続きを見る
他の特許を見る