TOP
|
特許
|
意匠
|
商標
特許ウォッチ
Twitter
他の特許を見る
10個以上の画像は省略されています。
公開番号
2025152546
公報種別
公開特許公報(A)
公開日
2025-10-10
出願番号
2024054478
出願日
2024-03-28
発明の名称
作業機械
出願人
日立建機株式会社
代理人
弁理士法人開知
主分類
E02F
9/24 20060101AFI20251002BHJP(水工;基礎;土砂の移送)
要約
【課題】騒音を抑制し、作業開始の際の作業機械と物体の接触を防止する。
【解決手段】作業機械は、警報音出力装置による外部警報を制御する制御装置と、物体検知装置により物体が検知されたときの警報音出力装置による外部警報を実行する有効モード及び実行しない無効モードを切り替える警報モード切替装置と、作業装置が動作可能な動作可能状態及び作業装置が動作不能な動作不能状態を切り替える動作モード切替装置と、を備える。制御装置は、有効モードが設定されている場合であって動作モード切替装置により動作不能状態から動作可能状態に切り替える動作準備操作が行われたときには、所定の第1報知態様で外部警報を行い、無効モードが設定されている場合であって動作準備操作が行われたときには、第1報知態様よりも騒音の度合いの小さい第2報知態様で外部警報を行う。
【選択図】図7
特許請求の範囲
【請求項1】
車体と、前記車体に設けられた作業装置と、前記車体の周囲の物体を検知する物体検知装置と、音を出力することにより前記車体の周囲に外部警報を行う警報音出力装置と、前記物体検知装置の検知結果に基づき前記警報音出力装置による外部警報を制御する制御装置と、を備えた作業機械において、
前記物体検知装置により前記物体が検知されたときの前記警報音出力装置による外部警報を実行する有効モード及び実行しない無効モードを切り替える警報モード切替装置と、
前記作業装置が動作可能な動作可能状態及び前記作業装置が動作不能な動作不能状態を切り替える動作モード切替装置と、
を備え、
前記制御装置は、
前記警報モード切替装置により前記有効モードが設定されている場合であって、前記動作モード切替装置により前記動作不能状態から前記動作可能状態に切り替える動作準備操作が行われたときには、所定の第1報知態様で前記警報音出力装置による外部警報を行い、
前記警報モード切替装置により前記無効モードが設定されている場合であって、前記動作準備操作が行われたときには、前記第1報知態様よりも騒音の度合いの小さい第2報知態様で前記警報音出力装置による外部警報を行う、
ことを特徴とする作業機械。
続きを表示(約 1,500 文字)
【請求項2】
請求項1に記載の作業機械において、
前記警報音出力装置から出力される音の大きさは、前記第1報知態様よりも前記第2報知態様の方が小さい、
ことを特徴とする作業機械。
【請求項3】
請求項1に記載の作業機械において、
前記警報音出力装置から出力される音の時間は、前記第1報知態様よりも前記第2報知態様の方が短い、
ことを特徴とする作業機械。
【請求項4】
請求項1に記載の作業機械において、
前記第1報知態様は、少なくともビープ音を出力する報知態様であり、
前記第2報知態様は、前記ビープ音は出力せずに、音声案内を出力する報知態様である、
ことを特徴とする作業機械。
【請求項5】
請求項1に記載の作業機械において、
前記作業装置を操作する操作装置を備え、
前記動作モード切替装置は、前記操作装置の操作を無効にするロック操作と前記操作装置の操作を有効にするロック解除操作が可能なロック操作装置であり、
前記動作準備操作は、前記ロック操作装置の前記ロック解除操作である、
ことを特徴とする作業機械。
【請求項6】
請求項1に記載の作業機械において、
前記作業装置のアクチュエータに作動油を供給する油圧ポンプと、
前記油圧ポンプを駆動する駆動源と、を備え、
前記動作準備操作は、前記駆動源を起動するための操作である、
ことを特徴とする作業機械。
【請求項7】
請求項1に記載の作業機械において、
前記制御装置は、
前記動作準備操作が行われたときに、前記物体検知装置により前記物体が検知され、かつ、前記有効モードが設定されている場合、前記第1報知態様で前記警報音出力装置による外部警報を行い、
前記動作準備操作が行われたときに、前記物体検知装置により前記物体が検知され、かつ、前記無効モードが設定されている場合、前記第2報知態様で前記警報音出力装置による外部警報を行い、
前記動作準備操作が行われたときに、前記物体検知装置により前記物体が検知されない場合、前記第1報知態様よりも騒音の度合いの小さい第3報知態様で前記警報音出力装置による外部警報を行うか、前記警報音出力装置による外部警報を行わない、
ことを特徴とする作業機械。
【請求項8】
請求項1に記載の作業機械において、
前記制御装置は、
前記物体検知装置により出力された信号に基づいて、前記物体として人が検知されたか否かを判定し、
前記有効モードが設定されている場合であって、人が検知されたと判定されたときには、前記警報音出力装置による外部警報を行い、
前記有効モードが設定されている場合であって、人が検知されていないと判定されたときには、前記警報音出力装置による外部警報を行わない、
ことを特徴とする作業機械。
【請求項9】
請求項1に記載の作業機械において、
光を発することにより前記車体の周囲に外部警報を行う発光装置を備え、
前記有効モードが設定されている場合であって、前記物体検知装置により前記物体が検知されたときには、前記警報音出力装置及び前記発光装置による外部警報を行い、
前記無効モードが設定されている場合であって、前記物体検知装置により前記物体が検知されたときには、前記発光装置による外部警報を行い、前記警報音出力装置による外部警報を行わない、
ことを特徴とする作業機械。
発明の詳細な説明
【技術分野】
【0001】
本発明は、作業機械に関する。
続きを表示(約 1,900 文字)
【背景技術】
【0002】
車体の周囲にある物体を検知した場合に、車体の周囲へ警報を出力する作業機械が知られている(特許文献1参照)。車体の周囲への警報は、作業機械とその周囲にある物体との接触を回避することができる一方で、近隣への騒音となる可能性がある。ここで、特許文献1には、オペレータによる所定の操作に応じて、外部報知機能の有効と無効が切り替えられる作業機械が開示されている。
【先行技術文献】
【特許文献】
【0003】
国際公開第2020/218453号
【発明の概要】
【発明が解決しようとする課題】
【0004】
特許文献1に記載の技術では、外部報知機能を無効とすることにより、警報の出力を抑制することができる。しかしながら、作業機械による作業を開始する際に、外部報知機能が無効のままであると、作業機械が動き出したときに作業開始前(停止中)の作業機械に近づいていた作業員等と作業機械とが接触してしまうおそれがある。また、警報を出力する場合の近隣への騒音について考慮されていない。
【0005】
本発明は、騒音の発生を抑制しつつ、作業開始の際の作業機械とその周囲の物体との接触を防止可能な作業機械を提供することを目的とする。
【課題を解決するための手段】
【0006】
本発明の一態様による作業機械は、車体と、前記車体に設けられた作業装置と、前記車体の周囲の物体を検知する物体検知装置と、音を出力することにより前記車体の周囲に外部警報を行う警報音出力装置と、前記物体検知装置の検知結果に基づき前記警報音出力装置による外部警報を制御する制御装置と、前記物体検知装置により前記物体が検知されたときの前記警報音出力装置による外部警報を実行する有効モード及び実行しない無効モードを切り替える警報モード切替装置と、前記作業装置が動作可能な動作可能状態及び前記作業装置が動作不能な動作不能状態を切り替える動作モード切替装置と、を備える。前記制御装置は、前記警報モード切替装置により前記有効モードが設定されている場合であって、前記動作モード切替装置により前記動作不能状態から前記動作可能状態に切り替える動作準備操作が行われたときには、所定の第1報知態様で前記警報音出力装置による外部警報を行い、前記警報モード切替装置により前記無効モードが設定されている場合であって、前記動作準備操作が行われたときには、前記第1報知態様よりも騒音の度合いの小さい第2報知態様で前記警報音出力装置による外部警報を行う。
【発明の効果】
【0007】
本発明によれば、騒音の発生を抑制しつつ、作業開始の際の作業機械とその周囲の物体との接触を防止可能な作業機械を提供することができる。
【図面の簡単な説明】
【0008】
図1は、油圧ショベルの側面図である。
図2は、油圧ショベルが備える物体検知装置の物体検知範囲について示す図である。
図3は、運転室の内部を運転席の後側から前方に向かって見たときの概略図である。
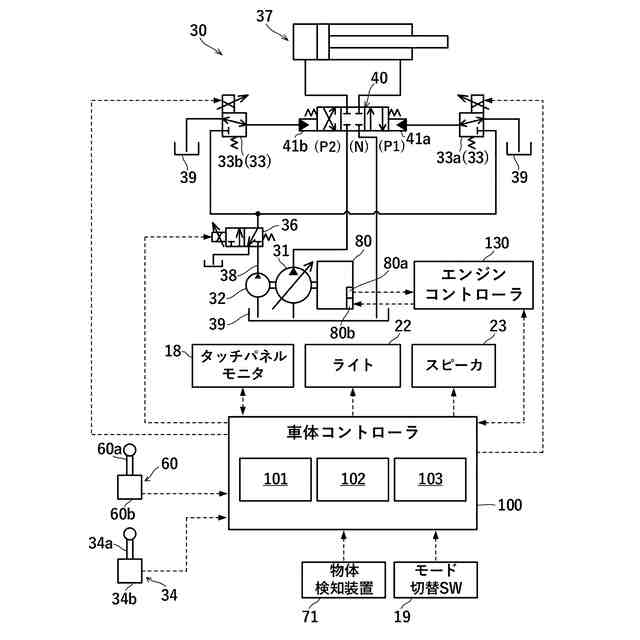
図4は、第1実施形態に係る油圧ショベルの各部を制御する制御システムを示す図である。
図5は、第1実施形態に係る車体コントローラによる外部警報制御に関する機能ブロック図である。
図6は、第1実施形態に係る車体コントローラにより実行される警報制御のメインフローチャートである。
図7は、図6の動作開始警報制御の内容について示すフローチャートである。
図8は、図6の人検知警報制御の内容について示すフローチャートである。
図9は、第2実施形態に係る車体コントローラにより実行される動作開始警報制御の内容について示すフローチャートである。
図10は、第3実施形態に係る油圧ショベルの各部を制御する制御システムを示す図である。
図11は、第1報知態様及び第2報知態様の例について示す表である。
【発明を実施するための形態】
【0009】
図面を参照して、本発明の実施形態に係る作業機械について説明する。本実施形態では、作業機械が、クローラ式の油圧ショベルである例について説明する。
【0010】
<第1実施形態>
図1は、油圧ショベル1の側面図である。説明の便宜上、図1に示すように油圧ショベル1の前後及び上下方向を規定する。つまり、本実施形態では、特に断り書きのない場合は、運転席の前方(同図中では左方向)を油圧ショベル1の前方とする。
(【0011】以降は省略されています)
この特許をJ-PlatPat(特許庁公式サイト)で参照する
関連特許
日立建機株式会社
作業機械
23日前
日立建機株式会社
作業車両
1か月前
日立建機株式会社
建設機械
1か月前
日立建機株式会社
建設機械
1か月前
日立建機株式会社
作業機械
1か月前
日立建機株式会社
転圧機械
1か月前
日立建機株式会社
作業機械
1か月前
日立建機株式会社
作業車両
1か月前
日立建機株式会社
作業機械
1か月前
日立建機株式会社
建設機械
1か月前
日立建機株式会社
作業機械
1か月前
日立建機株式会社
作業機械
1か月前
日立建機株式会社
作業機械
1か月前
日立建機株式会社
油圧機器
1か月前
日立建機株式会社
建設機械
1か月前
日立建機株式会社
建設機械
1か月前
日立建機株式会社
建設機械
1か月前
日立建機株式会社
作業車両
1か月前
日立建機株式会社
油圧機器
1か月前
日立建機株式会社
作業車両
1か月前
日立建機株式会社
作業機械
1か月前
日立建機株式会社
作業機械
1か月前
日立建機株式会社
作業機械
1か月前
日立建機株式会社
作業機械
1か月前
日立建機株式会社
作業機械
1か月前
日立建機株式会社
作業機械
24日前
日立建機株式会社
建設機械
24日前
日立建機株式会社
作業機械
2か月前
日立建機株式会社
作業機械
1か月前
日立建機株式会社
作業機械
2か月前
日立建機株式会社
作業車両
1か月前
日立建機株式会社
作業機械
2か月前
日立建機株式会社
作業機械
1か月前
日立建機株式会社
建設機械
2か月前
日立建機株式会社
作業車両
1か月前
日立建機株式会社
作業機械
1か月前
続きを見る
他の特許を見る