TOP
|
特許
|
意匠
|
商標
特許ウォッチ
Twitter
他の特許を見る
公開番号
2025146475
公報種別
公開特許公報(A)
公開日
2025-10-03
出願番号
2024047281
出願日
2024-03-22
発明の名称
作業機械
出願人
日立建機株式会社
代理人
弁理士法人武和国際特許事務所
主分類
E02F
9/00 20060101AFI20250926BHJP(水工;基礎;土砂の移送)
要約
【課題】アンテナ装置の管理が簡単な作業機械を提供する。
【解決手段】作業機械の一例である油圧ショベル(1)は、走行体(2)上に旋回可能に支持された旋回体(3)と、旋回体(3)に取り付けられた作業機(4)と、旋回体(3)に設けられたエンジン(14)等の駆動源を収容する建屋(16)と、建屋(16)の上部に設置されたアンテナユニット(18)とを備えており、アンテナユニット(18)は、GNSSアンテナからなるアンテナ装置(19)と、アンテナ装置(19)を収容するアンテナカバー(20)とで構成され、アンテナカバー(20)の上面は、樹脂材料、または、開口によって形成された特定領域部(27,28)を有している。
【選択図】図5
特許請求の範囲
【請求項1】
車体と、前記車体に取り付けられた作業機と、前記車体に設けられた駆動源を収容する建屋と、前記建屋の上部に配置されたアンテナ装置と、を備えた作業機械において、
前記アンテナ装置を収容するアンテナカバーを備え、
前記アンテナカバーの上面は、樹脂材料、または、開口によって形成された特定領域部を有する、
ことを特徴とする作業機械。
続きを表示(約 520 文字)
【請求項2】
請求項1に記載の作業機械において、
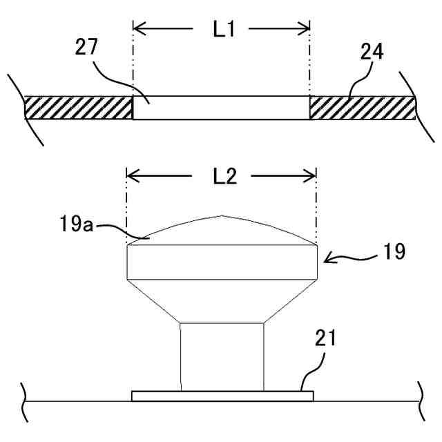
前記特定領域部は、前記開口で形成されており、
前記開口の寸法は、前記アンテナ装置の通過が不可となる寸法に設定されている、
ことを特徴とする作業機械。
【請求項3】
請求項2に記載の作業機械において、
前記アンテナ装置は、その頂部が前記開口より上方へ突出した状態で設けられている、
ことを特徴とする作業機械。
【請求項4】
請求項1に記載の作業機械において、
前記特定領域部は、前記樹脂材料で形成されており、
前記アンテナカバーのうち前記特定領域部を除くカバー部分は、金属材料で構成されている、
ことを特徴とする作業機械。
【請求項5】
請求項1に記載の作業機械において、
前記アンテナカバーは、閉じた位置と、90度以下の角度で開いた位置との間で回動可能である、
ことを特徴とする作業機械。
【請求項6】
請求項5に記載の作業機械において、
前記アンテナカバーを施解錠する施解錠装置を備えている、
ことを特徴とする作業機械。
発明の詳細な説明
【技術分野】
【0001】
本発明は、油圧ショベル等の作業機械に関する。
続きを表示(約 1,200 文字)
【背景技術】
【0002】
油圧ショベル等の作業機械において、アンテナ装置の位置情報に基づいて作業機械の位置情報を計測し、掘削作業等の施工管理を支援するようにした技術が広く知られている。
【0003】
例えば特許文献1には、車体に設けられた建屋カバーと、建屋カバー上に立設された支持マストと、支持マストの頂部に着脱可能に取り付けるアンテナ装置と、建屋カバー内に設けられたアンテナ収容室とを備え、アンテナ装置を使用しない作業を行う場合や、運搬車両を用いて車体を輸送する場合等は、アンテナ装置を支持マストから取り外してアンテナ収容室内に保管するようにした油圧ショベルが記載されている。
【先行技術文献】
【特許文献】
【0004】
特許第7339454号公報
【発明の概要】
【発明が解決しようとする課題】
【0005】
しかしながら、特許文献1では、アンテナ装置を支持マストから取り外してアンテナ収容室内に保管する作業と、保管されたアンテナ装置を支持マストに取り付ける作業とが必要となり、アンテナ装置の管理に手間がかかるという課題がある。
【0006】
本発明は、このような実状に鑑みてなされたものであり、その目的は、アンテナ装置の管理が簡単な作業機械を提供することにある。
【課題を解決するための手段】
【0007】
上記目的を達成するために、本発明の一態様は、車体と、前記車体に取り付けられた作業機と、前記車体に設けられた駆動源を収容する建屋と、前記建屋の上部に配置されたアンテナ装置と、を備えた作業機械において、前記アンテナ装置を収容するアンテナカバーを備え、前記アンテナカバーの上面は、樹脂材料、または、開口によって形成された特定領域部を有する、ことを特徴とする。
【発明の効果】
【0008】
本発明によれば、アンテナ装置の管理が簡単な作業機械を提供することができる。なお、上記した以外の課題、構成及び効果は、以下の実施形態の説明により明らかにされる。
【図面の簡単な説明】
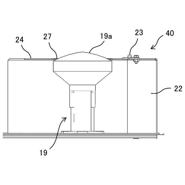
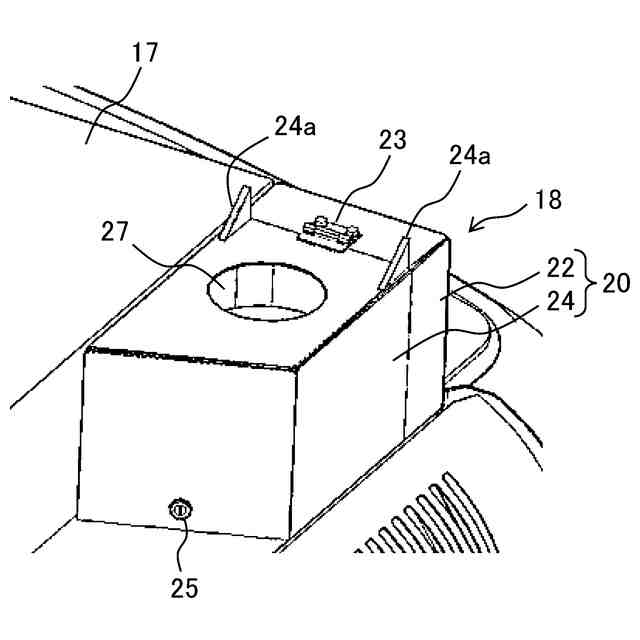
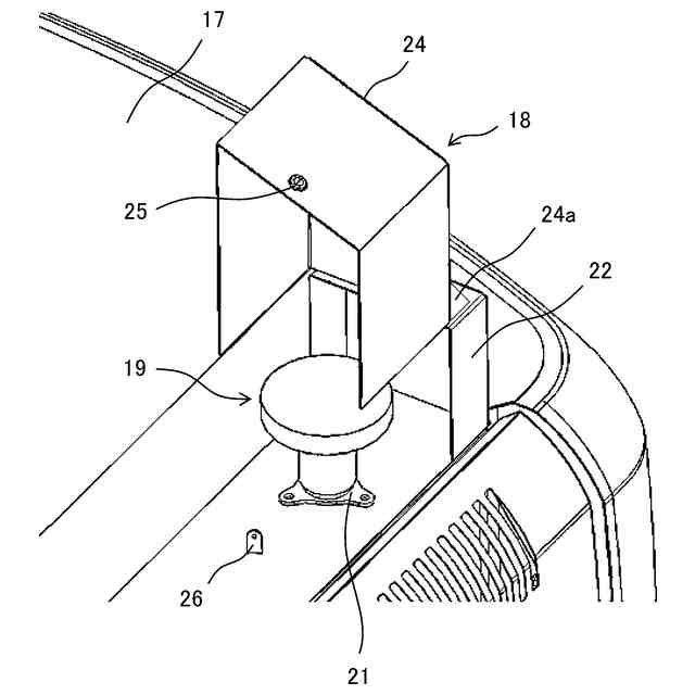
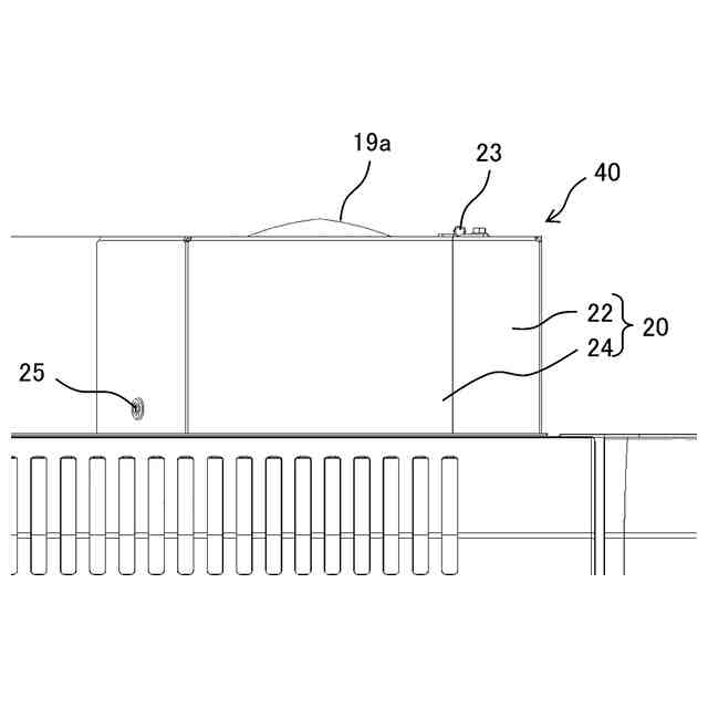
【0009】
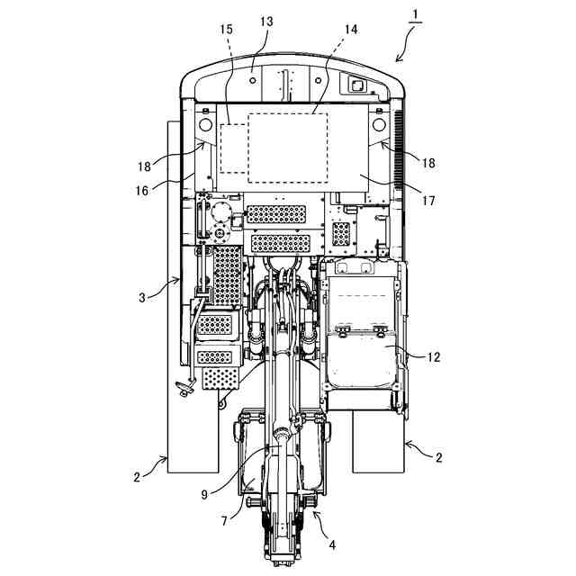
本発明の実施形態に係る油圧ショベルの側面図である。
油圧ショベルの平面図である。
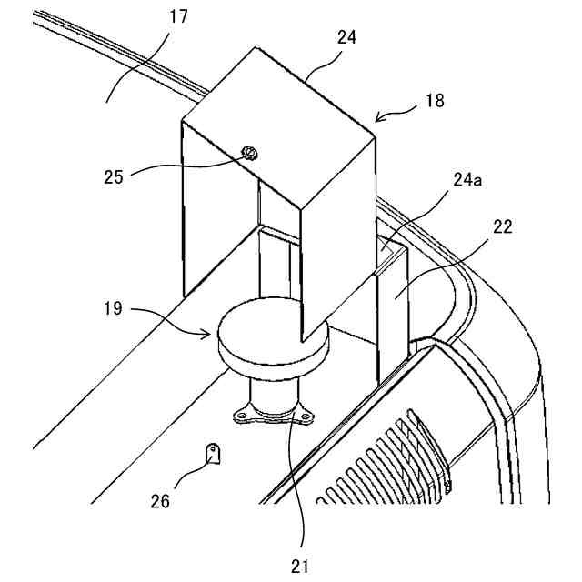
アンテナユニットの斜視図である。
アンテナユニットの断面図である。
アンテナユニットのアンテナカバーを開放した状態を示す斜視図である。
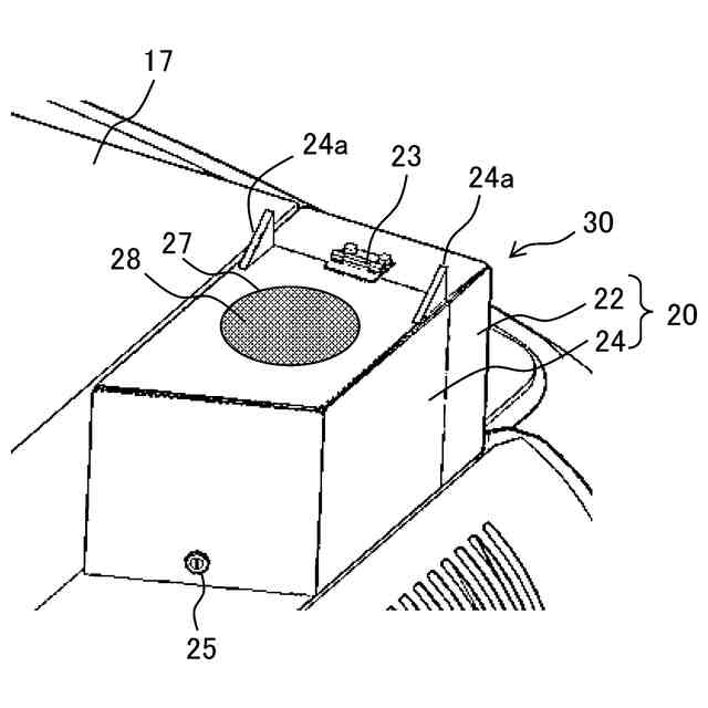
変形例1に係るアンテナユニットの斜視図である
変形例2に係るアンテナユニットの側面図である。
変形例2に係るアンテナユニットの断面図である。
【発明を実施するための形態】
【0010】
以下、本発明の実施形態に係る作業機械について、図面を参照して説明する。
(【0011】以降は省略されています)
この特許をJ-PlatPat(特許庁公式サイト)で参照する
関連特許
日立建機株式会社
作業機械
23日前
日立建機株式会社
作業機械
23日前
日立建機株式会社
作業機械
23日前
日立建機株式会社
作業車両
19日前
日立建機株式会社
変速装置
23日前
日立建機株式会社
作業機械
23日前
日立建機株式会社
作業機械
23日前
日立建機株式会社
作業機械
17日前
日立建機株式会社
作業車両
23日前
日立建機株式会社
運用管理装置
23日前
日立建機株式会社
映像記録装置
23日前
日立建機株式会社
ホイールローダ
23日前
日立建機株式会社
ホイールローダ
23日前
日立建機株式会社
遠隔制御システム
23日前
日立建機株式会社
建設発生土の管理システム
23日前
日立建機株式会社
鉱山管理装置及び鉱山管理方法
23日前
日立建機株式会社
CO2排出量削減方針生成装置
23日前
日立建機株式会社
映像再生装置、映像共有システム
23日前
日立建機株式会社
作業機械管理システム及び作業機械
18日前
日立建機株式会社
運搬車両認識システム及び作業機械
10日前
日立建機株式会社
リスク判定装置及びリスク判定システム
23日前
日立建機株式会社
建設機械の制御装置および遠隔操作システム
23日前
個人
バケット
3日前
個人
建物の不同沈下の修正方法
10日前
株式会社富田製作所
継手部構造
3日前
株式会社大林組
操縦装置
6日前
千代田工営株式会社
回転貫入杭
17日前
株式会社熊谷組
山留壁用親杭
23日前
日立建機株式会社
作業機械
23日前
ヤンマーホールディングス株式会社
作業機械
16日前
ヤンマーホールディングス株式会社
作業機械
16日前
日立建機株式会社
作業機械
17日前
日立建機株式会社
作業車両
19日前
日本車輌製造株式会社
建設機械
19日前
FKS株式会社
擁壁及び擁壁の築造方法
5日前
鹿島建設株式会社
接続方法および接続構造
19日前
続きを見る
他の特許を見る