TOP
|
特許
|
意匠
|
商標
特許ウォッチ
Twitter
他の特許を見る
公開番号
2025154332
公報種別
公開特許公報(A)
公開日
2025-10-10
出願番号
2024057260
出願日
2024-03-29
発明の名称
運用管理装置
出願人
日立建機株式会社
代理人
弁理士法人サンネクスト国際特許事務所
主分類
E02F
9/26 20060101AFI20251002BHJP(水工;基礎;土砂の移送)
要約
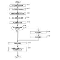
【課題】実質の作業進捗に対する作業の有効性を考慮した建設機械の管理を実現する。
【解決手段】運用管理装置300は、建設機械の運用管理を行う装置であって、建設機械の動作状況に関する車体情報340を取得する車体情報取得部311と、車体情報取得部311により取得された車体情報340に基づいて、建設機械が所定の作業内容を実施しているか否かの判定を行う作業判定部313と、作業判定部313による判定結果に基づいて、建設機械の管理者またはオペレータへの通知を行う通知部314とを備える。
【選択図】図4
特許請求の範囲
【請求項1】
建設機械の運用管理を行う装置であって、
前記建設機械の動作状況に関する車体情報を取得する車体情報取得部と、
前記車体情報取得部により取得された前記車体情報に基づいて、前記建設機械が所定の作業内容を実施しているか否かの判定を行う作業判定部と、
前記作業判定部による判定結果に基づいて、前記建設機械の管理者またはオペレータへの通知を行う通知部と、を備える
ことを特徴とする運用管理装置。
続きを表示(約 1,100 文字)
【請求項2】
請求項1に記載の運用管理装置において、
前記車体情報は、前記建設機械に対する前記オペレータの操作情報と、前記建設機械に搭載されている動力源の運転情報と、前記建設機械の位置情報と、を含み、
前記作業判定部は、前記操作情報、前記運転情報および前記位置情報に基づいて、前記建設機械の操作状態に関する操作パラメータと、前記動力源の運転状態に関する運転パラメータと、前記建設機械の位置に関する位置パラメータと、をそれぞれ算出し、算出した前記操作パラメータ、前記運転パラメータおよび前記位置パラメータを用いて、前記判定を行う
ことを特徴とする運用管理装置。
【請求項3】
請求項2に記載の運用管理装置において、
前記作業判定部は、前記操作パラメータ、前記運転パラメータおよび前記位置パラメータが、前記作業内容に応じて各々に定められた作業判定条件を満たすか否かを判定し、前記操作パラメータ、前記運転パラメータおよび前記位置パラメータの全てが前記作業判定条件を満たす場合に、前記建設機械が前記作業内容を実施していると判定する
ことを特徴とする運用管理装置。
【請求項4】
請求項3に記載の運用管理装置において、
前記建設機械が実施可能な複数種類の作業内容のいずれかを、前記建設機械が実施すべき作業内容として登録する作業登録部を備え、
前記作業判定部は、前記作業内容ごとに予め設定された作業判定条件のうち、前記作業登録部により登録された作業内容の作業判定条件を用いて、前記判定を行う
ことを特徴とする運用管理装置。
【請求項5】
請求項3または4に記載の運用管理装置において、
前記通知部は、前記作業判定部により前記建設機械が前記作業内容を実施していないと判定された状態が所定の通知時間以上継続した場合に、前記通知を行う
ことを特徴とする運用管理装置。
【請求項6】
請求項5に記載の運用管理装置において、
前記作業判定部により前記建設機械が前記作業内容を実施していないと判定された状態が所定の動作制限時間以上継続した場合に、前記建設機械の動作を制限する動作制限部を備える
ことを特徴とする運用管理装置。
【請求項7】
請求項6に記載の運用管理装置において、
前記動作制限部により前記建設機械の動作が制限された場合に、前記建設機械の動作制限を解除する動作制限解除部を備える
ことを特徴とする運用管理装置。
発明の詳細な説明
【技術分野】
【0001】
本発明は、建設機械の運用管理を行う装置に関する。
続きを表示(約 1,600 文字)
【背景技術】
【0002】
油圧ショベルを代表とする建設機械の中には、所定の可動部位を駆動させるための油圧アクチュエータと、電磁弁の開閉制御により油圧アクチュエータに供給される油圧の制御を行うコントローラと、を搭載しているものがある。建設機械に対するオペレータの操作内容や建設機械のエンジンの状態は、電気信号としてコントローラに入出力され、これらの電気信号に基づいてコントローラにより電磁弁の開閉制御が行われる。そのため、建設機械に対してオペレータがどのような操作を行っており、その操作に応じた建設機械の動作がどの程度効率的かを、コントローラに入出力される電気信号に基づいて客観的に判定することが提案されている。
【0003】
建設機械の動作に対する効率性の判定に関して、特許文献1に記載の技術が知られている。特許文献1には、建設機械の前方に取り付けたカメラで取得した映像から、テンプレート画像との比較とパターンマッチングによって建設機械の作業内容を判定するとともに、燃費の良否判定を行う建設機械の省燃費運転支援システムが記載されている。
【先行技術文献】
【特許文献】
【0004】
特開2008-240361号公報
【発明の概要】
【発明が解決しようとする課題】
【0005】
様々な建設機械が稼働することで所定の作業が行われる建設現場では、各建設機械の受け持つ作業内容によっては、特定の建設機械に待機時間が発生することがある。例えば、ショベルで掘削した土砂をダンプに積み込んで搬出する建設現場において、ダンプに土砂を積み込み終えたショベルは、次のダンプが来るまで待機する場合がある。この場合、待機中のショベルでは実質の作業進捗のために行うべき作業が無く、そのため手隙となったショベルのオペレータは、周囲の整地や土砂の埋め戻し等、作業進捗には必ずしも必要ではない補助的な作業をショベルで行うことがある。しかしながら、このような実質の作業進捗に寄与しない作業は無駄な燃料消費を招き、結果的には工事のコストアップに繋がる。
【0006】
そこで、建設機械の動作中にその作業内容を把握し、当該作業が実質の作業進捗にとって有効であるかどうかを考慮して、建設機械の管理を行うことが求められている。しかしながら、特許文献1に記載のシステムでは、建設機械が実施中の作業内容を判定することが可能であるが、その作業が実質の作業進捗にとって有効であるかどうかを判断することはできない。
【0007】
本発明は、上記の点に鑑みてなされたものであり、その目的とするところは、実質の作業進捗に対する作業の有効性を考慮した建設機械の運用管理を実現することにある。
【課題を解決するための手段】
【0008】
本発明による運用管理装置は、建設機械の運用管理を行う装置であって、前記建設機械の動作状況に関する車体情報を取得する車体情報取得部と、前記車体情報取得部により取得された前記車体情報に基づいて、前記建設機械が所定の作業内容を実施しているか否かの判定を行う作業判定部と、前記作業判定部による判定結果に基づいて、前記建設機械の管理者またはオペレータへの通知を行う通知部と、を備える。
【発明の効果】
【0009】
本発明によれば、実質の作業進捗に対する作業の有効性を考慮した建設機械の管理を実現できる。
【0010】
なお、本発明に関連する更なる特徴は、本明細書の記述、添付図面から明らかになるものである。また、上記した以外の、課題、構成及び効果は、以下の実施形態の説明により明らかにされる。
【図面の簡単な説明】
(【0011】以降は省略されています)
この特許をJ-PlatPat(特許庁公式サイト)で参照する
関連特許
日立建機株式会社
油圧機器
1か月前
日立建機株式会社
作業機械
20日前
日立建機株式会社
作業機械
27日前
日立建機株式会社
転圧機械
27日前
日立建機株式会社
作業機械
1か月前
日立建機株式会社
作業機械
27日前
日立建機株式会社
作業機械
27日前
日立建機株式会社
作業機械
1か月前
日立建機株式会社
作業機械
1か月前
日立建機株式会社
油圧機器
28日前
日立建機株式会社
建設機械
27日前
日立建機株式会社
作業機械
29日前
日立建機株式会社
作業機械
29日前
日立建機株式会社
作業機械
29日前
日立建機株式会社
作業車両
29日前
日立建機株式会社
作業車両
29日前
日立建機株式会社
建設機械
29日前
日立建機株式会社
建設機械
29日前
日立建機株式会社
建設機械
1か月前
日立建機株式会社
建設機械
27日前
日立建機株式会社
作業車両
27日前
日立建機株式会社
作業機械
26日前
日立建機株式会社
作業機械
26日前
日立建機株式会社
作業車両
1か月前
日立建機株式会社
作業機械
26日前
日立建機株式会社
建設機械
1か月前
日立建機株式会社
作業機械
1か月前
日立建機株式会社
作業機械
1か月前
日立建機株式会社
変速装置
26日前
日立建機株式会社
作業車両
22日前
日立建機株式会社
作業機械
1か月前
日立建機株式会社
建設機械
1か月前
日立建機株式会社
作業機械
26日前
日立建機株式会社
作業機械
26日前
日立建機株式会社
作業車両
26日前
日立建機株式会社
ポンプ装置
27日前
続きを見る
他の特許を見る