TOP
|
特許
|
意匠
|
商標
特許ウォッチ
Twitter
他の特許を見る
10個以上の画像は省略されています。
公開番号
2025144258
公報種別
公開特許公報(A)
公開日
2025-10-02
出願番号
2024043947
出願日
2024-03-19
発明の名称
作業機械
出願人
日立建機株式会社
代理人
弁理士法人武和国際特許事務所
主分類
E02F
9/00 20060101AFI20250925BHJP(水工;基礎;土砂の移送)
要約
【課題】エアクリーナへの水の侵入を防止しつつ、降雪時においても、エアクリーナが空気を取り込むことが可能な作業機械を提供する。
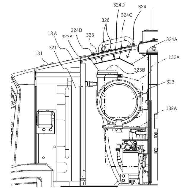
【解決手段】車体(1A,1B)と、車体に設けられ、内部にエンジン(311)を収容するエンジン室(13)と、エンジン室内に設けられ、空気の吸気口(323B)を有するエアクリーナ(313)と、を備えた作業機械(100)において、エンジン室内に設けられ、上方に開口する吸気口(323B)を上側から覆い、かつ、吸気口よりも高い位置に設けられた遮蔽部材(324)を備え、エンジン室の側面には、エンジン室の内外を連通する通気穴(132A)が設けられ、エアクリーナの吸気口は、エンジン室の内部、かつ、通気穴よりも高い位置に設けられ、遮蔽部材は、頂部(324C)を中心に折れ曲がって形成されている。
【選択図】図6
特許請求の範囲
【請求項1】
車体と、
前記車体に設けられ、内部にエンジンを収容するエンジン室と、
前記エンジン室内に設けられ、空気の吸気口を有するエアクリーナと、
を備えた作業機械において、
前記エンジン室内に設けられ、上方に開口する前記吸気口を上側から覆い、かつ、前記吸気口よりも高い位置に設けられた遮蔽部材を備え、
前記エンジン室の側面には、前記エンジン室の内外を連通する通気穴が設けられ、
前記エアクリーナの前記吸気口は、前記エンジン室の内部、かつ、前記通気穴よりも高い位置に設けられ、
前記遮蔽部材は、頂部を中心に折れ曲がって形成されている、
ことを特徴とする作業機械。
続きを表示(約 680 文字)
【請求項2】
請求項1に記載の作業機械において、
前記エンジン室の内部には、熱交換器と、前記熱交換器に冷却風を導くファンがさらに収容され、
前記ファンは、前記車体の前後方向に流れる前記冷却風を生起し、
前記遮蔽部材は、前記冷却風の流れに沿って前記頂部からそれぞれ前後方向に下り勾配で傾斜している、
ことを特徴とする作業機械。
【請求項3】
請求項2に記載の作業機械において、
前記ファンは、前記車体の前側から後側へ向かう前記冷却風を生起し、
前記遮蔽部材及び前記吸気口は、前記ファンよりも前方に配置され、
前記遮蔽部材の前端と前記吸気口との距離は、前記遮蔽部材の後端と前記吸気口との距離よりも大きい、
ことを特徴とする作業機械。
【請求項4】
請求項1に記載の作業機械において、
前記エンジン室の上壁には、前記吸気口に接続可能なパイプを挿通させるための開口が設けられていると共に、前記開口を塞ぐ蓋体が設けられており、
前記蓋体に前記遮蔽部材が着脱可能に取り付けられている、
ことを特徴とする作業機械。
【請求項5】
請求項1に記載の作業機械において、
前記車体に設けられる運転室を備え、
前記エンジン室の上壁は、前記車体の前記運転室側から前記車体外側に向かって下り勾配で傾斜する上壁傾斜面部を有し、
前記遮蔽部材及び前記吸気口は、前記上壁傾斜面部の下側に配置されていることを特徴とする作業機械。
発明の詳細な説明
【技術分野】
【0001】
本発明は、エアクリーナを備えた作業機械に関する。
続きを表示(約 1,600 文字)
【背景技術】
【0002】
作業機械の一例であるホイールローダには、車体に設けられたエンジン室の内部に、エンジンに供給する空気を清浄するためのエアクリーナが配置されている。
【0003】
例えば特許文献1には、内部にエンジンを収容するエンジン室と、エンジン室内に配置されたエアクリーナ本体と、エアクリーナ本体の上部に装着されてエンジン室の天板から上方に突出する吸気筒と、空気の取入口を有して吸気筒の全体を覆うカバー部材と、カバー部材内において吸気筒の上方に配置された遮蔽部材と、を備えたホイールローダが開示されている。このホイールローダは、遮蔽部材が吸気筒の上方を覆うように配置されており、取入口を介してカバー部材内に侵入してきた雨水などが遮蔽部材に遮られるため、エアクリーナ内に雨水などの液体が侵入することを防止できる、とされている。
【先行技術文献】
【特許文献】
【0004】
特許第5449629号公報
【発明の概要】
【発明が解決しようとする課題】
【0005】
しかしながら、特許文献1に記載されたホイールローダは、エアクリーナの空気を取り入れる吸気部分がエンジン室の外部にあるため、降雪時には積もった雪により吸気口を塞いでしまい、エアクリーナが空気を取り込めなくなってしまうおそれがある。
【0006】
本発明は、このような従来技術の実情からなされたもので、その目的は、エアクリーナへの水の侵入を防止しつつ、降雪時においても、エアクリーナが空気を取り込むことが可能な作業機械を提供することにある。
【課題を解決するための手段】
【0007】
上記の目的を達成するために、代表的な本発明は、車体と、前記車体に設けられ、内部にエンジンを収容するエンジン室と、前記エンジン室内に設けられ、空気の吸気口を有するエアクリーナと、を備えた作業機械において、前記エンジン室内に設けられ、上方に開口する前記吸気口を上側から覆い、かつ、前記吸気口よりも高い位置に設けられた遮蔽部材を備え、前記エンジン室の側面には、前記エンジン室の内外を連通する通気穴が設けられ、前記エアクリーナの前記吸気口は、前記エンジン室の内部、かつ、前記通気穴よりも高い位置に設けられ、前記遮蔽部材は、頂部を中心に折れ曲がって形成されている、ことを特徴とする。
【発明の効果】
【0008】
本発明に係る作業機械によれば、エアクリーナへの水の侵入を防止しつつ、降雪時においても、エアクリーナが空気を取り込むことができる。なお、前述した以外の課題、構成、及び効果は、以下の実施形態の説明により明らかにされる。
【図面の簡単な説明】
【0009】
本発明の実施形態に係るホイールローダの外観を示す側面図である。
ホイールローダの平面図である。
ホイールローダの背面図である。
ホイールローダを上方から見た斜視図である。
エンジン室の内部を示すホイールローダの右側面図である。
遮蔽部材の設置状態を示す右側面図である。
エアクリーナと遮蔽部材の配置関係を示す斜視図である。
エアクリーナと遮蔽部材の配置関係を示す右側面図である。
遮蔽部材が取り付けられた蓋体をエンジン室の上方から見た平面図である。
夏季状況下におけるエアクリーナの使用状態を示すホイールローダの右側面図である。
【発明を実施するための形態】
【0010】
以下、本発明の実施形態に係る作業機械の一態様として、ホイール式の作業機械であるホイールローダを例に挙げて説明する。
(【0011】以降は省略されています)
この特許をJ-PlatPat(特許庁公式サイト)で参照する
関連特許
日立建機株式会社
作業機械
19日前
日立建機株式会社
油圧機器
1か月前
日立建機株式会社
作業機械
1か月前
日立建機株式会社
作業機械
1か月前
日立建機株式会社
油圧機器
1か月前
日立建機株式会社
作業機械
1か月前
日立建機株式会社
作業機械
1か月前
日立建機株式会社
作業機械
1か月前
日立建機株式会社
作業車両
1か月前
日立建機株式会社
作業車両
1か月前
日立建機株式会社
建設機械
1か月前
日立建機株式会社
建設機械
1か月前
日立建機株式会社
建設機械
1か月前
日立建機株式会社
作業機械
1か月前
日立建機株式会社
転圧機械
1か月前
日立建機株式会社
作業車両
1か月前
日立建機株式会社
建設機械
1か月前
日立建機株式会社
作業機械
1か月前
日立建機株式会社
作業機械
1か月前
日立建機株式会社
作業機械
1か月前
日立建機株式会社
建設機械
1か月前
日立建機株式会社
作業機械
1か月前
日立建機株式会社
作業機械
1か月前
日立建機株式会社
作業機械
1か月前
日立建機株式会社
建設機械
1か月前
日立建機株式会社
作業機械
2か月前
日立建機株式会社
作業車両
1か月前
日立建機株式会社
作業機械
2か月前
日立建機株式会社
作業機械
1か月前
日立建機株式会社
作業車両
1か月前
日立建機株式会社
変速装置
1か月前
日立建機株式会社
作業機械
1か月前
日立建機株式会社
建設機械
1か月前
日立建機株式会社
作業機械
1か月前
日立建機株式会社
作業車両
1か月前
日立建機株式会社
作業機械
1か月前
続きを見る
他の特許を見る