TOP
|
特許
|
意匠
|
商標
特許ウォッチ
Twitter
他の特許を見る
公開番号
2025149275
公報種別
公開特許公報(A)
公開日
2025-10-08
出願番号
2024049818
出願日
2024-03-26
発明の名称
油圧機器
出願人
日立建機株式会社
代理人
弁理士法人広和特許事務所
主分類
F04B
53/16 20060101AFI20251001BHJP(液体用容積形機械;液体または圧縮性流体用ポンプ)
要約
【課題】 ケーシング本体やシール構造の大型化を抑えつつ、油路を流れる油液が外部に漏れ出るのを防止できるようにする。
【解決手段】 ポンプケーシング3の端面3Dには、切換油路17の途中に位置してポンプケーシング3の端面3Dに開口して設けられたバルブシート収容室20の開口端とケーシング本体2内のドレン室5とを連通する溝部24を設ける構成としている。これにより、バルブシート収容室20の内面20Bとバルブシート21の筒部21Aとの間から漏れ出た圧油は、溝部24を通じてドレン室5に排出することができる。
【選択図】 図3
特許請求の範囲
【請求項1】
第1ケーシングの端面と第2ケーシングの端面とが当接することで内部にドレン室が形成されるケーシング本体と、
前記第1ケーシングと前記第2ケーシングとに亘って延び、油液が流通する油路と、
前記油路の途中に位置して前記第1ケーシングの前記端面に開口して設けられたバルブシート収容室と、
前記バルブシート収容室に収容され、内部が前記油路に連通すると共に弁座が形成された円筒状のバルブシートと、
前記バルブシート内に設けられ、油液が前記油路を前記第2ケーシングから前記第1ケーシングに向けて流れるときに前記弁座から離座し、前記第1ケーシングから前記第2ケーシングに向けて流れるときに前記弁座に着座する弁体と、
を備えた油圧機器において、
前記第1ケーシングの前記端面と前記第2ケーシングの前記端面とのうち少なくとも一方の端面には、前記バルブシート収容室の開口端と前記ドレン室とを連通する溝部を設ける構成としたことを特徴とする油圧機器。
続きを表示(約 440 文字)
【請求項2】
請求項1に記載の油圧機器において、
前記バルブシートは、前記第2ケーシングの前記端面に対面する対向面の外周側を縮径することによって縮径段部を備え、
前記第2ケーシングの前記端面と前記縮径段部との間には、環状の隙間が形成され、
前記溝部は、前記隙間と前記ドレン室とを連通していることを特徴とする油圧機器。
【請求項3】
請求項1に記載の油圧機器において、
前記第1ケーシングの前記端面と前記第2ケーシングの前記端面との間には、前記ドレン室を取り囲んでシール部材が設けられ、
前記シール部材は、前記バルブシート収容室よりも前記ドレン室から離れた外側を通して配置されていることを特徴とする油圧機器。
【請求項4】
請求項1に記載の油圧機器において、
前記ケーシング本体の前記ドレン室には、シリンダブロックのシリンダ穴でピストンが往復動する回転機構を備えていることを特徴とする油圧機器。
発明の詳細な説明
【技術分野】
【0001】
本開示は、例えば、油圧ショベル、油圧クレーン等の建設機械に搭載され、油圧ポンプ、油圧モータとして用いられる液圧回転機等の油圧機器に関する。
続きを表示(約 1,900 文字)
【背景技術】
【0002】
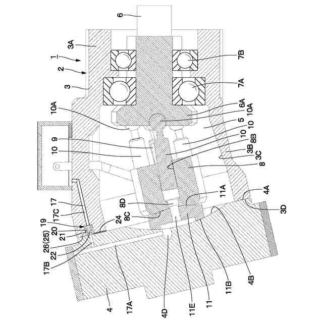
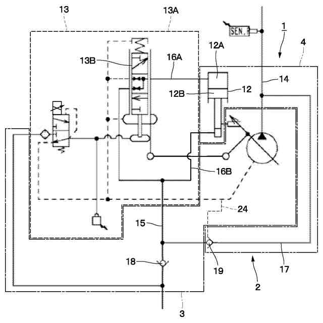
油圧機器の代表例となる液圧回転機は、第1ケーシングの端面と第2ケーシングの端面とが当接することで内部にドレン室が形成されるケーシング本体と、ドレン室に設けられ、シリンダ内でピストンが往復動する回転機構と、を備えている(特許文献1)。ケーシング本体には、例えば、第1ケーシングと第2ケーシングとに亘って延び、油液が流通する油路が設けられている。
【0003】
また、液圧回転機には、動作を制御するための様々な種類の弁が設けられている。弁の一種としては、油液の流れを制御する逆止弁があり、例えば、前述した油路に設けられている。この逆止弁は、油路の途中に位置して第1ケーシングの端面に開口して設けられたバルブシート収容室と、バルブシート収容室に収容され、内部が油路に連通すると共に弁座が形成された円筒状のバルブシートと、バルブシート内に設けられて弁座に離着座する弁体と、を備えている。この逆止弁は、油液が油路を第2ケーシングから第1ケーシングに向けて流れるときに弁座から弁体が離座し、第1ケーシングから第2ケーシングに向けて流れるときに弁座に弁体が着座する構成となっている。
【0004】
ここで、油路には、高圧な作動油(圧油)が流れるから、バルブシート収容室とバルブシートとの隙間、第1ケーシングの端面と第2ケーシングの端面との隙間を通じて圧油が外部に漏れる虞がある。そこで、逆止弁は、バルブシートの外周側にOリングを設け、バルブシート収容室とバルブシートとの間をシールしている(特許文献2)。
【先行技術文献】
【特許文献】
【0005】
特開平7-54767号公報
特開2007-56942号公報
【発明の概要】
【発明が解決しようとする課題】
【0006】
ところで、特許文献2の発明のように、バルブシートの外周側にOリングを円筒状に設けた構成では、油圧ポンプからの高圧の圧油が油路内を流れ、かつOリングが微小に移動する可能性がある。この場合、油圧ポンプの吐出圧力脈動による微振動でバルブシートが振動することで、Oリングの耐久性が低下する虞がある。このために、油圧ポンプの吐出圧力脈動による微振動を生じる油路に逆止弁を設ける場合には、Oリングが摺動する面の仕上げを良くしたり、ダストや異物の侵入を防いだり等の対策が必要である。これに伴い、シール構造が大型化し、部品点数も増大してしまうという問題がある。
【0007】
そこで、微振動によるOリングの耐久性の低下を防止するために、バルブシート収容室を囲むように第1ケーシングの端面に環状の溝を形成し、この溝に設けたOリングを第2ケーシングの端面に押し付けることにより、油液の漏れを防止することが考えられる。しかし、環状の溝を設けるには、大きなスペースが必要になるから、液圧回転機が大型化してしまうという問題がある。
【0008】
本発明の一実施形態の目的は、ケーシング本体やシール構造の大型化を抑えつつ、油路を流れる油液が外部に漏れ出るのを防止できるようにした油圧機器を提供することにある。
【課題を解決するための手段】
【0009】
本発明の一実施形態は、第1ケーシングの端面と第2ケーシングの端面とが当接することで内部にドレン室が形成されるケーシング本体と、前記第1ケーシングと前記第2ケーシングとに亘って延び、油液が流通する油路と、前記油路の途中に位置して前記第1ケーシングの前記端面に開口して設けられたバルブシート収容室と、前記バルブシート収容室に収容され、内部が前記油路に連通すると共に弁座が形成された円筒状のバルブシートと、前記バルブシート内に設けられ、油液が前記油路を前記第2ケーシングから前記第1ケーシングに向けて流れるときに前記弁座から離座し、前記第1ケーシングから前記第2ケーシングに向けて流れるときに前記弁座に着座する弁体と、を備えた油圧機器において、前記第1ケーシングの前記端面と前記第2ケーシングの前記端面とのうち少なくとも一方の端面には、前記バルブシート収容室の開口端と前記ドレン室とを連通する溝部を設ける構成としたことにある。
【発明の効果】
【0010】
本発明の一実施形態によれば、油圧機器は、部品点数およびケーシング本体やシール構造の大型化を抑えつつ、油路を流れる油液が外部に漏れ出るのを防止できるから、弁部の組立および分解が容易になる。また、シール部の信頼性の向上が図られる。
【図面の簡単な説明】
(【0011】以降は省略されています)
この特許をJ-PlatPat(特許庁公式サイト)で参照する
関連特許
日立建機株式会社
油圧機器
24日前
日立建機株式会社
作業車両
23日前
日立建機株式会社
作業機械
23日前
日立建機株式会社
建設機械
23日前
日立建機株式会社
建設機械
23日前
日立建機株式会社
作業機械
22日前
日立建機株式会社
作業機械
16日前
日立建機株式会社
作業機械
23日前
日立建機株式会社
作業機械
22日前
日立建機株式会社
変速装置
22日前
日立建機株式会社
作業機械
23日前
日立建機株式会社
作業機械
22日前
日立建機株式会社
作業車両
22日前
日立建機株式会社
作業機械
22日前
日立建機株式会社
作業機械
22日前
日立建機株式会社
作業車両
18日前
日立建機株式会社
転圧機械
23日前
日立建機株式会社
ポンプ装置
23日前
日立建機株式会社
運用管理装置
22日前
日立建機株式会社
映像記録装置
22日前
日立建機株式会社
施工管理装置
23日前
日立建機株式会社
電動式作業機械
23日前
日立建機株式会社
ダンプトラック
23日前
日立建機株式会社
ホイールローダ
22日前
日立建機株式会社
ホイールローダ
22日前
日立建機株式会社
作業支援システム
23日前
日立建機株式会社
遠隔制御システム
22日前
日立建機株式会社
コントロールバルブ
23日前
日立建機株式会社
作業車両の梯子装置
23日前
日立建機株式会社
車両用アクスル装置
23日前
日立建機株式会社
建設発生土の管理システム
22日前
日立建機株式会社
可変容量型斜板式液圧回転機
23日前
日立建機株式会社
作業機械用情報入力システム
23日前
日立建機株式会社
CO2排出量削減方針生成装置
22日前
日立建機株式会社
鉱山管理装置及び鉱山管理方法
22日前
日立建機株式会社
映像再生装置、映像共有システム
22日前
続きを見る
他の特許を見る