TOP
|
特許
|
意匠
|
商標
特許ウォッチ
Twitter
他の特許を見る
公開番号
2025150992
公報種別
公開特許公報(A)
公開日
2025-10-09
出願番号
2024052190
出願日
2024-03-27
発明の名称
コントロールバルブ
出願人
日立建機株式会社
代理人
弁理士法人開知
主分類
F16K
31/06 20060101AFI20251002BHJP(機械要素または単位;機械または装置の効果的機能を生じ維持するための一般的手段)
要約
【課題】コントロールバルブに搭載された電磁弁等の電子機器とハーネスとの接続作業の工数を低減する。
【解決手段】スプールを内部に有するハウジングと、前記ハウジングに固定されてそれぞれ第1端子を有する複数の電子機器と、第2端子を有する複数のハーネスを内部に通したブロックとを備え、前記複数のハーネスの各第2端子が前記ブロックに取り付けられており、前記ハウジングに対する前記ブロックの脱着に伴って複数の前記第1端子及び前記第2端子が解線及び結線されるように構成されているコントロールバルブを提供する。
【選択図】図4
特許請求の範囲
【請求項1】
スプールを内部に有するハウジングと、
前記ハウジングに固定されてそれぞれ第1端子を有する複数の電子機器と、
前記ハウジングに形成された取り付け穴に取り付けられ、第2端子を有する複数のハーネスが内部を通過するブロックとを備え、
前記複数のハーネスの各第2端子が前記ブロックに取り付けられており、前記ハウジングに対する前記ブロックの脱着に伴って複数の前記第1端子及び前記第2端子が解線及び結線されるように構成されていることを特徴とするコントロールバルブ。
続きを表示(約 810 文字)
【請求項2】
請求項1に記載のコントロールバルブにおいて、
前記ブロックは、前記ハウジングに対して単一の所定の角度姿勢でのみ固定可能であることを特徴とするコントロールバルブ。
【請求項3】
請求項2に記載のコントロールバルブにおいて、
前記ハウジングに対して前記所定の角度姿勢で前記ブロックが固定された状態でのみ全ての前記第1端子及び前記第2端子が結線されるように構成されていることを特徴とするコントロールバルブ。
【請求項4】
請求項3に記載のコントロールバルブにおいて、
前記ブロックは、前記ハウジングの内部を通る第1油路に連通する第2油路を内部に備えていることを特徴とするコントロールバルブ。
【請求項5】
請求項4に記載のコントロールバルブにおいて、
前記ハウジングに対して前記所定の角度姿勢で前記ブロックが固定された状態で前記第1油路及び前記第2油路が連通するように構成されていることを特徴とするコントロールバルブ。
【請求項6】
請求項5に記載のコントロールバルブにおいて、
前記ブロックにおける前記第2油路の開口と前記第2端子との間をシールする第1シール材を備えたことを特徴とするコントロールバルブ。
【請求項7】
請求項6に記載のコントロールバルブにおいて、
前記第2油路の開口を挟んで前記第1シール材と反対側に配置した第2シール材を備えたことを特徴とするコントロールバルブ。
【請求項8】
請求項1に記載のコントロールバルブにおいて、
前記電子機器は電磁弁であることを特徴とするコントロールバルブ。
【請求項9】
請求項2に記載のコントロールバルブにおいて、
前記ブロックは円柱状であることを特徴とするコントロールバルブ。
発明の詳細な説明
【技術分野】
【0001】
本発明は、例えば油圧ショベルといった建設機械等に備えられるコントロールバルブに関する。
続きを表示(約 1,300 文字)
【背景技術】
【0002】
油圧ショベル等の建設機械で使用されるコントロールバルブには、スプールを駆動するパイロット圧を生成する電磁弁を搭載したものがある。電磁弁は、ハーネスを介してコントローラから入力される指令信号により駆動される。
【0003】
近年、建設機械の分野では、マシンコントロール等の電子制御機能の性能向上に対応するため、コントロールバルブに搭載される電磁弁や圧力センサ等の電子機器は増加傾向にある。
【0004】
コントロールバルブへの電子機器の搭載方法として、特許文献1には、各油圧アクチュエータへの油圧の供給を制御するスプールのバネ室を構成するパイロットキャップをメインハウジングの側面に設置し、スプール制御を行う電磁弁をパイロットキャップに直接接続する構造が開示されている。この構造の場合、パイロットキャップを交換することで、電磁弁によるパイロット圧の制御機能の有無を変更することができる。
【先行技術文献】
【特許文献】
【0005】
特許第6944407号公報
【発明の概要】
【発明が解決しようとする課題】
【0006】
特許文献1の技術を適用したコントロールバルブでは、パイロットキャップに接続される各電磁弁の端子に対し、対応するハーネスを個別に接続する作業が必要となる。コントロールバルブに対する電磁弁の搭載数が増加すると、電磁弁に接続するハーネスの数も増え、組立やメンテナンスの際に電磁弁にハーネスを接続する作業の工数が増加する。
【0007】
本発明の目的は、搭載された電磁弁等の電子機器とハーネスとの接続作業の工数を低減することができるコントロールバルブを提供することにある。
【課題を解決するための手段】
【0008】
上記目的を達成するために、本発明は、スプールを内部に有するハウジングと、前記ハウジングに固定されてそれぞれ第1端子を有する複数の電子機器と、第2端子を有する複数のハーネスを内部に通したブロックとを備え、前記複数のハーネスの各第2端子が前記ブロックに取り付けられており、前記ハウジングに対する前記ブロックの脱着に伴って複数の前記第1端子及び前記第2端子が解線及び結線されるように構成されているコントロールバルブを提供する。
【発明の効果】
【0009】
本発明によれば、コントロールバルブに搭載された電磁弁等の電子機器とハーネスとの接続作業の工数を低減することができる。
【図面の簡単な説明】
【0010】
本発明の一実施形態に係るコントロールバルブを適用する建設機械の一例である油圧ショベルの側面図
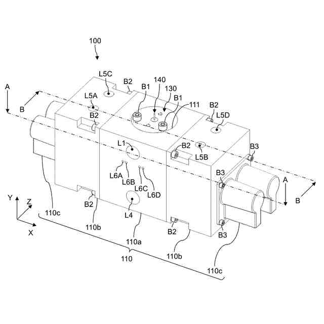
本発明の一実施形態に係るコントロールバルブの外観を表す斜視図
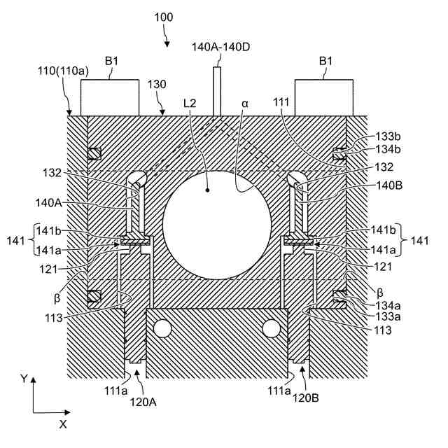
図2のA-A矢視による矢視断面図
図2のB-B矢視による矢視断面図
図4のC部の拡大図
【発明を実施するための形態】
(【0011】以降は省略されています)
この特許をJ-PlatPat(特許庁公式サイト)で参照する
関連特許
日立建機株式会社
油圧機器
1か月前
日立建機株式会社
作業車両
1か月前
日立建機株式会社
建設機械
1か月前
日立建機株式会社
建設機械
1か月前
日立建機株式会社
作業機械
1か月前
日立建機株式会社
作業車両
1か月前
日立建機株式会社
作業機械
1か月前
日立建機株式会社
作業機械
1か月前
日立建機株式会社
建設機械
3日前
日立建機株式会社
変速装置
1か月前
日立建機株式会社
作業機械
1か月前
日立建機株式会社
作業機械
1か月前
日立建機株式会社
転圧機械
1か月前
日立建機株式会社
作業機械
1か月前
日立建機株式会社
作業機械
1か月前
日立建機株式会社
建設機械
1か月前
日立建機株式会社
作業機械
29日前
日立建機株式会社
作業車両
1か月前
日立建機株式会社
作業機械
1か月前
日立建機株式会社
作業機械
1か月前
日立建機株式会社
作業機械
1か月前
日立建機株式会社
ポンプ装置
1か月前
日立建機株式会社
映像記録装置
1か月前
日立建機株式会社
運用管理装置
1か月前
日立建機株式会社
施工管理装置
1か月前
日立建機株式会社
ダンプトラック
29日前
日立建機株式会社
ホイールローダ
1か月前
日立建機株式会社
ホイールローダ
1か月前
日立建機株式会社
電動式作業機械
1か月前
日立建機株式会社
ダンプトラック
1か月前
日立建機株式会社
作業支援システム
1か月前
日立建機株式会社
電力管理システム
1日前
日立建機株式会社
遠隔制御システム
1か月前
日立建機株式会社
コントロールバルブ
1か月前
日立建機株式会社
作業車両の梯子装置
1か月前
日立建機株式会社
車両用アクスル装置
1か月前
続きを見る
他の特許を見る