TOP
|
特許
|
意匠
|
商標
特許ウォッチ
Twitter
他の特許を見る
公開番号
2025151034
公報種別
公開特許公報(A)
公開日
2025-10-09
出願番号
2024052250
出願日
2024-03-27
発明の名称
電動式作業機械
出願人
日立建機株式会社
代理人
弁理士法人サンネクスト国際特許事務所
主分類
B60K
15/063 20060101AFI20251002BHJP(車両一般)
要約
【課題】燃料電池を搭載した場合でも、水素ガスが車体内に滞留しにくい電動式作業機械を提供することができる。
【解決手段】燃料電池21と、燃料電池21から供給される電力により駆動する電動モータと、燃料電池21に供給する水素を貯留する水素タンク50と、燃料電池21、電動モータ、および水素タンク50を覆う水素タンク側外装カバー90Aと、を備えた電動式作業機械において、燃料電池21および電動モータは、仕切り部材95によって水素タンク50と仕切られており、水素タンク側外装カバー90Aには、水素タンク50の上部にあたる位置に開口が設けられていることを特徴とする電動式作業機械。
【選択図】図5B
特許請求の範囲
【請求項1】
燃料電池と、前記燃料電池から供給される電力により駆動する電動モータと、
前記燃料電池に供給する水素を貯留する水素タンクと、
前記燃料電池、前記電動モータ、および前記水素タンクを覆う外装カバーと、
を備えた電動式作業機械において、
前記燃料電池および前記電動モータは、仕切り部材によって前記外装カバー内で前記水素タンクと仕切られており、
前記外装カバーには、前記水素タンクの上部にあたる位置に開口が設けられていることを特徴とする電動式作業機械。
続きを表示(約 400 文字)
【請求項2】
前記水素タンクは、前記開口と対向した状態で設けられている請求項1に記載の電動式作業機械。
【請求項3】
前記水素タンクは、前記燃料電池および前記電動モータよりも上方に設けられている請求項2に記載の電動式作業機械。
【請求項4】
前記水素タンクは、前記燃料電池および前記電動モータと上面視で重なる位置に設けられている請求項3に記載の電動式作業機械。
【請求項5】
前記水素タンクは、複数かつ同一の高さで並べられて設けられている請求項2に記載の電動式作業機械。
【請求項6】
前記外装カバーの一部は、前記仕切り部材と共に前記水素タンクを収容する水素タンク収容室を画成し、
前記水素タンク収容室を画成する前記外装カバーの一部には、前記水素タンクへ水素を充填する水素充填口が設けられている請求項1に記載の電動式作業機械。
発明の詳細な説明
【技術分野】
【0001】
本発明は、特に燃料電池を搭載し、燃料電池から供給される電力により動作する電動式作業機械に関する。
続きを表示(約 1,900 文字)
【背景技術】
【0002】
近年、環境に配慮した燃料電池システムを、電動式作業機械に搭載することが試みられている。燃料電池システムは、動力源となる電動モータに電力を供給する燃料電池と、燃料電池に供給される水素を貯蔵する水素貯蔵容器とを含んで構成されている。
【0003】
特許文献1には、建設機械は、本体部と、本体部を走行させる走行装置との間に設けられ、本体部を旋回する第1旋回部と、本体部に接続された作業装置と、第1旋回部とは異なる第2旋回部により旋回可能な収容部と、を備えることが記載されている。収容部は、水素を貯蔵する水素タンクと水素タンクから供給される水素により発電を行う燃料電池とを収容し、本体部には、作業装置を駆動する油圧装置が配置されている。
【先行技術文献】
【特許文献】
【0004】
特開2022-180565号公報
【発明の概要】
【発明が解決しようとする課題】
【0005】
水素貯蔵容器への水素充填時には、移動式水素ステーション等の水素供給設備の充填ノズルを接続し、水素ガスを充填する。
しかしながら、充填作業の不備等により、水素ガスが車体内に滞留する可能性がある。車体稼働中であれば、冷却ファン等を用いることによって水素を外部へ排出することも可能であるが、休車時(メンテナンス時を含む)は、冷却ファンを含むすべての電気システムを停止している。また、補修のための溶接作業も電動式作業機械のメンテナンスに含まれるため、水素ガスが車体内に滞留することは、好ましくない。
【0006】
本発明は、燃料電池を搭載した場合でも、水素ガスが車体内に滞留しにくい電動式作業機械を提供することを目的とする。
【課題を解決するための手段】
【0007】
上記の課題を解決するため本発明は、燃料電池と、燃料電池から供給される電力により駆動する電動モータと、を有する強電システムと、燃料電池に供給する水素を貯留する水素タンクと、強電システムおよび水素タンクを覆う外装カバーと、を備え、強電システムと水素タンクとの間には、仕切り部材が設けられるとともに、外装カバーには、水素タンクの上部にあたる位置に開口が設けられていることを特徴とする作業機械である。この場合、燃料電池を搭載した場合でも、水素ガスが車体内に滞留しにくい電動式作業機械を提供することができる。
【0008】
ここで、例えば、水素タンクは、開口の下方に設けられている。この場合、水素タンクから水素が漏洩しても開口から外部に速やかに放出することができる。
また、例えば、水素タンクは、強電システムよりも上方に設けられている。この場合、水素が漏洩しても強電システム側に流れにくい。
さらに、例えば、水素タンクは、強電システムに対し、上面視で重なる位置に設けられている。この場合、水素配管を短くでき、電動式作業機械が油圧ショベルであった場合は後端半径を小さくできる。
またさらに、例えば、水素タンクは、同程度の高さに並ぶように複数個設けられる。この場合、電動式作業機械の全高を抑制することができ、開口から遠くならないため水素が漏洩したときに外部に速やかに排出することができる。
また、例えば、仕切り部材で仕切られることで水素タンク側となる外装カバーに、水素タンクへ水素を充填する水素充填口が設けられている。この場合、水素充填の際に貯留経路と強電システムと隔離することができる。
【発明の効果】
【0009】
本発明によれば、燃料電池を搭載した場合でも、水素ガスが車体内に滞留しにくい電動式作業機械を提供することができる。
【図面の簡単な説明】
【0010】
本実施形態における電動式作業機械の全体構成について示した図である。
油圧ショベルのシステム構成について示した図である。
本実施形態の油圧ショベルの旋回体の左後方図を示した図である。
本実施形態の油圧ショベルの旋回体の右前方図を示した図である。
旋回体の横断面図を示した図である。
図5Aの断面の位置を変更し、強電システムの位置を明確化した図である。
旋回体の上面図を示した図である。
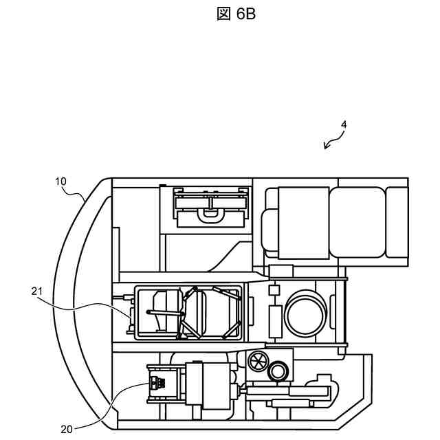
図6Aの断面の位置を変更し、強電システムの位置を明確化した図である。
油圧ショベルの水素充填の方法について説明した図である。
【発明を実施するための形態】
(【0011】以降は省略されています)
この特許をJ-PlatPat(特許庁公式サイト)で参照する
関連特許
日立建機株式会社
作業機械
23日前
日立建機株式会社
作業機械
24日前
日立建機株式会社
建設機械
24日前
日立建機株式会社
作業機械
1か月前
日立建機株式会社
ダンプトラック
23日前
日立建機株式会社
運搬車両認識システム及び作業機械
1か月前
個人
タイヤレバー
4か月前
個人
前輪キャスター
3か月前
個人
上部一体型自動車
1か月前
個人
タイヤ脱落防止構造
3か月前
個人
空間形成装置
1か月前
個人
ルーフ付きトライク
3か月前
日本精機株式会社
表示装置
4か月前
日本精機株式会社
照明装置
26日前
個人
マスタシリンダ
2か月前
個人
車両通過構造物
4か月前
日本精機株式会社
表示装置
4か月前
日本精機株式会社
表示装置
4か月前
日本精機株式会社
表示装置
3か月前
個人
常設収納型サンバイザー
1か月前
個人
乗合路線バスの客室装置
4か月前
株式会社ニフコ
照明装置
3か月前
日本精機株式会社
車載表示装置
1か月前
日本精機株式会社
車載表示装置
1か月前
日本精機株式会社
車載表示装置
2か月前
個人
音声ガイド、音声サービス
4か月前
日本精機株式会社
車載表示装置
1か月前
日本精機株式会社
画像投映装置
1か月前
株式会社ニフコ
収納装置
2か月前
日本精機株式会社
車室演出装置
3か月前
株式会社豊田自動織機
産業車両
3か月前
個人
円湾曲ホイール及び球体輪
4か月前
個人
回転窓ワイパー装置
1か月前
株式会社豊田自動織機
産業車両
26日前
井関農機株式会社
作業車両
2か月前
日本無線株式会社
取付金具
4か月前
続きを見る
他の特許を見る