TOP
|
特許
|
意匠
|
商標
特許ウォッチ
Twitter
他の特許を見る
10個以上の画像は省略されています。
公開番号
2025151206
公報種別
公開特許公報(A)
公開日
2025-10-09
出願番号
2024052521
出願日
2024-03-27
発明の名称
施工管理装置
出願人
日立建機株式会社
代理人
弁理士法人平木国際特許事務所
主分類
G06Q
50/08 20120101AFI20251002BHJP(計算;計数)
要約
【課題】工程への影響や作業方法の見直しを適切に行うための情報が得られる施工管理装置を提供する。
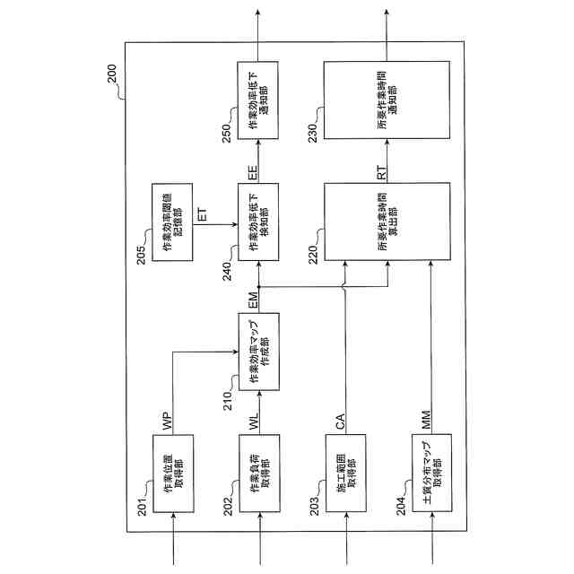
【解決手段】作業機械が施工範囲CAの作業を完了するまでに要する所要作業時間を推定する施工管理装置200であって、施工範囲の情報と、施工範囲内における作業機械の作業位置WPの情報と、作業機械の作業位置における作業負荷WLの情報と、に基づいて作業効率を施工範囲の作業位置に関連付けした作業効率マップEMを作成し、作業効率マップと施工範囲の情報に基づいて所要作業時間の推定値RTを算出する。
【選択図】図2
特許請求の範囲
【請求項1】
作業機械における各種の車体情報や施工条件に基づいて、作業機械が施工範囲の作業を完了するまでに要する所要作業時間を推定する処理を行う施工管理装置であって、
前記施工範囲の情報を取得する施工範囲取得部と、
前記施工範囲内における前記作業機械の作業位置の情報を取得する作業位置取得部と、
前記作業機械の作業位置における作業負荷の情報を取得する作業負荷取得部と、
前記作業位置取得部が取得した前記作業機械の作業位置の情報と、前記作業負荷取得部が取得した前記作業負荷の情報に基づいて、前記作業機械の作業位置における作業効率を算出し、該作業効率を前記施工範囲の作業位置に関連付けした作業効率マップを作成する作業効率マップ作成部と、
前記作業効率マップと前記施工範囲の情報に基づいて前記所要作業時間の推定値を算出する所要作業時間算出部と、
を備えることを特徴とする施工管理装置。
続きを表示(約 300 文字)
【請求項2】
請求項1に記載の施工管理装置であって、
前記作業機械の前記施工範囲における土質分布の情報を取得する土質分布マップ取得部を更に備え、
前記作業効率マップ作成部は、
前記土質分布によって定義される土質ごとに前記作業効率を算出することを特徴とする施工管理装置。
【請求項3】
請求項1に記載の施工管理装置であって、
作業効率閾値を記憶する作業効率閾値記憶部と、
前記作業効率と前記作業効率閾値とを比較して前記作業効率が前記作業効率閾値よりも低下したか否かを検知する作業効率低下検知部と、
を備えることを特徴とする施工管理装置。
発明の詳細な説明
【技術分野】
【0001】
本発明は、施工管理装置に関する。
続きを表示(約 1,700 文字)
【背景技術】
【0002】
土木現場において建設作業に従事するショベルなどの作業機械は、本体を形成するフレーム、走行用の車輪あるいは履帯を有し、オペレータによる操作指示により所望の作業を行う。
【0003】
このような作業機械で行う土木作業、特に掘削作業では、作業対象の状態、作業機械の能力、オペレータの能力など、様々な影響を受けるため、想定した工期で施工が終わらないことがあり、施工管理上の問題となっている。中でも作業対象が天然の地山である場合、着工時に想定していた土質よりも硬い土質に遭遇し、掘削作業に時間が掛かる、或いは更なる作業能力を有する他の作業機械が必要になる等といった、施工計画に影響するトラブルが生じることがある。
【0004】
例えば特許文献1には、撮像装置で撮影した2次元画像データに土質の境界を含む地質データを入力して施工対象の3次元データに紐付けることで、実際の土質が着工時に調査した結果から異なっていた場合においても、土質情報を効率よく更新することができる、とする旨の技術が開示されている。
【先行技術文献】
【特許文献】
【0005】
特開2018-21885号公報
【発明の概要】
【発明が解決しようとする課題】
【0006】
しかしながら、上述の従来技術によると、工程への影響の評価や、掘削方法の見直しを行うための情報は、十分に提供されていない。施工管理者は、土質の変化やそのイベントを踏まえて、どれくらい作業に時間が掛かるのか、更なる作業能力を有する他の作業機械が必要かなどを検討する必要がある。
本発明は以上の事情を鑑みてなされたものであり、工程への影響や作業方法の見直しを適切に行うための情報が得られる施工管理装置の提供を目的とする。
【課題を解決するための手段】
【0007】
上記課題を解決する本発明の施工管理装置は、
作業機械における各種の車体情報や施工条件に基づいて、作業機械が施工範囲の作業を完了するまでに要する所要作業時間を推定する処理を行う施工管理装置であって、
前記施工範囲の情報を取得する施工範囲取得部と、
前記施工範囲内における前記作業機械の作業位置の情報を取得する作業位置取得部と、
前記作業機械の作業位置における作業負荷の情報を取得する作業負荷取得部と、
前記作業位置取得部が取得した前記作業機械の作業位置の情報と、前記作業負荷取得部が取得した前記作業負荷の情報に基づいて、前記作業機械の作業位置における作業効率を算出し、該作業効率を前記施工範囲の作業位置に関連付けした作業効率マップを作成する作業効率マップ作成部と、
前記作業効率マップと前記施工範囲の情報に基づいて前記所要作業時間の推定値を算出する所要作業時間算出部と、
を備えることを特徴とする。
【発明の効果】
【0008】
本発明によれば、工程への影響や作業方法の見直しを適切に行うための情報を得ることができる。
【図面の簡単な説明】
【0009】
ハードウェア構成の一例を示す図。
施工管理装置の機能ブロック図。
施工管理装置を用いた施工管理作業の流れを示すシーケンス図。
施工管理装置の内部処理を説明するフローチャート。
土質分布マップのイメージ図。
作業効率マップのイメージ図。
土質毎の作業効率の演算例。
土質毎の所要作業時間の推定値の演算例。
作業効率低下通知のイメージ図。
本実施形態の変形例を示す図。
【発明を実施するための形態】
【0010】
<第1実施形態>
(機器構成の説明)
(ハードウェアの外観と配置の説明)
以下、本発明の第1実施形態について図面を用いて説明する。図1は、ハードウェア構成の一例を示す図である。
(【0011】以降は省略されています)
この特許をJ-PlatPat(特許庁公式サイト)で参照する
関連特許
日立建機株式会社
作業機械
23日前
日立建機株式会社
作業車両
1か月前
日立建機株式会社
建設機械
1か月前
日立建機株式会社
建設機械
1か月前
日立建機株式会社
作業機械
1か月前
日立建機株式会社
転圧機械
1か月前
日立建機株式会社
作業機械
1か月前
日立建機株式会社
作業車両
1か月前
日立建機株式会社
作業機械
1か月前
日立建機株式会社
建設機械
1か月前
日立建機株式会社
作業機械
1か月前
日立建機株式会社
作業機械
1か月前
日立建機株式会社
作業機械
1か月前
日立建機株式会社
油圧機器
1か月前
日立建機株式会社
建設機械
1か月前
日立建機株式会社
建設機械
1か月前
日立建機株式会社
建設機械
1か月前
日立建機株式会社
作業車両
1か月前
日立建機株式会社
油圧機器
1か月前
日立建機株式会社
作業車両
1か月前
日立建機株式会社
作業機械
1か月前
日立建機株式会社
作業機械
1か月前
日立建機株式会社
作業機械
1か月前
日立建機株式会社
作業機械
1か月前
日立建機株式会社
作業機械
1か月前
日立建機株式会社
作業機械
24日前
日立建機株式会社
建設機械
24日前
日立建機株式会社
作業機械
2か月前
日立建機株式会社
作業機械
1か月前
日立建機株式会社
作業機械
2か月前
日立建機株式会社
作業車両
1か月前
日立建機株式会社
作業機械
2か月前
日立建機株式会社
作業機械
1か月前
日立建機株式会社
建設機械
2か月前
日立建機株式会社
作業車両
1か月前
日立建機株式会社
作業機械
1か月前
続きを見る
他の特許を見る