TOP
|
特許
|
意匠
|
商標
特許ウォッチ
Twitter
他の特許を見る
公開番号
2025152272
公報種別
公開特許公報(A)
公開日
2025-10-09
出願番号
2024054095
出願日
2024-03-28
発明の名称
転圧機械
出願人
日立建機株式会社
代理人
弁理士法人相原国際知財事務所
主分類
E01C
19/23 20060101AFI20251002BHJP(道路,鉄道または橋りょうの建設)
要約
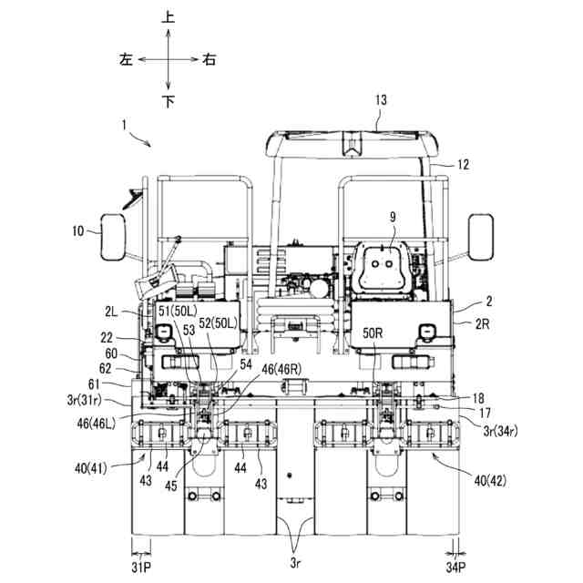
【課題】車体の汚れ防止と、転圧作業における転圧輪の良好な視認性の確保との両立を図ることが可能な転圧機械を提供する。
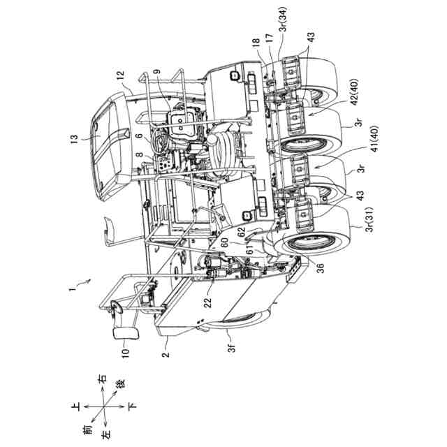
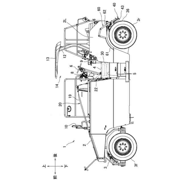
【解決手段】タイヤローラ1は、後方転圧輪3rを含む車体2と、後方転圧輪3rの周面36に接触するブラシ部43を有するマットブラシ装置40とを備え、後方転圧輪3rが車体2から張り出す張出し部を有しており、張出し部の周囲に配置される遮蔽部材61を有するフェンダ装置60を含み、マットブラシ装置40は、ブラシ部43を、後方転圧輪の周面36に接触する第1の位置、又は、周面36から離れる第2の位置に保持するブラシ位置保持機構を有し、フェンダ装置60は、ブラシ部43が第1の位置にある場合、遮蔽部材61を張出し部に対し後方転圧輪3rの周面近傍から退避する開位置に保持し、ブラシ部43が第2の位置にある場合、遮蔽部材61を張出し部に対し後方転圧輪3rの周面近傍の閉位置に保持する遮蔽部材保持機構を有する。
【選択図】図2
特許請求の範囲
【請求項1】
転圧輪により自走可能な車体と、
前記車体に設けられ、前記転圧輪の周面に接触するブラシ部を有するマットブラシ装置と、
を備え、
前記転圧輪が、前記車体のフレーム側面から車幅方向に張り出す張出し部を有する、
転圧機械において、
前記転圧輪の前記張出し部の周囲に配置される遮蔽部材を有するフェンダ装置を備え、
前記マットブラシ装置は、
前記ブラシ部を、前記転圧輪の周面に接触する第1の位置、又は、前記転圧輪の周面から離れる第2の位置に保持するブラシ位置保持機構を有し、
前記フェンダ装置は、
前記ブラシ位置保持機構が前記ブラシ部を前記第1の位置に保持している場合に、前記遮蔽部材を前記転圧輪の前記張出し部に対し前記転圧輪の周面近傍から退避する開位置に保持し、
前記ブラシ位置保持機構が前記ブラシ部を前記第2の位置に保持している場合に、前記遮蔽部材を前記転圧輪の前記張出し部に対し前記転圧輪の周面近傍の閉位置に保持する遮蔽部材保持機構を有する、
ことを特徴とする転圧機械。
続きを表示(約 880 文字)
【請求項2】
前記マットブラシ装置は、前記ブラシ部を、前記第1の位置と、前記第2の位置との間で回動させる回動機構を含んでおり、
前記遮蔽部材保持機構は、前記遮蔽部材が取り付けられたリンク機構と、前記回動機構及び前記リンク機構を連結させる連結機構と、を含み、
前記リンク機構は、前記回動機構に前記連結機構を介して連結され、前記ブラシ部が前記第1の位置にあるとき前記遮蔽部材を前記開位置に位置付け、前記ブラシ部が前記第2の位置にあるとき前記遮蔽部材を前記閉位置に位置付ける、ことを特徴とする請求項1に記載の転圧機械。
【請求項3】
前記開位置は、前記車体に取り付けられたサイドミラーの中心から延びて前記転圧輪の外周と接する接線よりも前記遮蔽部材の先端が上側にある状態の位置である、ことを特徴とする請求項1に記載の転圧機械。
【請求項4】
前記回動機構は、
前記車体に設けられた回動軸と、
前記回動軸に回動自在に支持され、前記ブラシ部が取り付けられている回動アームと、を含み、
前記連結機構は、前記リンク機構の一端及び前記回動アームを連結して連動させる連結ロッドであり、
前記リンク機構の他端には、前記遮蔽部材が取り付けられている、ことを特徴とする請求項2に記載の転圧機械。
【請求項5】
前記車体の前部に配置された前方転圧輪と、
前記車体の後部に配置された後方転圧輪と、
前記車体の側部、かつ、前記車体の前後方向で前記前方転圧輪と前記後方転圧輪との間に配置されたフィルタ装置と、を備え、
前記張り出し部を有する前記転圧輪は、前記後方転圧輪であり、
前記フェンダ装置の前記遮蔽部材は、前記車体の側部、かつ、前記車体の前後方向で前記フィルタ装置と前記後方転圧輪との間に配設されており、
前記フェンダ装置は、前記後方転圧輪に対して前記遮蔽部材を前記閉位置、又は、前記開位置に保持できる、ことを特徴とする請求項1に記載の転圧機械。
発明の詳細な説明
【技術分野】
【0001】
本発明は、転圧機械に関し、特に、泥除け用の遮蔽部材を備えた転圧機械に関する。
続きを表示(約 2,000 文字)
【背景技術】
【0002】
道路等をアスファルト舗装する際に、転圧輪を備えた転圧機械が従来から用いられている。このような転圧機械としては、例えば、特許文献1に記載されているようなタイヤローラが知られている。タイヤローラの転圧輪で舗装面の転圧を行うと、アスファルト合材が転圧輪の周面に付着し、更に転圧を続けるとその付着物が舗装面の平坦性及び平滑性を損ねることになり、舗装品質に悪影響を及ぼすことがある。そのため、特許文献1に代表されるようなタイヤローラでは、転圧輪の周面に付着したアスファルトなどの舗装材を転圧輪の周面に摺接して取り除くブラシ部を含むマットブラシ装置、及び転圧輪の周面に向けて水や付着防止剤としての液剤を散布する散布装置を備えており、これら装置によりアスファルト合材の付着防止を図っている。詳しくは、転圧作業中は、散布装置が、連続的、あるいは間欠的に水や付着防止剤等の液剤を転圧輪の周面に散布するとともに、マットブラシ装置のブラシ部が、転圧輪の周面に摺接して付着物を除去しつつ液剤を転圧輪の周面に均一に塗布している。
【0003】
ところで、タイヤローラにおいては、駆動輪である車体後方側の転圧輪(以下、後方転圧輪とも表記する)の外側の端面が車体の幅方向で最も外側に位置しており、最外側に配置された後方転圧輪がタイヤローラの車体側面よりも張出している。転圧作業は、転圧する対象の路面の端に後方転圧輪の端を合わせる作業から開始する。その際、オペレータは、周囲の安全確認、転圧する箇所の際合わせ、路肩への幅寄せ等をするために、直接目視により、あるいはサイドミラーを使って、後方転圧輪の端面の位置を確認している。
【先行技術文献】
【特許文献】
【0004】
特開2012-154148号公報
【発明の概要】
【発明が解決しようとする課題】
【0005】
ところで、上記したようなタイヤローラが濡れた路面を走行する場合、特に、後方転圧輪における車体側面より張出している部分から泥を含む水滴を跳ね上げてしまい、車体を汚してしまうことがある。転圧作業は、上記のように、散布装置から水や液剤を散布しながら行われるので、転圧作業時には、路面は十分に濡れた状態となっており、タイヤローラは、必然的に濡れた路面を走行する機会が多くなる。
【0006】
また、タイヤローラは、転圧作業を行わない場合、所定の待機場所等に回送される。特に回送時には、タイヤローラの最高速で走行するため、泥を含む水滴は後方転圧輪から広い範囲に飛散しやすくなる。
【0007】
このように、転圧作業時における転圧輪の端面の位置の視認性の確保と、車体の汚れ防止との両立が難しい現状になっている。
【0008】
本発明はこのような事情に鑑みてなされたものであり、その目的とするところは、車体の汚れ防止と、転圧作業における転圧輪の良好な視認性の確保との両立を図ることが可能な転圧機械を提供することにある。
【課題を解決するための手段】
【0009】
上記目的を達成するため、本発明の転圧機械は、転圧輪により自走可能な車体と、前記車体に設けられ、前記転圧輪の周面に接触するブラシ部を有するマットブラシ装置と、を備え、前記転圧輪が、前記車体のフレーム側面から車幅方向に張り出す張出し部を有する転圧機械において、前記転圧輪の前記張出し部の周囲に配置される遮蔽部材を有するフェンダ装置を備え、前記マットブラシ装置は、前記ブラシ部を、前記転圧輪の周面に接触する第1の位置、又は、前記転圧輪の周面から離れる第2の位置に保持するブラシ位置保持機構を有し、前記フェンダ装置は、前記ブラシ位置保持機構が前記ブラシ部を前記第1の位置に保持している場合に、前記遮蔽部材を前記転圧輪の前記張出し部に対し前記転圧輪の周面近傍から退避する開位置に保持し、前記ブラシ位置保持機構が前記ブラシ部を前記第2の位置に保持している場合に、前記遮蔽部材を前記転圧輪の前記張出し部に対し前記転圧輪の周面近傍の閉位置に保持する遮蔽部材保持機構を有する、ことを特徴とする。
【発明の効果】
【0010】
本発明の転圧機械は、転圧作業を行うときには転圧輪の張出し部が隠れずに視認可能となる位置に遮蔽部材を配設し、水や泥が飛散することを防止する必要があるときには遮蔽部材を転圧輪の張出し部の一部が覆われる位置に遮蔽部材を配設することができる。よって、本発明によれば、車体の汚れ防止と、転圧作業における転圧輪の良好な視認性の確保との両立を図ることが可能な転圧機械を提供することができる。
【図面の簡単な説明】
(【0011】以降は省略されています)
この特許をJ-PlatPat(特許庁公式サイト)で参照する
関連特許
日立建機株式会社
作業機械
23日前
日立建機株式会社
作業機械
1か月前
日立建機株式会社
作業機械
1か月前
日立建機株式会社
作業機械
1か月前
日立建機株式会社
油圧機器
1か月前
日立建機株式会社
作業機械
1か月前
日立建機株式会社
作業機械
1か月前
日立建機株式会社
作業車両
1か月前
日立建機株式会社
作業車両
1か月前
日立建機株式会社
建設機械
1か月前
日立建機株式会社
建設機械
1か月前
日立建機株式会社
建設機械
1か月前
日立建機株式会社
油圧機器
1か月前
日立建機株式会社
作業車両
1か月前
日立建機株式会社
転圧機械
1か月前
日立建機株式会社
建設機械
1か月前
日立建機株式会社
作業機械
1か月前
日立建機株式会社
作業機械
1か月前
日立建機株式会社
作業機械
1か月前
日立建機株式会社
建設機械
1か月前
日立建機株式会社
作業機械
1か月前
日立建機株式会社
作業機械
1か月前
日立建機株式会社
作業機械
2か月前
日立建機株式会社
建設機械
2か月前
日立建機株式会社
作業機械
2か月前
日立建機株式会社
作業機械
2か月前
日立建機株式会社
作業機械
2か月前
日立建機株式会社
作業車両
1か月前
日立建機株式会社
作業機械
1か月前
日立建機株式会社
作業機械
1か月前
日立建機株式会社
作業機械
1か月前
日立建機株式会社
変速装置
1か月前
日立建機株式会社
作業車両
1か月前
日立建機株式会社
作業機械
1か月前
日立建機株式会社
作業車両
1か月前
日立建機株式会社
建設機械
24日前
続きを見る
他の特許を見る