TOP
|
特許
|
意匠
|
商標
特許ウォッチ
Twitter
他の特許を見る
10個以上の画像は省略されています。
公開番号
2025150568
公報種別
公開特許公報(A)
公開日
2025-10-09
出願番号
2024051512
出願日
2024-03-27
発明の名称
車両用アクスル装置
出願人
日立建機株式会社
代理人
弁理士法人広和特許事務所
主分類
F16H
57/04 20100101AFI20251002BHJP(機械要素または単位;機械または装置の効果的機能を生じ維持するための一般的手段)
要約
【課題】 スパイダの軸部とピニオンギヤとの摺動部位に潤滑油を供給することにより、スパイダやピニオンギヤの耐久性を向上する。
【解決手段】 デファレンシャルケース20の周囲には、スパイダ27の4本の軸部27Bと4個のピニオンギヤ28との摺動部位にデファレンシャルケース20内の潤滑油を供給する潤滑油供給装置42が設けられ、潤滑油供給装置42は、スパイダ27の4本の軸部27Bの先端側から軸部27Bの周面まで延びた油路43と、デファレンシャルケース20が正転方向(矢示A方向)に回転したときに、デファレンシャルケース20内の潤滑油を取り入れて油路43に供給する第1取入口44と、デファレンシャルケース20が逆転方向(矢示A方向と反対方向)に回転したときに、デファレンシャルケース20内の潤滑油を取り入れて油路43に供給する第2取入口45と、を備えている。
【選択図】 図4
特許請求の範囲
【請求項1】
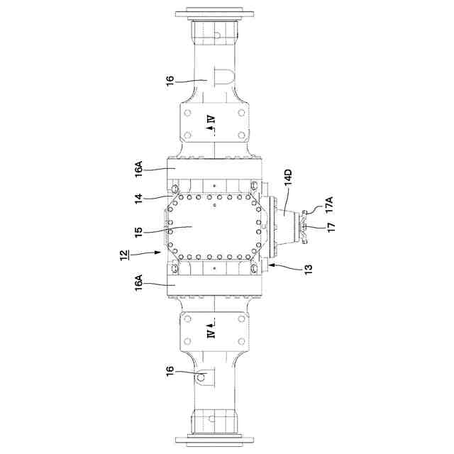
一対の車輪を備えた車両に搭載され、中空なデファレンシャルボディと前記デファレンシャルボディから延びた一対のアクスルチューブとからなり、内部に潤滑油が貯えられたアクスルケースと、
前記一対のアクスルチューブ内を延びた先端側に前記車輪が取り付けられた一対のアクスルシャフトと、
前記デファレンシャルボディ内に設けられ、駆動源の回転力を前記一対のアクスルシャフトに伝達するデファレンシャル機構と、
を備え、
前記デファレンシャル機構は、
前記駆動源によって軸線を中心にして正転方向または逆転方向に回転する中空なデファレンシャルケースと、
前記デファレンシャルケース内に前記軸線を中心にして回転可能に設けられ、放射状に延びる複数本の軸部を有するスパイダと、
前記複数本の軸部に回転可能に取り付けられた複数個のピニオンギヤと、
前記複数個のピニオンギヤを挟むように前記デファレンシャルケース内に前記軸線を中心にして回転可能に設けられ、前記複数個のピニオンギヤに噛合すると共に前記一対のアクスルシャフトに接続された一対のサイドギヤと、
を備えてなる車両用アクスル装置において、
前記デファレンシャルケースの周囲には、前記スパイダの前記軸部と前記ピニオンギヤとの摺動部位に前記デファレンシャルケース内の潤滑油を供給する潤滑油供給装置が設けられ、
前記潤滑油供給装置は、
前記スパイダの前記軸部の先端側から前記軸部の周面まで延びた油路と、
前記デファレンシャルケースが正転方向に回転したときに、前記デファレンシャルケース内の潤滑油を取り入れて前記油路に供給する第1取入口と、
前記デファレンシャルケースが逆転方向に回転したときに、前記デファレンシャルケース内の潤滑油を取り入れて前記油路に供給する第2取入口と、
を備えていることを特徴とする車両用アクスル装置。
続きを表示(約 430 文字)
【請求項2】
請求項1に記載の車両用アクスル装置において、
前記潤滑油供給装置は、前記デファレンシャルケースの回転方向に応じて前記油路に対し繋がる先を前記第1取入口または前記第2取入口で切り換える切換機構を備えていることを特徴とする車両用アクスル装置。
【請求項3】
請求項2に記載の車両用アクスル装置において、
前記切換機構は、
前記油路に連通した状態で前記第1取入口と前記第2取入口との間に設けられた共通油路と、
前記油路と前記第1取入口との間に前記共通油路を縮径して設けられた第1弁座と、
前記油路と前記第2取入口との間に前記共通油路を縮径して設けられた第2弁座と、
前記第1弁座と前記第2弁座との間に位置して前記共通油路に移動可能に設けられ、前記共通油路を流れる潤滑油に押されて前記第1弁座または前記第2弁座に着座する弁体と、
を備えていることを特徴とする車両用アクスル装置。
発明の詳細な説明
【技術分野】
【0001】
本開示は、例えば、ホイールローダ、ホイール式油圧ショベル等のホイール式建設機械に好適に用いられる車両用アクスル装置に関する。
続きを表示(約 1,500 文字)
【背景技術】
【0002】
ホイール式建設機械(建設車両)の代表例としては、例えば、ホイールローダが知られている。ホイールローダは、左右の車輪を駆動する車両用アクスル装置を備えた車体と、車体に取り付けられた作業装置と、を備えている。
【0003】
車両用アクスル装置は、車体に搭載され、中空なデファレンシャルボディとデファレンシャルボディから延びた一対のアクスルチューブとからなり、内部に潤滑油が貯えられたアクスルケースと、一対のアクスルチューブ内を延びた先端側に車輪が取り付けられた一対のアクスルシャフトと、デファレンシャルボディ内に設けられ、駆動源の回転力を一対のアクスルシャフトに伝達するデファレンシャル機構(差動機構)と、を備えている。
【0004】
また、デファレンシャル機構は、エンジン、電動モータ等の駆動源によって左右方向に延びた軸線を中心にして正転方向(前進方向)または逆転方向(後進方向)に回転する中空なデファレンシャルボディと、デファレンシャルボディ内に軸線を中心にして回転可能に設けられ、放射状に延びる複数本の軸部を有するスパイダと、複数本の軸部に回転可能に取り付けられた複数個のピニオンギヤと、複数個のピニオンギヤを挟むようにデファレンシャルボディ内に軸線を中心にして回転可能に設けられ、複数個のピニオンギヤに噛合すると共に一対のアクスルシャフトに接続された一対のサイドギヤと、を備えている。
【0005】
ここで、ホイールローダは、狭い作業現場で作業を行うこともあり、このような現場では、ホイールローダは、大きくステアリングを切って前進、後進することが多いから、左車輪と右車輪との回転数の差が大きくなる。このため、デファレンシャル機構では、左車輪と右車輪との回転数の差を吸収するために、スパイダの軸部の周囲でピニオンギヤが長時間に亘って高速で回転することになる。
【0006】
このように、スパイダの軸部の周囲でピニオンギヤが長時間に亘って高速で回転した場合には、スパイダの軸部とピニオンギヤとの間の摺動部位で油膜切れによる摩耗等を生じる虞がある。
【0007】
そこで、車両用アクスル装置には、デファレンシャル機構のデファレンシャルボディに油穴(開口部)を設け、この油穴(開口部)を通じてアクスルケース内の潤滑油をピニオンギヤやスパイダに供給する構成としたものがある。さらに、車両用アクスル装置には、ホイールローダが前進してデファレンシャルボディが正転方向に回転したときに、アクスルケース内の潤滑油を掻き上げて油穴(開口部)に向けて供給する構成を備えたものがある(特許文献1,2)。
【先行技術文献】
【特許文献】
【0008】
特開平8-270763号公報
特開2004-286041号公報
【発明の概要】
【発明が解決しようとする課題】
【0009】
ところで、ホイールローダは、前進走行して土砂にバケットを突っ込んで持ち上げた後に、後進走行した後、再び前進走行してダンプトラック等に積み込む動作を繰り返す。従って、ホイールローダは、乗用車等の車両と比較して後進方向に走行する頻度が高くなっている。
【0010】
このため、ホイールローダは、後進走行とステアリングを大きく切った状態での走行とが重なった場合、スパイダの軸部とピニオンギヤとの間の潤滑が不十分になって摩耗を生じる虞があり、スパイダやピニオンギヤの耐久性が低下するという問題がある。
(【0011】以降は省略されています)
この特許をJ-PlatPat(特許庁公式サイト)で参照する
関連特許
日立建機株式会社
作業機械
1か月前
日立建機株式会社
油圧機器
29日前
日立建機株式会社
作業機械
23日前
日立建機株式会社
油圧機器
24日前
日立建機株式会社
作業機械
16日前
日立建機株式会社
作業機械
25日前
日立建機株式会社
作業機械
25日前
日立建機株式会社
作業車両
25日前
日立建機株式会社
作業車両
25日前
日立建機株式会社
建設機械
25日前
日立建機株式会社
建設機械
25日前
日立建機株式会社
建設機械
29日前
日立建機株式会社
作業機械
29日前
日立建機株式会社
作業車両
23日前
日立建機株式会社
作業車両
29日前
日立建機株式会社
建設機械
29日前
日立建機株式会社
作業機械
29日前
日立建機株式会社
作業機械
29日前
日立建機株式会社
作業機械
29日前
日立建機株式会社
建設機械
29日前
日立建機株式会社
作業機械
1か月前
日立建機株式会社
作業機械
1か月前
日立建機株式会社
作業機械
1か月前
日立建機株式会社
建設機械
1か月前
日立建機株式会社
作業機械
23日前
日立建機株式会社
作業機械
25日前
日立建機株式会社
作業車両
22日前
日立建機株式会社
建設機械
23日前
日立建機株式会社
作業機械
22日前
日立建機株式会社
作業機械
22日前
日立建機株式会社
転圧機械
23日前
日立建機株式会社
作業機械
22日前
日立建機株式会社
作業車両
18日前
日立建機株式会社
変速装置
22日前
日立建機株式会社
作業機械
22日前
日立建機株式会社
作業機械
22日前
続きを見る
他の特許を見る