TOP
|
特許
|
意匠
|
商標
特許ウォッチ
Twitter
他の特許を見る
10個以上の画像は省略されています。
公開番号
2025166749
公報種別
公開特許公報(A)
公開日
2025-11-06
出願番号
2024070959
出願日
2024-04-24
発明の名称
作業機械
出願人
日立建機株式会社
代理人
弁理士法人武和国際特許事務所
主分類
E05B
47/00 20060101AFI20251029BHJP(錠;鍵;窓または戸の付属品;金庫)
要約
【課題】運転室のドアの開錠および開操作を遠隔操作により行うことが可能な作業機械を提供する。
【解決手段】本体を構成する本体フレームと、本体フレームの後部となる後フレーム上に設けられ、回動可能なドア34が入出口に取り付けられた運転室3と、ドア34をロックするロック装置と、ロック装置によるロックが解除された状態のドア34を保持しておくドアキャッチと、ドア34を遠隔で開操作するための操作信号を出力する遠隔操作スイッチ4と、を備えた作業機械において、ドア34に設けられ、遠隔操作スイッチ4から出力された操作信号により回動してロック装置によるドア34のロックを解除すると共に、ドアキャッチによるドア34の保持を解除するインナープレート53を有する。
【選択図】図7
特許請求の範囲
【請求項1】
本体を構成する本体フレームと、
前記本体フレーム上に設けられ、回動可能なドアが入出口に取り付けられた運転室と、
前記ドアをロックするロック装置と、
前記ロック装置によるロックが解除された状態の前記ドアを保持しておくドアキャッチと、
前記ドアを遠隔で開操作するための操作信号を出力する遠隔操作装置と、
を備えた作業機械において、
前記ドアに設けられ、前記遠隔操作装置から出力された前記操作信号により回動して前記ロック装置による前記ドアのロックを解除すると共に、前記ドアキャッチによる前記ドアの保持を解除する回動部材を有する
ことを特徴とする作業機械。
続きを表示(約 890 文字)
【請求項2】
請求項1に記載の作業機械において、
前記回動部材は、
所定位置まで回動することにより前記ロック装置による前記ドアのロックを解除し、前記所定位置からさらに回動することにより前記ドアキャッチによる前記ドアの保持を解除するように構成されている
ことを特徴とする作業機械。
【請求項3】
請求項1に記載の作業機械において、
前記回動部材に接続され、前記ロック装置による前記ドアのロックを解除するロック解除部材を有し、
前記ロック装置、前記ドアキャッチ、前記回動部材、および前記ロック解除部材はいずれも、前記ドアにおける前記運転室の内部に面する側に設けられている
ことを特徴とする作業機械。
【請求項4】
請求項1に記載の作業機械において、
前記ドアにおける前記運転室の内部に面する側に設けられ、前記運転室の内側から前記ドアを手動で開操作するための内側操作装置と、
前記内側操作装置と前記回動部材とを連結する連結部材と、
をさらに有し、
前記回動部材は、
前記内側操作装置が操作されることにより、前記連結部材を介して回動する
ことを特徴とする作業機械。
【請求項5】
請求項1に記載の作業機械において、
前記ドアにおける前記運転室の外部に面する側に設けられ、前記運転室の外側から前記ドアを手動で開操作するための外側操作装置と、
前記外側操作装置が操作されることにより回動し、前記ドアキャッチによる前記ドアの保持を解除する外側回動部材と、
をさらに有する
ことを特徴とする作業機械。
【請求項6】
請求項1に記載の作業機械において、
前記運転室の前記ドアの側方には、前記本体フレームから外側に張り出したデッキが設けられ、
前記遠隔操作装置は、
前記ドアの可動域の下側であり、かつ、前記デッキの下側に配置されている
ことを特徴とする作業機械。
発明の詳細な説明
【技術分野】
【0001】
本発明は、遠隔操作により開閉可能なドアが設けられた運転室を備える作業機械に関する。
続きを表示(約 2,000 文字)
【背景技術】
【0002】
ホイールローダや油圧ショベルなどの作業機械は、一般の乗用車とは異なり、運転室が地上から高い位置に設けられていることが多い。オペレータは、地上から運転室のドアにアクセスできない場合、運転室前に設けられているデッキに上ってドアを開閉する。しかしながら、デッキに十分なスペースが確保できない場合がある。
【0003】
このような状況に鑑み、例えば、特許文献1には、ロック装置によるロックが解除されているドアに対し、遠隔操作スイッチが操作されると電動モータが通電されて電動モータの回転トルクにより開閉動作が行われ、また、遠隔操作スイッチが操作されていない状態で慣性力が作用されると開閉動作が可能となる作業機械が開示されている。
【先行技術文献】
【特許文献】
【0004】
特開2023-114194号公報
【発明の概要】
【発明が解決しようとする課題】
【0005】
しかしながら、特許文献1に記載されたドアの開閉技術では、ドアは予めロック装置によるロックが解除されていることが前提であるため、地上から遠隔操作によりドアを開く場合であっても、オペレータは、ドアのロックを解除するために一旦ドア前まで行く必要があり、手間が掛かる。また、オペレータは、遠隔操作を行うにあたってロックが解除された状態のドアから離れることになるため、セキュリティ面においても好ましくない。
【0006】
そこで、本発明の目的は、運転室のドアの開錠および開操作を遠隔操作により行うことが可能な作業機械を提供することにある。
【課題を解決するための手段】
【0007】
上記の目的を達成するために、本発明は、本体を構成する本体フレームと、前記本体フレーム上に設けられ、回動可能なドアが入出口に取り付けられた運転室と、前記ドアをロックするロック装置と、前記ロック装置によるロックが解除された状態の前記ドアを保持しておくドアキャッチと、前記ドアを遠隔で開操作するための操作信号を出力する遠隔操作装置と、を備えた作業機械において、前記ドアに設けられ、前記遠隔操作装置から出力された前記操作信号により回動して前記ロック装置による前記ドアのロックを解除すると共に、前記ドアキャッチによる前記ドアの保持を解除する回動部材を有することを特徴とする。
【発明の効果】
【0008】
本発明によれば、運転室のドアの開錠および開操作を遠隔操作により行うことができる。上記した以外の課題、構成及び効果は、以下の実施形態の説明により明らかにされる。
【図面の簡単な説明】
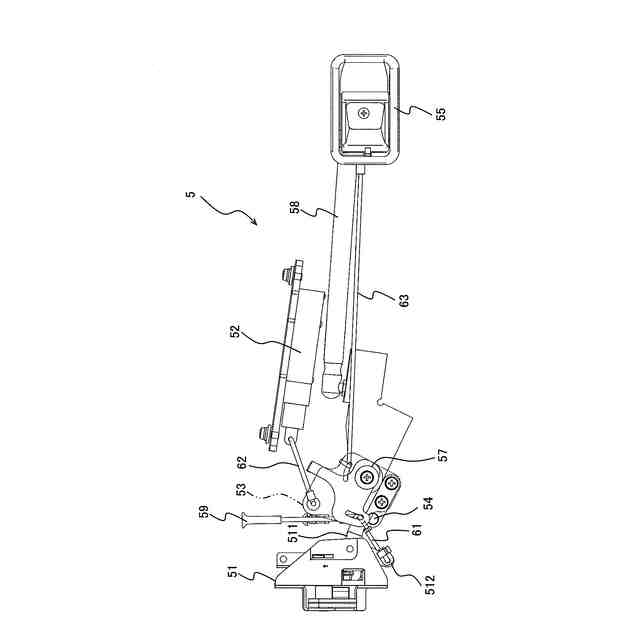
【0009】
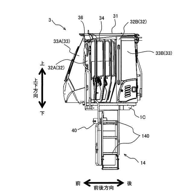
本発明の実施形態に係るホイールローダの一構成例を示す外観側面図である。
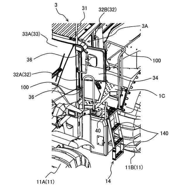
運転室のドア側の周辺部を拡大して示す外観斜視図である。
ドアの開閉動作の様子を示す上面図である。
ドアの開閉動作の様子を示す側面図である。
遠隔操作ボックスの外観を示す外観正面図である。
遠隔操作ボックスの内部を示す図である。
カバー内に収容された状態のドア開放装置を示す正面図である。
ドア開放装置を運転室の内側から見た場合の図である。
ドア開放装置を運転室の外側から見た場合の図である。
インナープレートとアウタープレートとの配置関係を示す斜視図である。
インナープレートとアウタープレートとの配置関係を示す側面図である。
ドアがロックされているときのインナープレートの様子を示す図である。
ドアのロックが解除されているときのインナープレートの様子を示す図である。
ドアキャッチによるドアの保持が解除されているときのインナープレートの様子を示す図である。
ドアがロックされているときのロック跳ね上げ部材の様子を示す斜視図である。
ドアのロックが解除されているときのロック跳ね上げ部材の様子を示す斜視図である。
ドアがロックされているときのロック跳ね上げ部材の様子を示す正面図である。
ドアのロックが解除されているときのロック跳ね上げ部材の様子を示す正面図である。
ドアキャッチによりドアが保持されているときのアウタープレートの様子を示す図である。
ドアキャッチによるドアの保持が解除されているときのアウタープレートの様子を示す図である。
【発明を実施するための形態】
【0010】
以下、本発明の実施形態に係る作業機械の一態様として、例えば、荷役作業を行うホイールローダについて説明する。
(【0011】以降は省略されています)
この特許をJ-PlatPat(特許庁公式サイト)で参照する
関連特許
日立建機株式会社
作業機械
22日前
日立建機株式会社
建設機械
1か月前
日立建機株式会社
油圧機器
1か月前
日立建機株式会社
建設機械
1か月前
日立建機株式会社
作業機械
1か月前
日立建機株式会社
建設機械
1か月前
日立建機株式会社
建設機械
1か月前
日立建機株式会社
作業機械
1か月前
日立建機株式会社
転圧機械
1か月前
日立建機株式会社
作業車両
1か月前
日立建機株式会社
作業機械
1か月前
日立建機株式会社
作業機械
1か月前
日立建機株式会社
建設機械
1か月前
日立建機株式会社
作業車両
1か月前
日立建機株式会社
作業機械
1か月前
日立建機株式会社
作業車両
1か月前
日立建機株式会社
作業機械
1か月前
日立建機株式会社
作業機械
1か月前
日立建機株式会社
作業機械
1か月前
日立建機株式会社
作業車両
1か月前
日立建機株式会社
油圧機器
1か月前
日立建機株式会社
作業機械
1か月前
日立建機株式会社
作業機械
23日前
日立建機株式会社
建設機械
23日前
日立建機株式会社
建設機械
2か月前
日立建機株式会社
作業機械
1か月前
日立建機株式会社
作業機械
2か月前
日立建機株式会社
作業車両
1か月前
日立建機株式会社
作業機械
1か月前
日立建機株式会社
作業機械
1か月前
日立建機株式会社
変速装置
1か月前
日立建機株式会社
建設機械
1か月前
日立建機株式会社
作業車両
1か月前
日立建機株式会社
作業機械
1か月前
日立建機株式会社
作業機械
1か月前
日立建機株式会社
作業機械
1か月前
続きを見る
他の特許を見る