TOP
|
特許
|
意匠
|
商標
特許ウォッチ
Twitter
他の特許を見る
10個以上の画像は省略されています。
公開番号
2025151236
公報種別
公開特許公報(A)
公開日
2025-10-09
出願番号
2024052563
出願日
2024-03-27
発明の名称
ダンプトラック
出願人
日立建機株式会社
代理人
弁理士法人平木国際特許事務所
主分類
B60K
11/04 20060101AFI20251002BHJP(車両一般)
要約
【課題】再吸気を抑制する構造を排気経路と吸気経路の間に設けることにより、熱交換効率の低下を抑制することができるダンプトラックを提供する。
【解決手段】熱交換器(左熱交換器117A、右熱交換器117B)の外側における前面と側面との間の位置には、当該側面から排出される排気の当該前面に向かう流れを遮断する遮断部材(左遮断部材120A、右遮断部材120B)が設けられている。より具体的には、サーキュレーションを抑制する遮断部材(左遮断部材120A、右遮断部材120B)を、熱交換器の車両構造物側(車両中央側)の側面と当該側面に向かい合う(対向する)車両構造物の側面との間に配置する。
【選択図】図3
特許請求の範囲
【請求項1】
車輪が設けられた車体と、
前記車体を動作させるための動力源を含む駆動装置と、
前記車輪を覆うフェンダと、
前記フェンダの前面に設けられ、前面から内部に取り込んだ外気を側面から排出し、前記駆動装置の温度調節を行うための熱媒体の温度調節を行う熱交換器と、を備えるダンプトラックにおいて、
前記熱交換器の外側における前記前面と前記側面との間の位置には、前記側面から排出される排気の前記前面に向かう流れを遮断する遮断部材が設けられていることを特徴とするダンプトラック。
続きを表示(約 1,000 文字)
【請求項2】
請求項1に記載のダンプトラックにおいて、
前記動力源が一側面に支持され、前記フェンダが他側面に設けられた支持部材を備え、
前記熱交換器は、前記フェンダの前面に前記支持部材の前記他側面から離間して設けられており、
前記遮断部材は、前記熱交換器と前記支持部材との間に延設されていることを特徴とするダンプトラック。
【請求項3】
請求項1に記載のダンプトラックにおいて、
前記遮断部材は、前記熱交換器の前記側面から排出される排気を上下方向に導くように構成されていることを特徴とするダンプトラック。
【請求項4】
請求項3に記載のダンプトラックにおいて、
前記遮断部材は、走行方向に対して垂直方向に延設する部材で構成されていることを特徴とするダンプトラック。
【請求項5】
請求項1に記載のダンプトラックにおいて、
前記遮断部材は、前記熱交換器の前記側面から排出される排気を下方のみに導くように構成されていることを特徴とするダンプトラック。
【請求項6】
請求項5に記載のダンプトラックにおいて、
前記遮断部材は、走行方向に対して垂直方向に延設する前面部材と、上下方向に対して垂直方向に延設する上面部材と、で構成されていることを特徴とするダンプトラック。
【請求項7】
請求項1に記載のダンプトラックにおいて、
前記熱交換器は、前記動力源を挟んで複数かつ分割して配置されていることを特徴とするダンプトラック。
【請求項8】
請求項7に記載のダンプトラックにおいて、
各熱交換器の熱交換前後の熱媒体の温度を測定する温度測定装置と、
前記各熱交換器の熱交換前後の熱媒体の温度から、各熱交換器の熱交換効率を算出し、前記複数の熱交換器の必要出力と前記各熱交換器の熱交換効率とから、前記必要出力を満たすための各熱交換器への出力配分を算出する熱交換器制御装置と、を備えることを特徴とするダンプトラック。
【請求項9】
請求項8に記載のダンプトラックにおいて、
前記熱交換器制御装置は、各熱交換器の定格出力の100%を超える出力配分を一時的に算出可能であることを特徴とするダンプトラック。
【請求項10】
請求項1に記載のダンプトラックにおいて、
前記動力源は蓄電装置であることを特徴とするダンプトラック。
発明の詳細な説明
【技術分野】
【0001】
本発明は、ダンプトラックに関し、特に、フェンダに搭載した熱交換器の熱交換後の高温の排気が吸気側に戻ること(サーキュレーション)を抑制する構造を具備するダンプトラックに関する。
続きを表示(約 2,000 文字)
【背景技術】
【0002】
エンジンと、外気を内部に取り込んで冷却風を生起する少なくとも1つのファンと、エンジン内を流通した冷媒と冷却風との熱交換を行う熱交換器とを備えたダンプトラックが知られている(例えば、特許文献1)。熱交換器は、冷媒に蓄えられた熱を冷却風(外気)に吸熱させて放散させることで、冷媒を冷却する。熱交換器は、ダンプトラックの走行風によって外気を内部に取り込みやすいように、前面が前方(走行方向)に開放するように車両前面に搭載されている。このように、エンジンを備えるダンプトラックにおいて、熱交換器は、エンジン直前の車両中央前面に搭載されている場合が多い。しかし、パワーユニット(以下、動力源とも称する)によっては、当該位置までパワーユニットが迫り、熱交換器を配置するスペースがなくなる場合がある。その場合、熱交換器を、車両側部のフェンダの前面に移設することが考えられる。
【先行技術文献】
【特許文献】
【0003】
特開2018-043554号公報
【発明の概要】
【発明が解決しようとする課題】
【0004】
ところで、このようなダンプトラックの熱交換器は、熱交換効率の観点から、前面から内部に取り込んだ外気を後面(背面)から排出する前面吸気、後方排気とすることが好ましいが、熱交換器をフェンダの前面に移設し、熱交換器の後方のフェンダに排気口を設けると、タイヤの巻き上げによる塵埃によって排気口が詰まる恐れがある。そのため、熱交換器をフェンダの前面に移設する場合、塵埃の少ない側面排気となる。側面排気の場合、車両外側へは排気経路を阻害するものがないが、車両内側へは車両構造物があり、排気が車両構造物に衝突した後に熱交換器の前面の吸気口へ回り込む再吸気が発生する場合がある。このような再吸気が発生すると、吸気温度が上昇し、排気温度との差が低下し、熱交換効率が低下する。
【0005】
本発明は、上記事情に鑑みてなされたものであり、再吸気を抑制する構造を排気経路と吸気経路の間に設けることにより、熱交換効率の低下を抑制することができるダンプトラックを提供することを目的とする。
【課題を解決するための手段】
【0006】
上記課題を解決するために、本発明に係るダンプトラックは、車輪が設けられた車体と、前記車体を動作させるための動力源を含む駆動装置と、前記車輪を覆うフェンダと、前記フェンダの前面に設けられ、前面から内部に取り込んだ外気を側面から排出し、前記駆動装置の温度調節を行うための熱媒体の温度調節を行う熱交換器と、を備えるダンプトラックにおいて、前記熱交換器の外側における前記前面と前記側面との間の位置には、前記側面から排出される排気の前記前面に向かう流れを遮断する遮断部材が設けられていることを特徴とする。
【発明の効果】
【0007】
本発明によれば、再吸気を抑制する構造として遮断部材を排気経路と吸気経路の間に設けることにより、熱交換効率の低下を抑制することができる。
【図面の簡単な説明】
【0008】
本発明の実施形態に係るダンプトラックの外観(全体構成)を示す斜視図。
図1のダンプトラックを荷台を取り外した状態で示す斜視図。
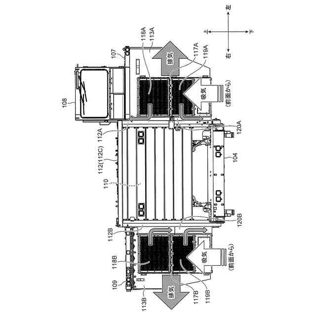
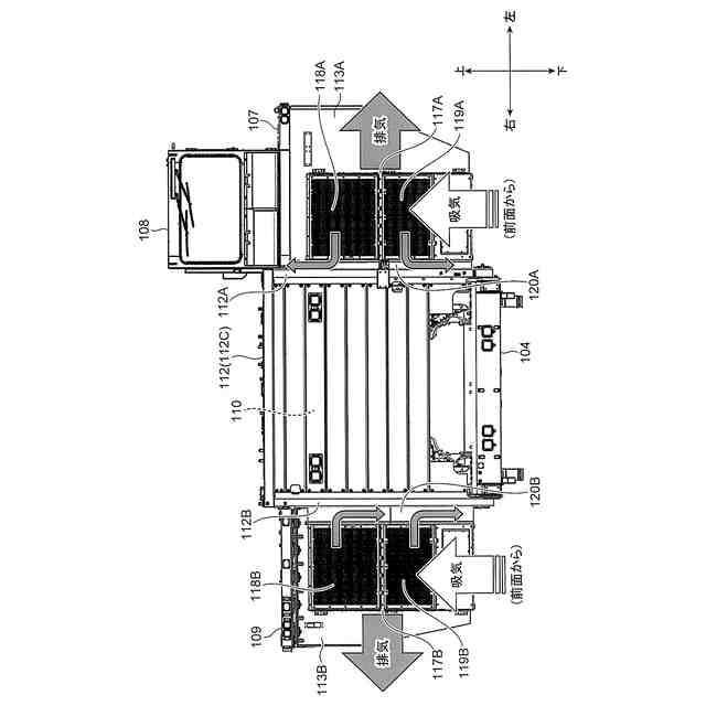
図2のダンプトラックの正面図。
左熱交換器周辺の詳細構造及び排気経路を示す拡大斜視図。
右熱交換器周辺の詳細構造及び排気経路を示す拡大斜視図。
遮断部材が無い場合の吸気経路及び排気経路を概略的に示す上面図。
遮断部材が有る場合の吸気経路及び排気経路を概略的に示す上面図。
ダンプトラックに搭載された温調回路を示す構成図。
左右のパッシブ熱交換器又はアクティブ熱交換器の出力配分例を示す表。
左右のパッシブ熱交換器又はアクティブ熱交換器の出力配分例(定格出力の100%を超える場合)を示す表。
パッシブ熱交換器内のファンの出力配分例を示す表。
アクティブ温調回路のヒータの出力配分例を示す表。
【発明を実施するための形態】
【0009】
以下、本発明の実施形態について図面を用いて説明する。各図において同一の符号を付された構成については、特に言及しない限り、各図において同様の機能を有し、その説明を省略する。
【0010】
図1は、ダンプトラック100の外観(全体構成)を示す斜視図である。図2は、図1のダンプトラックを荷台を取り外した状態で示す斜視図である。図3は、図2のダンプトラックの正面図である。図3には、熱交換器の吸気経路及び排気経路を概略的に示している。
(【0011】以降は省略されています)
この特許をJ-PlatPat(特許庁公式サイト)で参照する
関連特許
日立建機株式会社
作業機械
27日前
日立建機株式会社
油圧機器
26日前
日立建機株式会社
作業車両
25日前
日立建機株式会社
作業機械
1か月前
日立建機株式会社
作業機械
25日前
日立建機株式会社
作業機械
1か月前
日立建機株式会社
作業機械
1か月前
日立建機株式会社
作業機械
1か月前
日立建機株式会社
建設機械
1か月前
日立建機株式会社
作業車両
1か月前
日立建機株式会社
作業機械
27日前
日立建機株式会社
作業機械
25日前
日立建機株式会社
作業機械
27日前
日立建機株式会社
作業機械
18日前
日立建機株式会社
作業車両
27日前
日立建機株式会社
作業車両
27日前
日立建機株式会社
建設機械
27日前
日立建機株式会社
建設機械
27日前
日立建機株式会社
建設機械
1か月前
日立建機株式会社
油圧機器
1か月前
日立建機株式会社
作業機械
1か月前
日立建機株式会社
転圧機械
25日前
日立建機株式会社
作業機械
25日前
日立建機株式会社
建設機械
25日前
日立建機株式会社
変速装置
24日前
日立建機株式会社
作業機械
1か月前
日立建機株式会社
作業車両
20日前
日立建機株式会社
建設機械
1か月前
日立建機株式会社
作業機械
24日前
日立建機株式会社
作業車両
24日前
日立建機株式会社
作業機械
24日前
日立建機株式会社
作業機械
1か月前
日立建機株式会社
建設機械
25日前
日立建機株式会社
作業機械
1か月前
日立建機株式会社
作業機械
24日前
日立建機株式会社
作業機械
1か月前
続きを見る
他の特許を見る