TOP
|
特許
|
意匠
|
商標
特許ウォッチ
Twitter
他の特許を見る
10個以上の画像は省略されています。
公開番号
2025141526
公報種別
公開特許公報(A)
公開日
2025-09-29
出願番号
2024041504
出願日
2024-03-15
発明の名称
建設機械
出願人
日立建機株式会社
代理人
弁理士法人武和国際特許事務所
主分類
E02F
9/24 20060101AFI20250919BHJP(水工;基礎;土砂の移送)
要約
【課題】オペレータが旋回方向と異なる方向に視線を向けている場合であっても、障害物の存在に気付くことのできる建設機械を提供する。
【解決手段】本発明に係る建設機械は、運転室の左前方に設けられ、運転席に向けて障害物の情報を報知する左側報知装置(20L)と、運転室の右前方に設けられ、運転席に向けて障害物の情報を報知する右側報知装置(20R)と、を有し、コントローラ(30)は、左側障害物検知装置(9L)が障害物を検知した場合には、左側報知装置により障害物の情報を第1の態様(色)にて報知すると共に、右側報知装置により障害物の情報を第1の態様とは異なる第2の態様(点滅)にて報知し、右側障害物検知装置(9R)が障害物を検知した場合には、右側報知装置により障害物の情報を第1の態様にて報知すると共に、左側報知装置により障害物の情報を第2の態様で報知する。
【選択図】図3
特許請求の範囲
【請求項1】
走行体と、
前記走行体の上部に旋回可能に設けた旋回体と、
前記旋回体の前部に設けた作業機と、
前記旋回体に搭載され内部に運転席を備えた運転室と、
前記旋回体の左側にある障害物を検知する左側障害物検知装置と、
前記旋回体の右側にある障害物を検知する右側障害物検知装置と、
前記運転室の左前方に設けられ、前記運転席に向けて前記障害物の情報を報知する左側報知装置と、
前記運転室の右前方に設けられ、前記運転席に向けて前記障害物の情報を報知する右側報知装置と、
前記左側報知装置及び前記右側報知装置を制御するコントローラと、を備えた建設機械において、
前記コントローラは、
前記左側障害物検知装置が障害物を検知した場合には、前記左側報知装置により前記障害物の情報を第1の態様にて報知すると共に、前記右側報知装置により前記障害物の情報を前記第1の態様とは異なる第2の態様にて報知し、
前記右側障害物検知装置が障害物を検知した場合には、前記右側報知装置により前記障害物の情報を前記第1の態様にて報知すると共に、前記左側報知装置により前記障害物の情報を前記第2の態様で報知する、
ことを特徴とする建設機械。
続きを表示(約 640 文字)
【請求項2】
請求項1に記載の建設機械において、
前記左側障害物検知装置及び前記右側障害物検知装置は、前記障害物の前記旋回体からの距離を検知可能であり、
前記第1の態様は、前記障害物の有無と、前記障害物の前記旋回体に対する距離とを識別可能な態様であり、
前記第2の態様は、前記障害物の有無のみ識別可能な態様である、
ことを特徴とする建設機械。
【請求項3】
請求項2に記載の建設機械において、
前記第1の態様は、色の種類であり、
前記第2の態様は、発光パターンである、
ことを特徴とする建設機械。
【請求項4】
請求項1に記載の建設機械において、
前記左側障害物検知装置は、前記旋回体の左前方にある前記障害物を検知する第1障害物センサと、前記旋回体の左後方にある前記障害物を検知する第2障害物センサと、を含み、
前記右側障害物検知装置は、前記旋回体の右前方にある前記障害物を検知する第3障害物センサと、前記旋回体の右後方にある前記障害物を検知する第4障害物センサと、を含み、
前記左側報知装置は、前記第1障害物センサに対応する第1報知装置と、前記第2障害物センサに対応する第2報知装置と、を含み、
前記右側報知装置は、前記第3障害物センサに対応する第3報知装置と、前記第4障害物センサに対応する第4報知装置と、を含む、
ことを特徴とする建設機械。
発明の詳細な説明
【技術分野】
【0001】
本発明は、油圧ショベル等の建設機械に関する。
続きを表示(約 2,500 文字)
【背景技術】
【0002】
本技術分野の背景技術として、例えば特許文献1には、「走行体と、旋回体と、作業機と、運転室に配置され前記旋回体の旋回動作を操作入力する操作レバーと、前記操作レバーの操作を検出する操作センサと、前記旋回体の周囲の障害物を検知する障害物センサとを備えた建設機械において、前記運転室の左前方のピラーに照明表示する左ライトと、前記運転室の右前方のピラーに照明表示する右ライトと、前記障害物センサ及び前記操作センサの信号に基づいて前記左ライト及び前記右ライトを制御するコントローラとを備え、前記コントローラは、前記旋回体の周囲の監視領域において前記旋回体の旋回方向に障害物が存在する場合、前記左ライト及び前記右ライトのうち旋回方向に対応する方を用いてオペレータに警告を通知する」ことが記載されている(要約参照)。
【先行技術文献】
【特許文献】
【0003】
特開2020-159045号公報
【発明の概要】
【発明が解決しようとする課題】
【0004】
しかしながら、特許文献1に記載の従来技術では、旋回体の旋回方向に障害物が存在する場合、左右のライトのうち旋回体の旋回方向に対応する方のライトを用いてオペレータに警告を通知する構成であるため、オペレータが旋回方向と異なる方向に視線を向けている場合、オペレータが旋回体の旋回方向に存在する障害物に気付くのが遅れる可能性がある。
【0005】
本発明は、このような実状に鑑みてなされたものであり、その目的は、オペレータが旋回方向と異なる方向に視線を向けている場合であっても、障害物の存在に気付くことのできる建設機械を提供することにある。
【課題を解決するための手段】
【0006】
上記目的を達成するために、本発明の一態様は、走行体と、前記走行体の上部に旋回可能に設けた旋回体と、前記旋回体の前部に設けた作業機と、前記旋回体に搭載され内部に運転席を備えた運転室と、前記旋回体の左側にある障害物を検知する左側障害物検知装置と、前記旋回体の右側にある障害物を検知する右側障害物検知装置と、前記運転室の左前方に設けられ、前記運転席に向けて前記障害物の情報を報知する左側報知装置と、前記運転室の右前方に設けられ、前記運転席に向けて前記障害物の情報を報知する右側報知装置と、前記左側報知装置及び前記右側報知装置を制御するコントローラと、を備えた建設機械において、前記コントローラは、前記左側障害物検知装置が障害物を検知した場合には、前記左側報知装置により前記障害物の情報を第1の態様にて報知すると共に、前記右側報知装置により前記障害物の情報を前記第1の態様とは異なる第2の態様にて報知し、前記右側障害物検知装置が障害物を検知した場合には、前記右側報知装置により前記障害物の情報を前記第1の態様にて報知すると共に、前記左側報知装置により前記障害物の情報を前記第2の態様で報知する、ことを特徴とする。
【発明の効果】
【0007】
本発明に係る建設機械によれば、オペレータが旋回方向と異なる方向に視線を向けている場合であっても、障害物の存在に気付くことができる。なお、上記した以外の課題、構成及び効果は、以下の実施形態の説明により明らかにされる。
【図面の簡単な説明】
【0008】
本発明の第1実施形態に係る油圧ショベルの側面図である。
運転室の内部構成を示す斜視図である。
運転席に着座したオペレータの視界を表した図である。
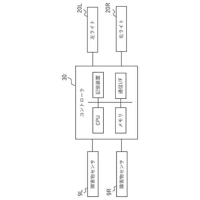
コントローラの機能ブロック図である。
コントローラの制御処理の手順を示すフローチャートである。
(a)は油圧ショベルの周囲の障害物の状況を示す図、(b)は左右のライトの報知態様を示す図である。
(a)は油圧ショベルの周囲の障害物の状況を示す図、(b)は左右のライトの報知態様を示す図である。
(a)は油圧ショベルの周囲の障害物の状況を示す図、(b)は左右のライトの報知態様を示す図である。
(a)は油圧ショベルの周囲の障害物の状況を示す図、(b)は左右のライトの報知態様を示す図である。
(a)は油圧ショベルの周囲の障害物の状況を示す図、(b)は左右のライトの報知態様を示す図である。
第2実施形態に係る油圧ショベルの運転席に着座したオペレータの視界を表した図である。
(a)は第2実施形態に係る油圧ショベルの周囲の障害物の状況を示す図、(b)は左右前後のライトの報知態様を示す図である。
(a)は第2実施形態に係る油圧ショベルの周囲の障害物の状況を示す図、(b)は左右前後のライトの報知態様を示す図である。
(a)は第2実施形態に係る油圧ショベルの周囲の障害物の状況を示す図、(b)は左右前後のライトの報知態様を示す図である。
(a)は第2実施形態に係る油圧ショベルの周囲の障害物の状況を示す図、(b)は左右前後のライトの報知態様を示す図である。
(a)は第2実施形態に係る油圧ショベルの周囲の障害物の状況を示す図、(b)は左右前後のライトの報知態様を示す図である。
【発明を実施するための形態】
【0009】
以下、本発明の実施形態について、図面を参照して説明する。なお、以下の説明において、特に断らない限り、前後左右の方向は、運転席に着座したオペレータの視点を基準とする。
【0010】
(第1実施形態)
図1は、本発明の第1実施形態に係る油圧ショベル1の側面図である。図1に示すように、油圧ショベル(建設機械)1は、路面を走行するための走行体2と、走行体2上に旋回可能に取り付けられた旋回体3と、旋回体3の前部に俯仰動可能に取り付けられたフロント作業機(作業機)4と、を備える。
(【0011】以降は省略されています)
この特許をJ-PlatPat(特許庁公式サイト)で参照する
関連特許
日立建機株式会社
作業機械
15日前
個人
バケット
23日前
個人
建物の不同沈下の修正方法
1か月前
鹿島建設株式会社
接続方法
3日前
株式会社大林組
操縦装置
26日前
千代田工営株式会社
回転貫入杭
1か月前
株式会社富田製作所
継手部構造
23日前
株式会社郷土開発
傾斜地の切土工法
2日前
株式会社熊谷組
山留壁用親杭
1か月前
日立建機株式会社
作業機械
1か月前
日立建機株式会社
作業機械
1か月前
日立建機株式会社
建設機械
1か月前
ヤンマーホールディングス株式会社
作業機械
1か月前
日立建機株式会社
作業機械
1か月前
日立建機株式会社
作業機械
1か月前
ヤンマーホールディングス株式会社
作業機械
1か月前
日立建機株式会社
建設機械
16日前
日立建機株式会社
建設機械
1か月前
日立建機株式会社
作業機械
15日前
日本車輌製造株式会社
建設機械
1か月前
日立建機株式会社
作業車両
1か月前
日立建機株式会社
作業機械
1か月前
株式会社クボタ
作業機
2日前
FKS株式会社
擁壁及び擁壁の築造方法
25日前
鹿島建設株式会社
接続方法および接続構造
1か月前
ライト工業株式会社
鉄筋保持用治具
1か月前
株式会社三誠
建物の免震構造
1か月前
株式会社次世代一次産業実践所
登山道の施工装置
1か月前
株式会社竹内製作所
作業用車両
1か月前
JFEスチール株式会社
鋼管矢板の継手構造
1か月前
株式会社竹内製作所
作業用車両
1か月前
株式会社竹内製作所
作業用車両
1か月前
株式会社竹内製作所
作業用車両
1か月前
山形新興株式会社
建築物の基礎及び基礎成形型
1か月前
清水建設株式会社
遮水層の構築方法
1か月前
コベルコ建機株式会社
施工システム
1か月前
続きを見る
他の特許を見る