TOP
|
特許
|
意匠
|
商標
特許ウォッチ
Twitter
他の特許を見る
10個以上の画像は省略されています。
公開番号
2025162958
公報種別
公開特許公報(A)
公開日
2025-10-28
出願番号
2024165064
出願日
2024-09-24
発明の名称
擁壁及び擁壁の築造方法
出願人
FKS株式会社
代理人
個人
主分類
E02D
29/02 20060101AFI20251021BHJP(水工;基礎;土砂の移送)
要約
【課題】壁の支柱部を構成するH形鋼を掘削孔内に垂直に建て込み、複数のH形鋼が直線状に配置され、直線状(平板状)の壁部材を形成することができる擁壁及び擁壁の築造方法を提供する。
【解決手段】本発明に係る擁壁1は、壁部材4によって土圧の水平成分を受ける擁壁であって、地盤内においてセメントミルクまたは生コンクリートによって形成された柱状部5と、下部が前記柱状部の内部に配置されて上部が前記柱状部から露出したH形鋼6と、を有する複数の支持杭2と、前記支持杭2を構成するH形鋼6を互いに連結し、複数のH形鋼6を直線状に配置する連結部材8と、前記連結部材8を、コンクリートによって内部に埋設した壁部材4と、を備える。
【選択図】図2
特許請求の範囲
【請求項1】
壁部材によって土圧の水平成分を受ける擁壁であって、
地盤内においてセメントミルクまたは生コンクリートによって形成された柱状部と、下部が前記柱状部の内部に配置されて上部が前記柱状部から露出したH形鋼と、を有する複数の支持杭と、
前記支持杭を構成するH形鋼を互いに連結し、複数のH形鋼を直線状に配置する連結部材と、
前記連結部材を、コンクリートによって内部に埋設した壁部材と、
を備えることを特徴とする擁壁。
続きを表示(約 1,300 文字)
【請求項2】
前記連結部材が、前記壁部材の上端部に対応するH形鋼を互いに連結していることを特徴とする請求項1記載の擁壁。
【請求項3】
前記連結部材が、前記壁部材の下端部に対応するH形鋼を互いに連結していることを特徴とする請求項1記載の擁壁。
【請求項4】
前記連結部材が、前記壁部材の中間部に対応するH形鋼を互いに連結していることを特徴とする請求項1記載の擁壁。
【請求項5】
前記連結部材がH形鋼に溶接あるいはボルトによって固定されていることを特徴とする請求項1乃至請求項4のいずれかに記載の擁壁。
【請求項6】
前記連結部材がH形鋼、I形鋼、T形鋼、山形鋼(二等辺山形鋼)、溝形鋼、平鋼、その他JIS規格に適合した鋼材のいずれかであることを特徴とする請求項1記載の擁壁。
【請求項7】
前記H形鋼を囲うようにあばら筋が設けられ、前記あばら筋がH形鋼の軸線方向に複数設けられていることを特徴とする請求項1記載の擁壁。
【請求項8】
前記H形鋼を囲うようにあばら筋は、前記H形鋼の軸線に沿って配設され、縦方向に延設される縦方向の鉄筋を囲うことを特徴とする請求項8記載の擁壁。
【請求項9】
H形鋼の壁部材に対応する部分に固定された、複数の形鋼と、
前記形鋼の上面に配設され、横方向に延設される横方向の鉄筋と、
前記H形鋼に軸線に沿って配設され、縦方向に延設される縦方向の鉄筋と、
前記支持杭を構成するH形鋼を互いに連結し、複数のH形鋼を直線状に配置する連結部材と、
前記形鋼、前記横方向の鉄筋、前記縦方向の鉄筋、連結部材とを、コンクリートによって内部に埋設した壁部材と、
を備えることを特徴とする請求項1記載の擁壁。
【請求項10】
地盤内においてセメントミルクまたは生コンクリートによって形成された柱状部と、下部が前記柱状部の内部に配置されて上部が前記柱状部から露出したH形鋼と、を有する複数の支持杭と、
H形鋼の壁部材に対応する部分の上端部と下端部の外面側及び内面側に固定され、またH形鋼の壁部材に対応する部分の上端部と下端部との間の外面側に固定された、複数の形鋼と、
前記形鋼の上面に配設され、横方向に延設される横方向の鉄筋と、
前記H形鋼に軸線に沿って配設され、縦方向に延設される縦方向の鉄筋と、
前記H形鋼の前記壁部材に対応する部分の上端部及び下端部に形成された、前記H形鋼と前記形鋼と前記横方向の鉄筋と前記縦方向の鉄筋を、コンクリートによって内部に埋設した壁頭部及び壁足部と、
前記壁頭部あるいは前記壁足部あるいは前記壁頭部と壁足部の中間部の少なくとも一つの部位に対応する、H形鋼を互いに連結する連結部材と、
前記壁頭部及び壁足部と一体に前記壁部材として形成され、前記H形鋼の壁部材に対応する部分の上端部と下端部との間において、前記形鋼と前記横方向の鉄筋と前記縦方向の鉄筋とを、コンクリートによって内部に埋設した壁本体部と、
を備えることを特徴とする請求項1記載の擁壁。
(【請求項11】以降は省略されています)
発明の詳細な説明
【技術分野】
【0001】
本発明は擁壁及び擁壁の築造方法に関する。
続きを表示(約 1,800 文字)
【背景技術】
【0002】
擁壁は、土壌の安息角を超える大きな高低差を地面に設けたいときに、土壌の横圧に抗して斜面の崩壊を防ぐために設計・構築される壁状の構造物である。
特許文献1には、建築物を建築するための平らな土地を極力減らすことのない擁壁が提案されている。図26及び図27に基づいて、この擁壁について説明する。
【0003】
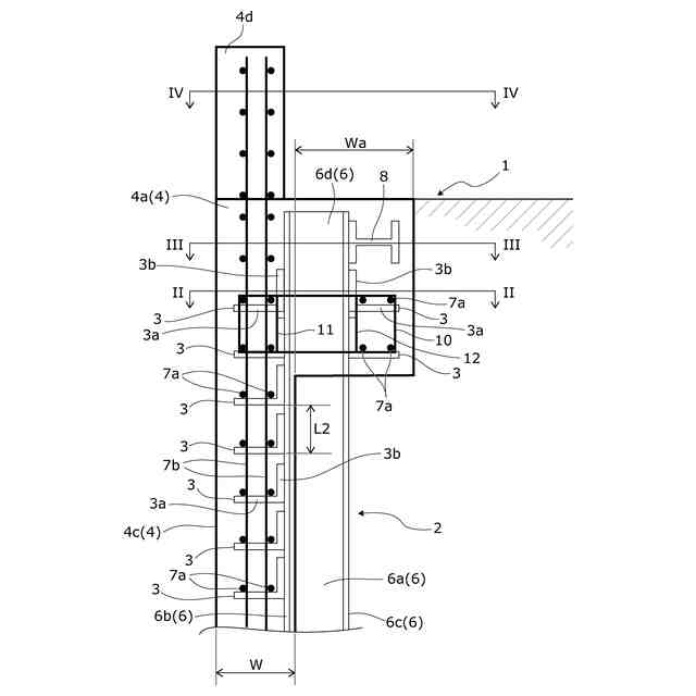
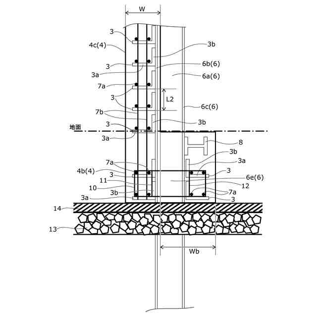
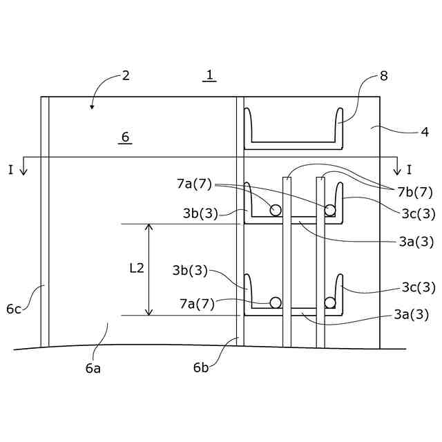
図26に示すように、この擁壁100は、複数の支持杭20を備えている。この支持杭20は、地盤内においてセメントミルクによって形成された柱状部50と、下部が柱状部50の内部に配置されて上部が柱状部50から露出したH形鋼60と、を備えている。
【0004】
また、この擁壁100は、図27に示すように、H形鋼60に溶接などで固定された溝形鋼30を備える。この溝形鋼30は、ウェブ30aと、ウェブ30aの一端側に形成された第1フランジ30bと、ウェブ30aの他端側に形成された第2フランジ30cとを備える形鋼である。この溝形鋼30は、H形鋼60の幅以下の長さを有し、前記したように、H形鋼60の縦方向に溶接などで固定される。図22、図23に、溝形鋼30の設置の状態を示す。尚、図26にあっては、横方向の鉄筋70a、縦方向の鉄筋70bからなる鉄筋70については、図示を省略している。
【0005】
更に、前記擁壁100は壁部材40を備える。この壁部材40は、鉄筋70がコンクリートによって埋設された、いわゆる鉄筋コンクリートによって形成されている。
この鉄筋70は、溝形鋼30のウェブ30a上に配置された横方向に延設された鉄筋70aと垂直方向に延設された縦方向の鉄筋70bからなる。
また、この壁部材40は、複数の支持杭20のH形鋼60に沿って面状(板状)に配置され、内部に埋設された溝形鋼30を介して支持杭20に固定されている。そして、この擁壁100にあっては面状の壁部材40が土圧の水平成分を受けるように構成されている。
【0006】
このように擁壁100は、壁部材40の中に、溝形鋼30、横方向の鉄筋70a、縦方向の鉄筋70bが埋設され、壁部材40が溝形鋼30を介して支持杭20に固定されることによって、支持杭20と壁部材40が一体化した合成構造とされる。
そして、前記壁部材40は土圧の水平成分の力を受ける。この土圧の水平成分の力は、溝形鋼30を介して支持杭20の上部のH形鋼60に力が伝達され、支持杭20の下部へ伝達され、前記壁部材40は土壌の横圧に抗して斜面の崩壊を防ぐ。
【0007】
ところで、前記擁壁を築造するには、例えば、支持杭20がプレボーリング・セメントミルク注入締固め工法によって建て込まれる。
具体的には、例えば、建込用建設機械の掘削用のオーガー(ドリル)によって規定の深度まで削孔され、削孔時と同回転でオーガーを引き抜き、土を外へ搬出しながらセメントミルクが注入される。
【0008】
次に、建設機械によって、H形鋼60が吊り上げられて、掘削孔上部に移動され掘削孔内に建て込まれる。
複数本の支持杭20の建て込み完了後、支持杭20(H形鋼60)に対して溝形鋼30を固定する。支持杭2に対してすべての溝形鋼30が固定された後、壁部材40を形成するための配筋作業を行う。
まず、溝形鋼30の上面に横方向の鉄筋70aを配置し、配筋する。また、溝形鋼30の間には、H形鋼60の軸線に平行に、縦方向の鉄筋70bを配筋する。そして、横方向の鉄筋70aを溝形鋼30と結束したり、横方向の鉄筋70aに対して縦方向の鉄筋70bを結束したりすることによって、壁部材40の鉄筋70が配置される。
【0009】
次に、壁部材40のコンクリート部分を形成する。壁部材40は、現場打ちコンクリートによって形成される。すなわち、型枠の建て込み、コンクリートの打設、所定のコンクリート強度確保後の型枠の取り外しが行われる。これにより、支持杭20に対して壁部材40が一体化した擁壁100の構造体が完成される。
【先行技術文献】
【特許文献】
【0010】
特許第6940709号公報
【発明の概要】
【発明が解決しようとする課題】
(【0011】以降は省略されています)
この特許をJ-PlatPat(特許庁公式サイト)で参照する
関連特許
FKS株式会社
擁壁
5か月前
FKS株式会社
擁壁
2か月前
FKS株式会社
擁壁及び擁壁の築造方法
1か月前
個人
バケット
1か月前
個人
建物の不同沈下の修正方法
1か月前
鹿島建設株式会社
接続方法
21日前
日本車輌製造株式会社
杭打機
1日前
株式会社富田製作所
継手部構造
1か月前
千代田工営株式会社
回転貫入杭
1か月前
株式会社大林組
操縦装置
1か月前
株式会社クボタ
作業車
今日
ウエダ産業株式会社
アタッチメント
12日前
株式会社郷土開発
傾斜地の切土工法
20日前
日立建機株式会社
建設機械
7日前
日立建機株式会社
建設機械
1か月前
日立建機株式会社
作業機械
1か月前
エポコラム機工株式会社
地盤改良装置
5日前
日本車輌製造株式会社
建設機械
5日前
日立建機株式会社
作業車両
1か月前
日立建機株式会社
作業機械
1か月前
ヤンマーホールディングス株式会社
作業機械
1か月前
日本車輌製造株式会社
建設機械
1か月前
ヤンマーホールディングス株式会社
作業機械
1か月前
株式会社クボタ
作業機
20日前
FKS株式会社
擁壁及び擁壁の築造方法
1か月前
株式会社次世代一次産業実践所
登山道の施工装置
1か月前
鹿島建設株式会社
接続方法および接続構造
1か月前
株式会社三誠
建物の免震構造
1か月前
山形新興株式会社
建築物の基礎及び基礎成形型
1か月前
ナブテスコ株式会社
ドーザブレード駆動機構
1か月前
日本車輌製造株式会社
杭打機の表示システム
1か月前
日本車輌製造株式会社
杭打機の制御システム
1か月前
個人
アンカーボルト支持装置
1か月前
株式会社大林組
評価支援装置及び評価支援方法
1か月前
日立建機株式会社
作業機械
今日
株式会社大林組
施工支援装置及び施工支援方法
1か月前
続きを見る
他の特許を見る