TOP
|
特許
|
意匠
|
商標
特許ウォッチ
Twitter
他の特許を見る
10個以上の画像は省略されています。
公開番号
2025154268
公報種別
公開特許公報(A)
公開日
2025-10-10
出願番号
2024057177
出願日
2024-03-29
発明の名称
山留壁用親杭
出願人
株式会社熊谷組
代理人
個人
,
個人
主分類
E02D
5/02 20060101AFI20251002BHJP(水工;基礎;土砂の移送)
要約
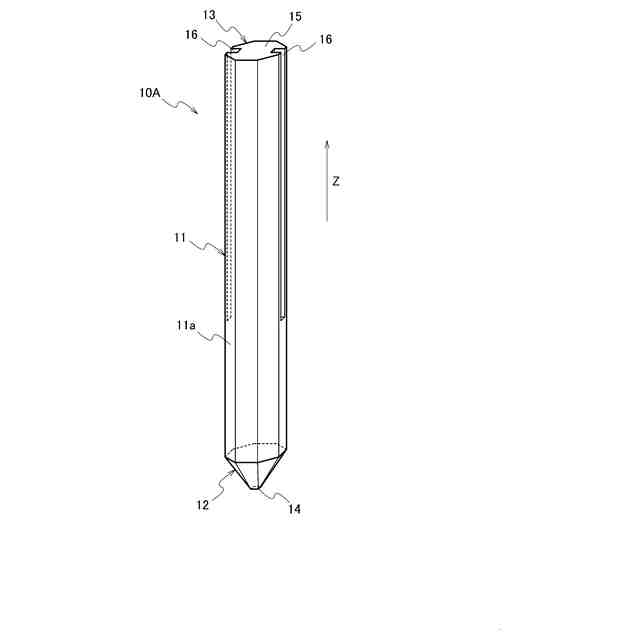
【課題】建設現場での取り扱いが容易な山留壁用親杭を提供する。
【解決手段】山留壁用親杭10Aは、集成材によって形成され長手方向に延伸すると共に、先細りの先端部12を有する杭本体11を備える。
【選択図】図1
特許請求の範囲
【請求項1】
集成材によって形成され長手方向に延伸すると共に、先細りの先端部を有する杭本体を備える山留壁用親杭。
続きを表示(約 790 文字)
【請求項2】
前記長手方向から見て前記先端部の中心に取付けられた第1金属板を更に備える、
請求項1に記載の山留壁用親杭。
【請求項3】
前記第1金属板を介して互いに連結された複数の第2金属板を更に備え、
前記複数の第2金属板は、前記長手方向と平行に且つ前記長手方向から見て前記第1金属板を中心に放射状に配置されている、
請求項2に記載の山留壁用親杭。
【請求項4】
前記長手方向と直交する前記杭本体の断面は八角形である、
請求項1に記載の山留壁用親杭。
【請求項5】
前記長手方向と直交する前記杭本体の断面は多角形であり、
前記杭本体の側面のうち、前記多角形の頂角に位置する部分には前記長手方向に並ぶ複数の鋸歯部が設けられている、
請求項1に記載の山留壁用親杭。
【請求項6】
前記杭本体は、前記先端部と反対側に位置する基部に取り付けられた金属製の保護部を更に備える、
請求項1に記載の山留壁用親杭。
【請求項7】
前記保護部は、前記基部を収容するキャップ状に形成されている、
請求項6に記載の山留壁用親杭。
【請求項8】
前記杭本体の側面には、中心軸を挟んだ両側に形成され且つ前記長手方向に延伸する一対の溝部が設けられている、
請求項1に記載の山留壁用親杭。
【請求項9】
前記杭本体の側面には、前記長手方向に間隔をおいて形成された複数の孔が設けられている、
請求項1に記載の山留壁用親杭。
【請求項10】
前記複数の孔は、前記長手方向と直交する方向に前記杭本体を貫通している、
請求項9に記載の山留壁用親杭。
(【請求項11】以降は省略されています)
発明の詳細な説明
【技術分野】
【0001】
本開示は、山留壁に使用される親杭に関する。
続きを表示(約 1,200 文字)
【背景技術】
【0002】
山留壁は掘削された地盤の側面を保護し、周囲地盤の崩壊や土砂の流出を防止する構造物である。親杭横矢板壁は山留壁の一種であり、所定の間隔でH型鋼を地盤に打設し、隣接する2本のH型鋼の間に横矢板を設置することで構築される。この壁を用いた親杭横矢板工法は、最も経済的な工法として知られている(特許文献1参照)。
【先行技術文献】
【特許文献】
【0003】
特開2009-197397号公報
【発明の概要】
【発明が解決しようとする課題】
【0004】
周知の通り、H型鋼は山留壁に求められる十分な強度を有する。しかしながら、H型鋼は非常に重い。そのため、取り扱いが容易ではなく、設置等の施工に時間が掛かる。つまり、山留壁を構築する際の作業性が比較的悪い。
【0005】
本開示は上述の事情を鑑みて成されたものであり、建設現場での取り扱いが容易な山留壁用親杭の提供を目的とする。
【課題を解決するための手段】
【0006】
本開示の一態様に係る山留壁用親杭は、集成材によって形成され長手方向に延伸すると共に、先細りの先端部を有する杭本体を備える。
【0007】
前記山留壁用親杭は、前記長手方向から見て前記先端部の中心に取付けられた第1金属板を更に備えてもよい。前記山留壁用親杭は、前記第1金属板を介して互いに連結された複数の第2金属板を更に備えてもよい。前記複数の第2金属板は、前記長手方向と平行に且つ前記長手方向から見て前記第1金属板を中心に放射状に配置されてもよい。
【0008】
前記長手方向と直交する前記杭本体の断面は八角形でもよい。前記長手方向と直交する前記杭本体の断面は多角形でもよく、前記杭本体の側面のうち、前記多角形の頂角に位置する部分には前記長手方向に並ぶ複数の鋸歯部が設けられてもよい。前記杭本体は、前記先端部と反対側に位置する基部に取り付けられた金属製の保護部を更に備えてもよい。前記保護部は、前記基部を収容するキャップ状に形成されてもよい。
【0009】
前記杭本体の側面には、中心軸を挟んだ両側に形成され且つ前記長手方向に延伸する一対の溝部が設けられてもよい。前記杭本体の側面には、前記長手方向に間隔をおいて形成された複数の孔が設けられてもよい。前記複数の孔は、前記長手方向と直交する方向に前記杭本体を貫通してもよい。前記杭本体の側面には、前記長手方向に間隔をおいて形成され、周方向に延伸する複数の溝が設けられてもよい。
【発明の効果】
【0010】
本開示によれば、建設現場での取り扱いが容易な山留壁用親杭を提供することができる。
【図面の簡単な説明】
(【0011】以降は省略されています)
この特許をJ-PlatPat(特許庁公式サイト)で参照する
関連特許
株式会社熊谷組
床版
26日前
株式会社熊谷組
床版
26日前
株式会社熊谷組
長机
1か月前
株式会社熊谷組
吊り治具
1か月前
株式会社熊谷組
木質材料
1か月前
株式会社熊谷組
床構成材
26日前
株式会社熊谷組
木材接合部材
1か月前
株式会社熊谷組
山留壁用親杭
25日前
株式会社熊谷組
地盤改良方法
28日前
株式会社熊谷組
床版接合構造
1か月前
株式会社熊谷組
RI計測装置
1か月前
株式会社熊谷組
密度計測方法
1か月前
株式会社熊谷組
障害物の検出方法
27日前
株式会社熊谷組
鉄筋コンクリート梁
1か月前
株式会社熊谷組
コンクリート打設装置
1か月前
株式会社熊谷組
コンクリート打設装置
1か月前
株式会社熊谷組
アクアポニックスシステム
1か月前
株式会社熊谷組
床版継手装置、及び、床版
1か月前
株式会社熊谷組
建物構造体の変位抑制装置
25日前
株式会社熊谷組
杭頭処理構造、杭頭処理方法
1か月前
株式会社熊谷組
吊り下げ物の防振構造改良方法
1か月前
株式会社熊谷組
壁体構築方法および鉄筋連結構造
1か月前
株式会社熊谷組
壁体構築方法およびアンカー部材
1か月前
株式会社熊谷組
耐火構造、及び、耐火構造の施工方法
26日前
国立大学法人東北大学
重金属の不溶化方法
1か月前
岐阜工業株式会社
コンクリート用流量調整弁
1か月前
ベルテクス株式会社
コンクリート部材の継手構造
1か月前
株式会社熊谷組
傾斜地用コンクリート打設装置へのコンクリート積込方法
1か月前
株式会社熊谷組
トンネル坑内での重量物横移動方法及び重量物横移動装置
1か月前
ベルテクス株式会社
コンクリート部材の取付構造とその成型に用いる抜き型
1か月前
株式会社ホルツストラ一級建築士事務所
下地材付き軸材、及び、耐火被覆構造体
21日前
個人
バケット
5日前
個人
建物の不同沈下の修正方法
12日前
鈴健興業株式会社
敷板部材
1か月前
株式会社クボタ
作業車
1か月前
株式会社クボタ
作業車
1か月前
続きを見る
他の特許を見る