TOP
|
特許
|
意匠
|
商標
特許ウォッチ
Twitter
他の特許を見る
10個以上の画像は省略されています。
公開番号
2025145263
公報種別
公開特許公報(A)
公開日
2025-10-03
出願番号
2024045352
出願日
2024-03-21
発明の名称
コンクリート部材の継手構造
出願人
ベルテクス株式会社
,
株式会社熊谷組
代理人
弁理士法人牛木国際特許事務所
主分類
E04B
1/61 20060101AFI20250926BHJP(建築物)
要約
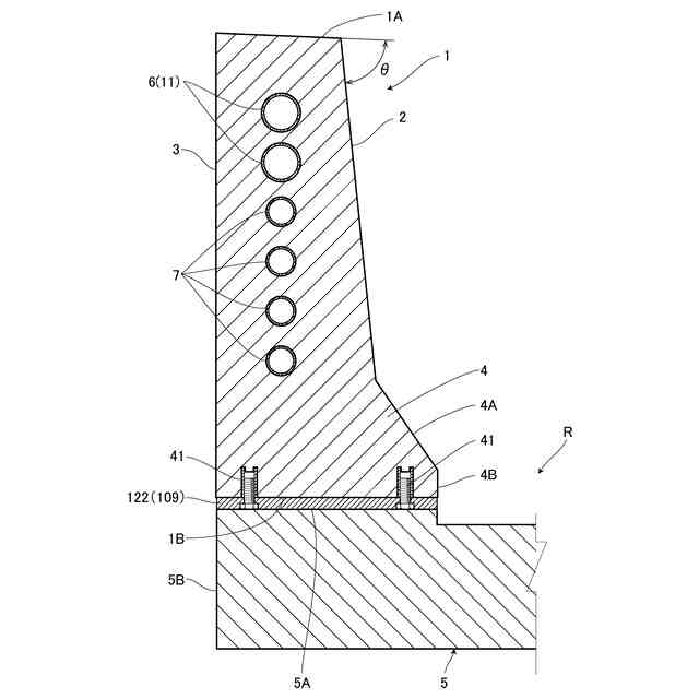
【課題】隣り合うコンクリート部材の継手構造において、せん断抵抗を確保することができるコンクリート部材の継手構造を提供する。
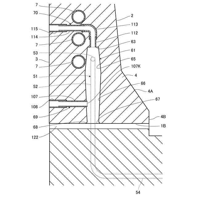
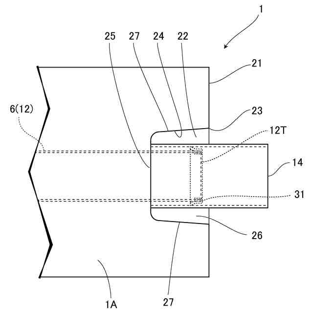
【解決手段】対をなす壁高欄1,1と、これら対をなす壁高欄1,1にそれぞれ埋設された管体6,6と、これら対をなす壁高欄1,1の管体6,6の管端12T,12T同士を接続する接続管14と、を備えたコンクリート部材の継手構造において、壁高欄1の長さ方向の端部に、端面開口部23と上面開口部24とを有する有底な凹部22を設け、凹部22内から管端12Tを突出し、対をなす壁高欄1,1の端面開口部23,23を合わせた状態で、隣り合って連続する凹部22,22に充填した固化材46内に、管端12T,12T及び接続管14を埋設したから、連続する凹部22,22に充填した固化材46が、せん断キーとして作用し、隣り合う壁高欄1,1間に生じるせん断力に対抗することができる。
【選択図】図6
特許請求の範囲
【請求項1】
対をなすプレキャスト製のコンクリート部材と、これら対をなすコンクリート部材にそれぞれ埋設された管体と、これら対をなすコンクリート部材の前記管体の管端同士を接続する接続管と、を備えたコンクリート部材の継手構造において、
前記コンクリート部材の長さ方向の端部に、端面開口部と上面開口部とを有する有底な凹部を設け、
前記凹部内から前記管端を突出し、
前記対をなすコンクリート部材の前記端面開口部を合わせた状態で、隣り合って連続する前記凹部に充填した固化材内に、前記管端及び前記接続管を埋設したことを特徴とするコンクリート部材の継手構造。
続きを表示(約 260 文字)
【請求項2】
前記接続管と前記管体の前記管端側が鋼製であることを特徴とする請求項1記載のコンクリート部材の継手構造。
【請求項3】
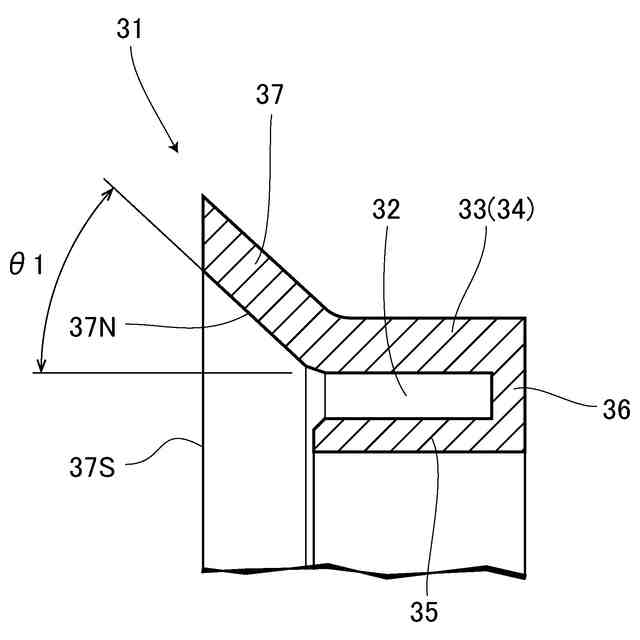
前記接続管内に前記管端を挿入接続したことを特徴とする請求項2記載のコンクリート部材の継手構造。
【請求項4】
前記管端に環状の弾性止水部材を設け、この弾性止水部材には、前記接続管の内周面に当接すると共に、先端に向かって拡大する拡大部を設け、この拡大部の先端が前記接続管の内径より径大なことを特徴とする請求項3記載のコンクリート部材の継手構造。
発明の詳細な説明
【技術分野】
【0001】
本発明は、コンクリート部材の継手構造に関する。
続きを表示(約 1,400 文字)
【背景技術】
【0002】
従来、この種の継手構造を用いるものとして、壁高欄、橋梁の橋桁、床版、擁壁、地下構造物、その他各種土木構造物を構成するプレキャスト製のコンクリート部材(例えば特許文献1)などが知られている。
【0003】
また、上記特許文献1のコンクリート部材に埋設される管体の接続方法では、第1のコンクリート部材に埋設される筒状の第1管体と、第2のコンクリート部材に埋設される筒状の第2管体とを備え、前記第1管体及び前記第2管体を筒状の中間管体(接続管に相当)により接続し、それら第1と第2管体にケーブルなどを挿通している。
【0004】
また、プレキャストコンクリート壁の内部の埋設管同士を、管状の中継部材(接続管に相当)により接続し、接続した埋設管に電力ケーブル、電話線、CATV用ケーブルや有線放送用ケーブルなどの電力・通信線などを挿通し、埋設管の管端に中継部材を挿入する構造と、埋設管の管端を中継部材に挿入する構造が記載されている(例えば特許文献2)。
【0005】
上記特許文献1及び2では、ケーブルなどを挿通するために管体を埋設したコンクリート部材の継手構造において、それら管体の端部を中間管体により接続しているが、管体は塩化ビニル電線管などからなるため、継手に加わるせん断強度に対抗するには不十分であった。
【0006】
このため、道路方向に並んだ複数のコンクリート部材の上部の連結構造として、ガードフェンスブロック(壁高欄)に、その長手方向に貫通する差込孔を設け、この差込孔を通じて複数のガードフェンスブロック間にPC鋼材を挿通させ、その緊張によりガードフェンスブロック同士を締結する連結構造(特許文献3)がある。
【先行技術文献】
【特許文献】
【0007】
特開2022-48620号公報
特開2021-188492号公報
特開2008-95363号公報
【発明の概要】
【発明が解決しようとする課題】
【0008】
上記特許文献3では、ガードフェンスブロック同士の上部をPC鋼材により締結することにより、隣り合うガードフェンスブロックの継手部分に加わるせん断力に対抗することができるが、そのためにブロックの上部にPC鋼材を挿通するスペースが必要となるため、特許文献1及び2のようなケーブルなどを挿通する管体を、ブロックの上部に埋設することができなかった。
【0009】
解決しようとする課題は、隣り合うコンクリート部材の継手構造において、せん断抵抗を確保することができるコンクリート部材の継手構造を提供することを目的とする。
【課題を解決するための手段】
【0010】
請求項1の発明は、対をなすプレキャスト製のコンクリート部材と、これら対をなすコンクリート部材にそれぞれ埋設された管体と、これら対をなすコンクリート部材の前記管体の管端同士を接続する接続管と、を備えたコンクリート部材の継手構造において、前記コンクリート部材の長さ方向の端部に、端面開口部と上面開口部とを有する有底な凹部を設け、前記凹部内から前記管端を突出し、前記対をなすコンクリート部材の前記端面開口部を合わせた状態で、隣り合って連続する前記凹部に充填した固化材内に、前記管端及び前記接続管を埋設したことを特徴とする。
(【0011】以降は省略されています)
この特許をJ-PlatPat(特許庁公式サイト)で参照する
関連特許
ベルテクス株式会社
地中熱交換装置及び地中熱交換装置の構築工法
13日前
東急建設株式会社
遮音壁ユニット、遮音壁構造及び遮音壁ユニットの施工方法
14日前
個人
接合構造
1か月前
個人
屋台
2か月前
個人
タッチミー
1か月前
個人
野良猫ハウス
2か月前
個人
安心補助てすり
28日前
個人
フェンス
3か月前
個人
転落防止用手摺
2か月前
個人
地下型マンション
4か月前
積水樹脂株式会社
柵体
2か月前
個人
ベンリナアングル
1か月前
個人
居住車両用駐車場
2か月前
ニチハ株式会社
建築板
2か月前
個人
筋交自動設定装置
1か月前
個人
熱抵抗多層断熱建材
2か月前
個人
補強部材
2か月前
個人
柵
3か月前
個人
防災建築物
1か月前
株式会社シンケン
住宅
29日前
鹿島建設株式会社
壁体
2か月前
成友建設株式会社
建物
2か月前
個人
身体用シェルター
1か月前
個人
身体用シェルター
1か月前
株式会社熊谷組
木質材料
2か月前
三協立山株式会社
構造体
1か月前
三協立山株式会社
構造体
13日前
株式会社大林組
接合構造
24日前
インターマン株式会社
天井構造
3か月前
株式会社熊谷組
吊り治具
1か月前
三洋工業株式会社
床構造
29日前
三協立山株式会社
構造体
29日前
株式会社熊谷組
床構成材
1か月前
個人
可搬型供養墓
1か月前
三協立山株式会社
構造体
1か月前
三協立山株式会社
構造体
1か月前
続きを見る
他の特許を見る