TOP
|
特許
|
意匠
|
商標
特許ウォッチ
Twitter
他の特許を見る
10個以上の画像は省略されています。
公開番号
2025166372
公報種別
公開特許公報(A)
公開日
2025-11-06
出願番号
2024070351
出願日
2024-04-24
発明の名称
遮音壁ユニット、遮音壁構造及び遮音壁ユニットの施工方法
出願人
東急建設株式会社
,
ベルテクス株式会社
,
公益財団法人鉄道総合技術研究所
代理人
弁護士法人クレオ国際法律特許事務所
主分類
E01F
8/00 20060101AFI20251029BHJP(道路,鉄道または橋りょうの建設)
要約
【課題】アンカーボルトを使用することなく簡易な構成で地覆と遮音壁の構築を行うことができる遮音壁ユニットを提供する。
【解決手段】騒音源の移動方向に沿って配置されるプレキャストコンクリート製の遮音壁ユニット1は、騒音源の近い側に立設される第1パネル10と、騒音源の遠い側に第1パネル10よりも高く立設される第2パネル20と、移動方向と交差する方向に沿って、対向する第1パネル10と第2パネル20との間にコンクリートを充填するための空間が形成されるように設けられる連結部材30とを備える。
【選択図】図2A
特許請求の範囲
【請求項1】
騒音源の移動方向に沿って配置されるプレキャストコンクリート製の遮音壁ユニットであって、
騒音源の近い側に立設される第1パネルと、
騒音源の遠い側に前記第1パネルよりも高く立設される第2パネルと、
前記移動方向と交差する方向に沿って、対向する前記第1パネルと前記第2パネルとの間にコンクリートを充填するための空間が形成されるように設けられる連結部材とを備えることを特徴とする遮音壁ユニット。
続きを表示(約 1,100 文字)
【請求項2】
前記第1パネルには、厚み方向に貫通する貫通孔が形成され、
前記第2パネルには、前記第1パネル側に開口する挿入孔が形成され、
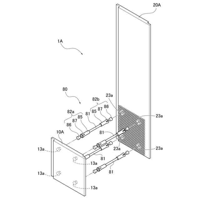
前記連結部材は、一端が前記貫通孔に挿入されるとともに他端が前記挿入孔に挿入される棒状体と、前記貫通孔に挿入された前記棒状体を前記第1パネルに固定する固定部材とを有して構成されていることを特徴とする請求項1に記載の遮音壁ユニット。
【請求項3】
前記第1パネルには、前記第2パネル側に開口する第1係合凹部が形成され、
前記第2パネルには、前記第1パネル側に開口する第2係合凹部が形成され、
前記連結部材は、前記第1パネルと前記第2パネルとの間に延びる棒状体と、前記棒状体の一端側に設けられ前記第1係合凹部に係合する第1係合部と、前記棒状体の他端側に設けられ前記第2係合凹部に係合する第2係合部とを有して構成されていることを特徴とする請求項1に記載の遮音壁ユニット。
【請求項4】
前記連結部材は、前記第1パネルと前記第2パネルの対向する面同士を結合する板状部材により構成されていることを特徴とする請求項1に記載の遮音壁ユニット。
【請求項5】
前記板状部材には、板厚方向に貫通する開口が形成されていることを特徴とする請求項4に記載の遮音壁ユニット。
【請求項6】
前記第1パネルと前記第2パネルの対向する少なくとも一方の面には、コンクリート付着部が形成されていることを特徴とする請求項1乃至5のいずれか1項に記載の遮音壁ユニット。
【請求項7】
前記第2パネルの上端の厚みは、下端の厚みよりも薄いことを特徴とする請求項1乃至5のいずれか1項に記載の遮音壁ユニット。
【請求項8】
請求項1乃至5のいずれか1項に記載の遮音壁ユニットが前記移動方向に沿って複数並列された遮音壁構造であって、
対向する前記第1パネルと前記第2パネルとの間に形成された空間には、鉄筋が配筋された状態でコンクリートが充填されていることを特徴とする遮音壁構造。
【請求項9】
前記第1パネルの幅方向における両端部には、隣接する他の前記第1パネルと係合する第1係合部材が設けられ、
前記第2パネルの幅方向における両端部には、隣接する他の前記第2パネルと係合する第2係合部材が設けられていることを特徴とする請求項8に記載の遮音壁構造。
【請求項10】
請求項1乃至5のいずれか1項に記載の遮音壁ユニットをコンクリート床版上に複数並列する工程と、
前記第1パネルと前記第2パネルとの間に形成された空間にコンクリートを充填する工程とを備えたことを特徴とする遮音壁ユニットの施工方法。
発明の詳細な説明
【技術分野】
【0001】
本発明は、遮音壁ユニット、遮音壁構造及び遮音壁ユニットの施工方法に関するものである。
続きを表示(約 1,600 文字)
【背景技術】
【0002】
従来、道路上を走行する車や線路上を走行する電車の走行音が周囲に伝わるのを防止するために、道路あるいは線路脇に遮音壁を設置することが行われている。遮音壁としては、一定間隔毎に立設された支柱とこの支柱に取り付けられる複数の遮音パネルを有して構成されるものをはじめ、防音機能を向上させたものがある。特に、都市部や住宅密集地などでは、電車の走行音が周囲に伝わるのを防止するべく、防音機能を向上させるための様々な手法が採られている。
【0003】
例えば、特許文献1には、基礎の上面に所定の間隔でH型鋼からなる支柱を立設し、その支柱の間に複数の遮音板を高さ方向に積み重ねて構築された遮音壁が開示されている。遮音板は、正面板と、背面板と、正面板と背面板との間に収容される吸音材とを備えている。吸音材を備えることにより、遮音壁全体として吸音性能を発揮することができる。
【先行技術文献】
【特許文献】
【0004】
特開2023-22549号公報
【発明の概要】
【発明が解決しようとする課題】
【0005】
ところで、上記特許文献1に記載の遮音壁では、支柱はその下端部に溶接されたベースプレートを基礎の上面に載置し、そのベースプレートを貫通するアンカーボルトを基礎に埋め込むことによって、ベースプレートとともに基礎上に固定されている。そのため、ベースプレートをアンカーボルトに対して正確に設置しなければならないという制約がある。また、そもそもアンカーボルトを基礎の正確な位置に埋め込む工程自体が手間のかかる作業である。
【0006】
そこで、本発明は、アンカーボルトを使用することなく簡易な構成で地覆と遮音壁の構築を行うことができる遮音壁ユニット、遮音壁構造及び遮音壁ユニットの施工方法を提供することを目的としている。
【課題を解決するための手段】
【0007】
上記課題に対して、本発明の遮音壁ユニットは、騒音源の移動方向に沿って配置されるプレキャストコンクリート製の遮音壁ユニットであって、騒音源の近い側に立設される第1パネルと、騒音源の遠い側に前記第1パネルよりも高く立設される第2パネルと、前記移動方向と交差する方向に沿って、対向する前記第1パネルと前記第2パネルとの間にコンクリートを充填するための空間が形成されるように設けられる連結部材とを備えることを特徴とする。
【0008】
ここで、前記第1パネルには、厚み方向に貫通する貫通孔が形成され、前記第2パネルには、前記第1パネル側に開口する挿入孔が形成され、前記連結部材は、一端が前記貫通孔に挿入されるとともに他端が前記挿入孔に挿入される棒状体と、前記貫通孔に挿入された前記棒状体を前記第1パネルに固定する固定部材とを有して構成されていることが望ましい。また、前記連結部材は、前記第1パネルと前記第2パネルの対向する面同士を結合する板状部材により構成されていることが望ましい。
【0009】
なお、前記第1パネルには、前記第2パネル側に開口する第1係合凹部が形成され、前記第2パネルには、前記第1パネル側に開口する第2係合凹部が形成され、前記連結部材は、前記第1パネルと前記第2パネルとの間に延びる棒状体と、前記棒状体の一端側に設けられ前記第1係合凹部に係合する第1係合部と、前記棒状体の他端側に設けられ前記第2係合凹部に係合する第2係合部とを有して構成されてもよい。
【0010】
また、前記板状部材には、板厚方向に貫通する開口が形成されていることが望ましい。また、前記第1パネルと前記第2パネルの対向する少なくとも一方の面には、コンクリート付着部が形成されていることが望ましい。更に、前記第2パネルの上端の厚みは、下端の厚みよりも薄いことが望ましい。
(【0011】以降は省略されています)
この特許をJ-PlatPat(特許庁公式サイト)で参照する
関連特許
東急建設株式会社
配筋検査システム
1か月前
東急建設株式会社
位置および力制御装置
2か月前
東急建設株式会社
位置推定システム及び位置推定方法
27日前
東急建設株式会社
タイル下の空隙補修方法及び充填材注入治具
25日前
東急建設株式会社
遮音壁ユニット、遮音壁構造及び遮音壁ユニットの施工方法
26日前
公益財団法人鉄道総合技術研究所
地盤改良体、地盤改良体の構築方法及び基礎構造
1か月前
東急建設株式会社
3次元モデルの製造システム、3次元モデルの製造プログラム及び3次元モデルの製造方法
1か月前
株式会社熊谷組
床版
1か月前
株式会社熊谷組
床版
1か月前
株式会社セイトク
防雪パネル
1か月前
白出商事株式会社
縁石銘板(名板)
1か月前
株式会社パロマ
融雪装置
4日前
コスモテック株式会社
表示装置
25日前
株式会社NIPPO
斜面用ローラ
1か月前
株式会社NIPPO
距離補正装置
1か月前
株式会社ササキコーポレーション
作業機
1か月前
株式会社NIPPO
斜面用ローラ
1か月前
株式会社 林物産発明研究所
道路安全体
12日前
戸田建設株式会社
コンクリート構造
1か月前
株式会社NIPPO
切削用制御装置
1か月前
三信工業株式会社
床版架設装置
1か月前
桑名金属工業株式会社
融雪マットおよび融雪方法
1か月前
東亜グラウト工業株式会社
防護柵の支柱構造
1か月前
西松建設株式会社
耐震補強方法
4日前
戸田建設株式会社
鋼製ブラケットの取付装置
1か月前
戸田建設株式会社
鋼製ブラケットの取付装置
1か月前
株式会社丸治コンクリート工業所
防護柵
6日前
株式会社川金コアテック
橋梁用鋼弾塑性ダンパー
20日前
株式会社NIPPO
バンク用建設機械サポータ装置
1か月前
個人
充填剤及びそれが充填された人工芝
4日前
株式会社NIPPO
アスファルトスタッカ制御装置
1か月前
日鉄神鋼建材株式会社
補強金具、及び支柱取付構造
1か月前
西尾レントオール株式会社
コーンベット型電源装置
1か月前
日鉄建材株式会社
吊り材で支持された足場用床パネル
1か月前
日立建機株式会社
転圧機械
1か月前
鹿島建設株式会社
床版架設方法
1か月前
続きを見る
他の特許を見る