TOP
|
特許
|
意匠
|
商標
特許ウォッチ
Twitter
他の特許を見る
公開番号
2025151597
公報種別
公開特許公報(A)
公開日
2025-10-09
出願番号
2024053109
出願日
2024-03-28
発明の名称
耐火構造、及び、耐火構造の施工方法
出願人
株式会社熊谷組
代理人
個人
主分類
E04B
5/43 20060101AFI20251002BHJP(建築物)
要約
【課題】木梁とフラットデッキとを用いた床構造における木梁の耐火構造において、熱橋による耐火性能の低下、及び、耐火被覆とフラットデッキのリブとの干渉による耐火性能の低下を防止できるようにした耐火構造等を提供する。
【解決手段】本発明に係る耐火構造は、木梁と木梁との間にフラットデッキ2が設けられて、当該フラットデッキ2及び木梁1の上にスラブ3が構築され、かつ、木梁1の外面を覆う耐火被覆4が設けられた耐火構造であって、水平面に沿った方向において木梁1の側面1Sの上端縁1e側とフラットデッキ2の端縁2Eとの間が離間していることを特徴とする。
【選択図】図1
特許請求の範囲
【請求項1】
木梁と木梁との間に床型枠用鋼製デッキプレートが設けられて、当該床型枠用鋼製デッキプレート及び木梁の上にスラブが構築され、かつ、木梁の外面を覆う耐火被覆が設けられた耐火構造であって、
水平面に沿った方向において木梁の側面の上端縁側と床型枠用鋼製デッキプレートの端縁との間が離間していることを特徴とする耐火構造。
続きを表示(約 620 文字)
【請求項2】
請求項1に記載の耐火構造の施工方法であって、
床型枠用鋼製デッキプレートの端縁側が載置される受材を木梁の側面の上端縁側に固定するステップと、
水平面に沿った方向において木梁の側面の上端縁側と床型枠用鋼製デッキプレートの端縁との間が離間した状態となるように、床型枠用鋼製デッキプレートの端縁側を受材の上に載置するステップと、
木梁、受材、床型枠用鋼製デッキプレートの上に、コンクリートを打設してスラブを構築するステップと、
スラブを構築した後に、受材を撤去して、木梁の側面及び下面を覆う耐火被覆を形成するステップとを備えたことを特徴とする耐火構造の施工方法。
【請求項3】
請求項1に記載の耐火構造の施工方法であって、
木梁の上面を覆うとともに、端面が木梁の左右の側面の上端縁よりも外方に位置する大きさの不燃性板材を木梁の上面に固定するステップと、
水平面に沿った方向において木梁の側面の上端縁側と床型枠用鋼製デッキプレートの端縁との間が離間した状態となるように、床型枠用鋼製デッキプレートの端縁側を不燃性板材の上に載置するステップと、
不燃性板材、及び、床型枠用鋼製デッキプレートの上に、コンクリートを打設してスラブを構築するステップと、
木梁の側面及び下面を覆う耐火被覆を形成するステップとを備えたことを特徴とする耐火構造の施工方法。
発明の詳細な説明
【技術分野】
【0001】
本発明は、床型枠用鋼製デッキプレート(以下、「フラットデッキ」という)を用いて、当該フラットデッキ及び木梁の上にスラブが構築され、かつ、木梁の外面に耐火被覆が設けられた耐火構造、及び、当該耐火構造の施工方法に関する。
続きを表示(約 4,200 文字)
【背景技術】
【0002】
木梁と木梁との間に型枠を組み立てて、当該型枠と木梁の上にコンクリートを打設することによって、木梁とスラブとが組み合わされた床構造を構築する型枠工法が知られている。
しかしながら、当該型枠工法の場合、支保工の設置や型枠の設置及び解体等の手間がかかる。
そこで、省力化及び工期短縮を図るために、フラットデッキを用いる工法が知られている。
当該フラットデッキは、型枠として機能するように構成された鋼製のデッキプレートであり、平板部と平板部の下面から下方に突出するリブとを有して構成される(特許文献1参照)。
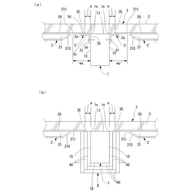
当該フラットデッキを用いて、木梁とスラブとが組み合わされた床構造を構築する場合、例えば、図3(a)に示すように、フラットデッキ2を一方の木梁1と図外の他方の木梁1との間に架け渡して、当該フラットデッキ2及び木梁1の上にコンクリートCが打設されてスラブ3が構築される。
当該フラットデッキ2は、一方向に長い長尺板状の平板部20と平板部20の下面2aから下方に突出して平板部20の長尺方向に延長する複数のリブ21とを備え、リブ21の両方の端部側は平板部20の長尺方向の端縁2E側に向けて傾斜して立ち上がるように形成された傾斜縁21Sとなっており、当該リブ21の傾斜縁21Sの上端21tと平板部20の長尺方向の端縁2Eとの間である平板部20の長尺方向の端部は、リブ21が存在しない構成となっている。
従って、平板部20の長尺方向の端部における端縁2E側の下面2aを木梁1の上面1Tに載置させて、平板部20の長尺方向の中間部分の下面2aを図外のサポート材で支持した後、フラットデッキ2及び木梁1の上にコンクリートCを打設することで、当該フラットデッキ2及び木梁1の上にスラブ3が構築される。
尚、図示を省略しているが、木梁1の上面、及び、フラットデッキ2の平板部20の上面には、コンクリートCとの定着を図るためのスタッド等の定着部材が設けられ、かつ、木梁1、及び、フラットデッキ2の上方には、スラブ3の鉄筋が配筋されている。
そして、図3(b)に示すように、木梁1の外面(木梁1の側面1S,1S、及び、下面1B)を覆う耐火被覆4が設けられる。
耐火被覆4は、例えば、石こうボード40を取付けて形成される1層以上の石こうボード層で構成される。
以上により、フラットデッキ2及び木梁1の上にコンクリートCが打設されてスラブ31が構築され、かつ、木梁1の外面を覆う耐火被覆4が設けられた耐火構造が得られる。
【先行技術文献】
【特許文献】
【0003】
特開2017-110485号公報
【発明の概要】
【発明が解決しようとする課題】
【0004】
図3に示した従来の耐火構造においては、フラットデッキ2の平板部20の長尺方向の端部における端縁2E側の下面2aが木梁1の上面1Tに載置された構成となっているので、以下のような課題が生じる。
(1)火災時において、フラットデッキ2が熱橋となって、熱が木梁1に伝達される可能性があった。
即ち、熱橋による耐火性能低下の課題があった。
(2)フラットデッキ2のリブ21の端部側の傾斜縁21Sの上端21tと木梁1の側面1Sとの間の間隔wbが狭くなり、木梁1の側面1Sに設けられる石こうボード40の上端側とリブ21の端部側の傾斜縁とが干渉してしまう可能性があり、干渉する場合は、石こうボードを切欠かなければならなくなる。この場合、図3(b)に示すように、切欠いた部分の切断面40tとリブ21の端部側の傾斜縁21Sとの間に隙間Sが生じてしまうので、耐火性能上必要な耐火被覆4の被覆厚を満足しなくなる可能性があり、所望の耐火性能を得られない耐火構造となってしまう可能性があった。
即ち、耐火被覆4とフラットデッキ2のリブ21との干渉による耐火性能低下の課題があった。
本発明は、上述した課題に鑑みてなされたものであり、木梁とフラットデッキとを用いた床構造における木梁の耐火構造において、熱橋による耐火性能の低下、及び、耐火被覆とフラットデッキのリブとの干渉による耐火性能の低下を防止できるようにした耐火構造、及び、当該耐火構造の施工方法を提供するものである。
【課題を解決するための手段】
【0005】
本発明に係る耐火構造は、木梁と木梁との間に床型枠用鋼製デッキプレートが設けられて、当該床型枠用鋼製デッキプレート及び木梁の上にスラブが構築され、かつ、木梁の外面を覆う耐火被覆が設けられた耐火構造であって、水平面に沿った方向において木梁の側面の上端縁側と床型枠用鋼製デッキプレートの端縁との間が離間していることを特徴とする。
本発明に係る耐火構造によれば、熱橋による耐火性能の低下、及び、耐火被覆とフラットデッキのリブとの干渉による耐火性能の低下を防止できるようにした耐火構造を提供できるようになった。
本発明に係る耐火構造の施工方法は、上述した耐火構造の施工方法であって、床型枠用鋼製デッキプレートの端縁側が載置される受材を木梁の側面の上端縁側に固定するステップと、水平面に沿った方向において木梁の側面の上端縁側と床型枠用鋼製デッキプレートの端縁との間が離間した状態となるように、床型枠用鋼製デッキプレートの端縁側を受材の上に載置するステップと、木梁、受材、床型枠用鋼製デッキプレートの上に、コンクリートを打設してスラブを構築するステップと、スラブを構築した後に、受材を撤去して、木梁の側面及び下面を覆う耐火被覆を形成するステップとを備えたことを特徴とする。
本発明に係る耐火構造の施工方法は、上述した耐火構造の施工方法であって、木梁の上面を覆うとともに、端面が木梁の左右の側面の上端縁よりも外方に位置する大きさの不燃性板材を木梁の上面に固定するステップと、水平面に沿った方向において木梁の側面の上端縁側と床型枠用鋼製デッキプレートの端縁との間が離間した状態となるように、床型枠用鋼製デッキプレートの端縁側を不燃性板材の上に載置するステップと、不燃性板材、及び、床型枠用鋼製デッキプレートの上に、コンクリートを打設してスラブを構築するステップと、木梁の側面及び下面を覆う耐火被覆を形成するステップとを備えたことを特徴とする。
本発明に係る耐火構造の施工方法によれば、本発明に係る耐火構造を容易かつ確実に施工できる。
【図面の簡単な説明】
【0006】
実施形態1に係る耐火構造の施工方法及び耐火構造を示す図であり、(a)はフラットデッキと木梁の上にスラブが構築された状態を示す図、(b)木梁の側面及び下面を覆う耐火被覆が形成された耐火構造を示す図。
実施形態2に係る耐火構造の施工方法及び耐火構造を示す図であり、(a)はフラットデッキと木梁の上にスラブが構築された状態を示す図、(b)木梁の側面及び下面を覆う耐火被覆が形成された耐火構造を示す図。
従来の耐火構造の施工方法及び耐火構造の一例を示す図であり、(a)はフラットデッキと木梁の上にスラブが構築された状態を示す図、(b)木梁の側面及び下面を覆う耐火被覆が形成された耐火構造を示す図。
【発明を実施するための形態】
【0007】
実施形態1
図1,図2に基づいて、本発明の実施形態1に係る耐火構造について説明する。
図1,図2に示すように、実施形態1に係る耐火構造は、一方の木梁1と図外の他方の木梁1との間にフラットデッキ2が設けられて、当該フラットデッキ2及び木梁1の上にスラブ3が構成され、かつ、木梁1の外面に耐火被覆4が設けられた耐火構造であって、水平面に沿った方向において木梁1の側面1Sの上端縁1eとフラットデッキ2の端縁2Eとの間が所定の間隔aを隔てて離間している構成とした。
【0008】
フラットデッキ2は、上述したように、型枠として機能するように構成された鋼製のデッキプレートであって、一方向に長い長尺板状の平板部20と平板部20の下面2aから下方に突出して平板部20の長尺方向に延長する複数のリブ21とを備え、リブ21の両方の端部側は平板部20の長尺方向の端縁2E側に向けて傾斜して立ち上がるように構成された傾斜縁21Sとなっており、当該リブ21の傾斜縁21Sの上端21tと平板部20の長尺方向の端縁2Eとの間である平板部20の長尺方向の端部は、リブ21が存在しない構成となっている。
【0009】
次に実施形態1に係る耐火構造の施工方法について説明する。
実施形態1に係る施工方法は、図1に示すように、フラットデッキ2の端縁2E側が載置される受材5を木梁1の側面1Sの上端縁1e側に固定する第1ステップと、水平面に沿った方向において木梁1の側面1Sの上端縁1e側とフラットデッキ2の端縁2Eとの間が離間した状態となるように、フラットデッキ2の端縁2E側を受材5の上に載置する第2ステップと、木梁1、受材5、フラットデッキ2の上に、コンクリートCを打設してスラブ3を構築する第3ステップと、スラブ3を構築した後に、受材5を撤去して、木梁1の側面1S及び下面1Bを覆う耐火被覆4を形成する第4ステップとを備えた方法とした。
【0010】
第1ステップでは、例えば、図1(a)に示すように、木梁1の延長方向(図1の紙面と直交する方向)に長い断面L字状の長尺材を受材5として用いる。
そして、受材5のL字の一方の板部5aの外側板面5bを木梁1の側面1Sの上端縁1e側に接触させるともに、受材5のL字の他方の板部5cの外側板面5dと木梁1の上面1Tとが、同一水平面上、又は、略同一水平面上に位置されるように設定して、受材5のL字の一方の板部5aをビスなどのねじ51を用いて木梁1の側面1Sに固定する。
(【0011】以降は省略されています)
この特許をJ-PlatPat(特許庁公式サイト)で参照する
関連特許
株式会社熊谷組
床版
1か月前
株式会社熊谷組
床版
1か月前
株式会社熊谷組
長机
2か月前
株式会社熊谷組
吊り治具
1か月前
株式会社熊谷組
床構成材
1か月前
株式会社熊谷組
密度計測方法
2か月前
株式会社熊谷組
床版接合構造
2か月前
株式会社熊谷組
床版接合構造
23日前
株式会社熊谷組
木材接合部材
1か月前
株式会社熊谷組
山留壁用親杭
1か月前
株式会社熊谷組
RI計測装置
2か月前
株式会社熊谷組
地盤改良方法
1か月前
株式会社熊谷組
障害物の検出方法
1か月前
株式会社熊谷組
アクアポニックスシステム
1か月前
株式会社熊谷組
床版継手装置、及び、床版
2か月前
株式会社熊谷組
建物構造体の変位抑制装置
1か月前
株式会社熊谷組
床版継手装置、及び、床版
2日前
株式会社熊谷組
杭頭処理構造、杭頭処理方法
2か月前
株式会社熊谷組
非接触給電用コイルの埋設構造
23日前
株式会社熊谷組
吊り下げ物の防振構造改良方法
2か月前
株式会社熊谷組
壁体構築方法およびアンカー部材
2か月前
株式会社熊谷組
耐火構造、及び、耐火構造の施工方法
1か月前
国立大学法人東北大学
重金属の不溶化方法
1か月前
岐阜工業株式会社
コンクリート用流量調整弁
1か月前
ベルテクス株式会社
コンクリート部材の継手構造
1か月前
ベルテクス株式会社
コンクリート部材の取付構造とその成型に用いる抜き型
1か月前
株式会社ホルツストラ一級建築士事務所
下地材付き軸材、及び、耐火被覆構造体
1か月前
個人
接合構造
1か月前
個人
屋台
2か月前
個人
タッチミー
1か月前
個人
野良猫ハウス
2か月前
個人
フェンス
3か月前
個人
安心補助てすり
1か月前
個人
転落防止用手摺
2か月前
ニチハ株式会社
建築板
3か月前
個人
居住車両用駐車場
3か月前
続きを見る
他の特許を見る