TOP
|
特許
|
意匠
|
商標
特許ウォッチ
Twitter
他の特許を見る
10個以上の画像は省略されています。
公開番号
2025141144
公報種別
公開特許公報(A)
公開日
2025-09-29
出願番号
2024040934
出願日
2024-03-15
発明の名称
床版接合構造
出願人
株式会社熊谷組
代理人
個人
主分類
E01D
19/12 20060101AFI20250919BHJP(道路,鉄道または橋りょうの建設)
要約
【課題】目地を介して隣り合うように設置された各床版の各隅角部におけるせん断耐荷力を向上できる床版接合構造を提供する。
【解決手段】四角形板状の鉄筋コンクリート製の床版10が橋梁の橋軸方向Xと橋軸直角方向Yとに目地16,15を介して隣り合うように桁の上に設置されて、隣り合う床版同士が床版継手装置1,1Aを用いて接続されて、かつ、目地に充填材17が充填されて構成された床版接合構造であって、目地を介して隣り合うように設置された各床版10,10…の互いに対向する各隅角部を補強する補強部9を備え、補強部9は、各床版の各隅角部において、角縁を境界として隣り合う角縁近傍の一方の辺縁面11と他方の辺縁面11とに亘って延在するように設けられた凹部9と、各凹部9,9…内に亘って延在するように設けられた補強材91と、各凹部9,9…に充填された充填材17とを備えた構成とした。
【選択図】図2
特許請求の範囲
【請求項1】
四角形板状の鉄筋コンクリート製の床版が橋梁の橋軸方向と橋軸直角方向とに目地を介して隣り合うように桁の上に設置されて、隣り合う床版同士が床版継手装置を用いて接続されて、かつ、目地に充填材が充填されて構成された床版接合構造であって、
目地を介して隣り合うように設置された各床版の互いに対向する各隅角部を補強する補強部を備え、
補強部は、
各床版の各隅角部において、角縁を境界として隣り合う角縁近傍の一方の辺縁面と他方の辺縁面とに亘って延在するように設けられた凹部と、
各凹部内に亘って延在するように設けられた補強材と、
各凹部に充填された充填材とを備えた構成であることを特徴とする床版接合構造。
続きを表示(約 910 文字)
【請求項2】
四角形板状の鉄筋コンクリート製の床版が橋梁の橋軸方向と橋軸直角方向とに目地を介して隣り合うように桁の上に設置されて、隣り合う床版同士が床版継手装置を用いて接続されて、かつ、目地に充填材が充填されて構成された床版接合構造であって、
目地を介して隣り合うように設置された各床版の互いに対向する各隅角部を補強する補強部を備え、
補強部は、
各床版の各隅角部において、角縁を境界として隣り合う角縁近傍の一方の辺縁面と他方の辺縁面とに亘って延在するように設けられた凹部と、
隣り合う隅角部と隅角部との間の目地に設置された補強材と、
各凹部に充填された充填材とを備えた構成であることを特徴とする床版接合構造。
【請求項3】
補強材は、板面が床版の板面に沿って延在するように設置された補強板により構成されたことを特徴とする請求項1に記載の床版接合構造。
【請求項4】
補強材は、板面が目地の延長方向に沿って延在するように設置された補強板により構成されたことを特徴とする請求項2に記載の床版接合構造。
【請求項5】
補強部は、橋梁の橋軸方向と橋軸直角方向とに目地を介して隣り合うように配置された4つの床版の互いに対向する各隅角部を補強する補強部であることを特徴とする請求項1乃至請求項4のいずれか一項に記載の床版接合構造。
【請求項6】
補強部は、橋軸直角方向に沿って目地を介して隣り合うように設置された2つの床版の互いに対向する各隅角部を補強する補強部であることを特徴とする請求項1乃至請求項4のいずれか一項に記載の床版接合構造。
【請求項7】
補強板は、板面の中央部に板面を貫通する貫通孔を備えたことを特徴とする請求項3に記載の床版接合構造。
【請求項8】
補強板は、板面を貫通する複数の貫通孔を備えたことを特徴とする請求項3又は請求項4に記載の床版接合構造。
【請求項9】
補強板は、板面に凹凸を備えたことを特徴とする請求項3又は請求項4に記載の床版接合構造。
発明の詳細な説明
【技術分野】
【0001】
本発明は、橋梁用の隣り合う床版同士を接続した床版接合構造に関する。
続きを表示(約 3,800 文字)
【背景技術】
【0002】
四角形板状の鉄筋コンクリート製の床版が橋梁の橋軸方向に沿って目地を介して隣り合うように桁の上に設置されて、橋軸方向に沿って隣り合う床版同士が床版継手装置を用いて接続されて、かつ、目地に充填材が充填されて構成された床版接合構造が知られている(特許文献1参照)。
また、四角形板状の鉄筋コンクリート製の床版が橋梁の橋軸方向と橋軸直角方向とに目地を介して隣り合うように桁の上に設置されて、橋軸方向に沿って隣り合う床版同士が床版継手装置を用いて接続されたとともに、橋軸直角方向に沿って隣り合う床版同士が床版継手装置を用いて接続されて、かつ、目地に充填材が充填されて構成された床版接合構造が知られている(特許文献2参照)。
【先行技術文献】
【特許文献】
【0003】
特開2018-159233号公報
特開2014-177767号公報
【発明の概要】
【発明が解決しようとする課題】
【0004】
しかしながら、上述した床版接合構造では、目地を介して隣り合うように設置された各床版の各隅角部及び当該隅角部の近傍においては、鉄筋や鋼材が設けられておらず、隅角部と隅角部との間の目地にモルタル等の充填材が設けられているだけである。
従って、目地を介して隣り合うように設置された各床版の各隅角部において、輪荷重によるせん断力に対しては、床版の隅角部のコンクリートと目地に充填された充填材のみで抵抗する構造となっている(図9(a)参照)ため、各床版の各隅角部において疲労による押抜きせん断破壊を招く恐れがあった。
本発明は、目地を介して隣り合うように設置された各床版の各隅角部におけるせん断耐荷力を向上できる床版接合構造を提供するものである。
【課題を解決するための手段】
【0005】
本発明に係る床版接合構造は、四角形板状の鉄筋コンクリート製の床版が橋梁の橋軸方向と橋軸直角方向とに目地を介して隣り合うように桁の上に設置されて、隣り合う床版同士が床版継手装置を用いて接続されて、かつ、目地に充填材が充填されて構成された床版接合構造であって、目地を介して隣り合うように設置された各床版の互いに対向する各隅角部を補強する補強部を備え、補強部は、各床版の各隅角部において、角縁を境界として隣り合う角縁近傍の一方の辺縁面と他方の辺縁面とに亘って延在するように設けられた凹部と、各凹部内に亘って延在するように設けられた補強材と、各凹部に充填された充填材とを備えた構成であることを特徴とする。
また、本発明に係る床版接合構造は、四角形板状の鉄筋コンクリート製の床版が橋梁の橋軸方向と橋軸直角方向とに目地を介して隣り合うように桁の上に設置されて、隣り合う床版同士が床版継手装置を用いて接続されて、かつ、目地に充填材が充填されて構成された床版接合構造であって、目地を介して隣り合うように設置された各床版の互いに対向する各隅角部を補強する補強部を備え、補強部は、各床版の各隅角部において、角縁を境界として隣り合う角縁近傍の一方の辺縁面と他方の辺縁面とに亘って延在するように設けられた凹部と、隣り合う隅角部と隅角部との間の目地に設置された補強材と、各凹部に充填された充填材とを備えた構成であることを特徴とする。
補強材は、板面が床版の板面に沿って延在するように設置された補強板により構成されたことを特徴とする。
補強材は、板面が目地の延長方向に沿って延在するように設置された補強板により構成されたことを特徴とする。
補強部は、橋梁の橋軸方向と橋軸直角方向とに目地を介して隣り合うように配置された4つの床版の互いに対向する各隅角部を補強する補強部であることを特徴とする。
補強部は、橋軸直角方向に沿って目地を介して隣り合うように設置された2つの床版の互いに対向する各隅角部を補強する補強部であることを特徴とする。
補強板は、板面の中央部に板面を貫通する貫通孔を備えたことを特徴とする。
補強板は、板面を貫通する複数の貫通孔を備えたことを特徴とする。
補強板は、板面に凹凸を備えたことを特徴とする。
本発明に係る床版接合構造によれば、目地を介して隣り合うように設置された各床版の互いに対向する各隅角部を補強する補強部を備えたので、目地を介して隣り合うように設置された各床版の各隅角部における曲げ耐力やせん断耐荷力を向上できる床版接合構造を提供できるようになった。
【図面の簡単な説明】
【0006】
橋梁用の床版接合構造を示す平面図(実施形態1)。
4つの床版の隅角部が隣接する隅角集合部に設けられた補強部を示す拡大平面図(実施形態1)。
床版の隅角部を示す斜視図(実施形態1)。
補強部を示す断面図(図2のA-A断面、B-B断面に相当する断面図)(実施形態1)。
補強材を示す図であって、(a)は補強材の平面図、(b)は補強材の斜視図(実施形態1)。
補強部の施工例を示す説明図(実施形態1)。
床版継手装置の一例を示し、(a)当該床版継手装置の分解斜視図、(b)は床版継手装置の斜視図(実施形態1)。
床版継手装置の一例を示し、(a)当該床版継手装置の分解斜視図、(b)は床版継手装置の斜視図(実施形態1)。
目地を介して隣り合うように設置された各床版の各隅角部において作用する輪荷重によるせん断力に対するせん断抵抗を説明する図であり、(a)は従来構成の場合を示し、(b)は実施形態1の補強部を備えた場合を示す。
隅角集合部に設けられた補強部を示す図であって、(a)は要部拡大平面図、(b)は(a)のB-B断面図、(c)は補強材の斜視図(実施形態2)。
床版接合構造を示す平面図(実施形態3)。
隅角集合部に設けられた補強部を示す要部拡大平面図(実施形態3)。
隅角集合部に設けられた補強部を示す要部拡大平面図(実施形態3)。
隅角集合部に設けられた補強部を示す要部拡大平面図(実施形態3)。
隅角集合部に設けられた補強部を示す要部拡大平面図(実施形態4)。
【発明を実施するための形態】
【0007】
実施形態1
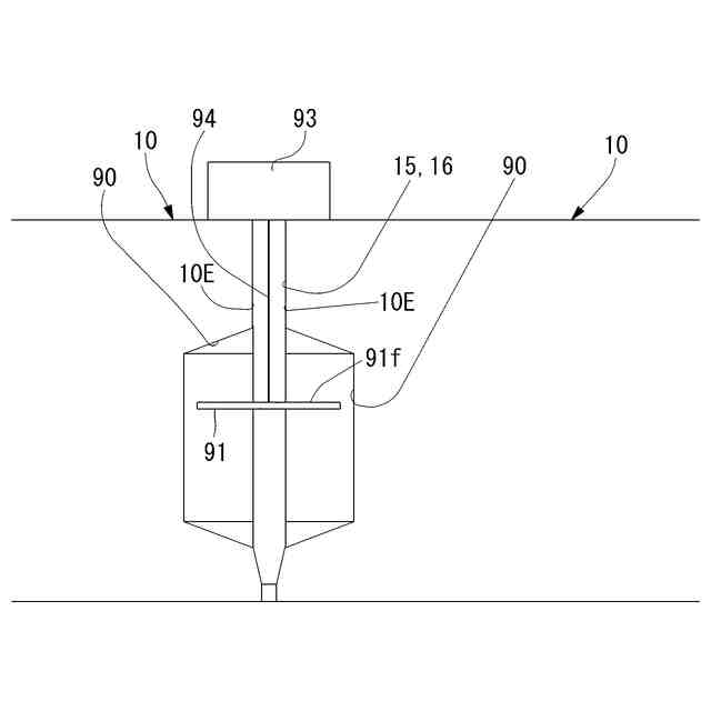
実施形態1に係る床版接合構造は、例えば図1,図2に示すように、四角形板状の鉄筋コンクリート製の床版10が橋梁の橋軸方向Xと橋軸直角方向Yとに目地16,15を介して隣り合うように桁(図示せず)の上に設置されて、橋軸方向Xに沿って隣り合う床版10,10同士が床版継手装置1Aを用いて接続されたとともに、橋軸直角方向Yに沿って隣り合う床版10,10同士が床版継手装置1を用いて接続されて、かつ、目地16,15にモルタルやコンクリート等の充填材17が充填されて構成された床版接合構造であって、橋梁の橋軸方向Xと橋軸直角方向Yとに目地16,15を介して隣り合うように配置された4つの床版10,10,10,10の互いに対向する各隅角部を補強する補強部9を備えた床版接合構造である。
言い換えれば、例えば、図1の左上の床版10の右下部の隅角部と図1の右上の床版10の左下部の隅角部と図1の左下の床版10の右上部の隅角部と図1の右上の床版10の左上部の隅角部とが目地16,15に充填された充填材17を介して互いに隣り合う隅角集合部10Cが構成され、当該隅角集合部10Cに補強部9を備えた床版接合構造である。
【0008】
尚、鉄筋コンクリート製の床版10とは、例えば、鉄筋、又は、PC鋼線、又は、鉄筋及びPC鋼線を内蔵した床版である。
また、隅角部とは、図3に示すように、四角形板状の床版10における角縁10Eの近傍部分のことである。
【0009】
上述した隅角集合部10Cに設けられた補強部9は、図2乃至図6に示すように、4つの床版10,10,10,10の各隅角部にそれぞれ形成された各凹部90と、4つの各床版10の各凹部90内に亘って延在するように設けられた補強材91と、4つの各床版10の各凹部90にそれぞれ充填された充填材17とを備えて構成される。
【0010】
図3に示すように、凹部90は、床版10の隅角部において角縁10Eを境界として隣り合う角縁近傍の一方の辺縁面11と他方の辺縁面11とに亘って延在するように設けられた凹部である。
つまり、橋軸方向Xに沿って隣り合う各凹部90,90は、凹部90の開口と凹部90の開口とが向かい合うとともに、橋軸直角方向Yに沿って隣り合う各凹部90,90も同様に、凹部90の開口と凹部90の開口とが向かい合うように構成される。
尚、辺縁面11とは、床版10の角縁10Eと床版10の上面の辺縁11aと下面の辺縁11bとで囲まれた面、換言すれば、床版10の側面のことである。
(【0011】以降は省略されています)
この特許をJ-PlatPat(特許庁公式サイト)で参照する
関連特許
株式会社熊谷組
床版
1か月前
株式会社熊谷組
床版
1か月前
株式会社熊谷組
床構成材
1か月前
株式会社熊谷組
床版接合構造
14日前
株式会社熊谷組
山留壁用親杭
1か月前
株式会社熊谷組
障害物の検出方法
1か月前
株式会社熊谷組
建物構造体の変位抑制装置
1か月前
株式会社熊谷組
非接触給電用コイルの埋設構造
14日前
株式会社熊谷組
耐火構造、及び、耐火構造の施工方法
1か月前
株式会社ホルツストラ一級建築士事務所
下地材付き軸材、及び、耐火被覆構造体
1か月前
株式会社熊谷組
床版
1か月前
株式会社熊谷組
床版
1か月前
株式会社セイトク
防雪パネル
1か月前
コスモテック株式会社
表示装置
14日前
株式会社 林物産発明研究所
道路安全体
1日前
株式会社ササキコーポレーション
作業機
1か月前
戸田建設株式会社
コンクリート構造
25日前
三信工業株式会社
床版架設装置
1か月前
桑名金属工業株式会社
融雪マットおよび融雪方法
1か月前
東亜グラウト工業株式会社
防護柵の支柱構造
1か月前
戸田建設株式会社
鋼製ブラケットの取付装置
25日前
戸田建設株式会社
鋼製ブラケットの取付装置
25日前
株式会社川金コアテック
橋梁用鋼弾塑性ダンパー
9日前
西尾レントオール株式会社
コーンベット型電源装置
1か月前
日鉄建材株式会社
吊り材で支持された足場用床パネル
1か月前
日立建機株式会社
転圧機械
1か月前
鹿島建設株式会社
床版架設方法
28日前
オリエンタル白石株式会社
補強鋼板及び排土方法
1か月前
株式会社日本コンポジット工業
壁用構造体
1か月前
ダンレックス株式会社
表示装置
2日前
宮地エンジニアリング株式会社
ワイヤブリッジの設置方法
1か月前
鹿島建設株式会社
橋、および橋の製造方法
1か月前
株式会社プロテックエンジニアリング
衝撃吸収柵
1か月前
愛知製鋼株式会社
磁気マーカの施工方法および施工用の補助工具
15日前
清水建設株式会社
床版架設装置および床版架設方法
1日前
PUMP MAN株式会社
路面成型補助部材、及び、路面成型方法
14日前
続きを見る
他の特許を見る