TOP
|
特許
|
意匠
|
商標
特許ウォッチ
Twitter
他の特許を見る
公開番号
2025167827
公報種別
公開特許公報(A)
公開日
2025-11-07
出願番号
2024072768
出願日
2024-04-26
発明の名称
表示装置
出願人
コスモテック株式会社
代理人
個人
主分類
E01F
9/623 20160101AFI20251030BHJP(道路,鉄道または橋りょうの建設)
要約
【課題】通風孔を採用して転倒を防止した上で、矢印標識部の示す方向を明確に視認できる表示装置を提供する。
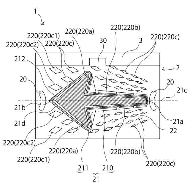
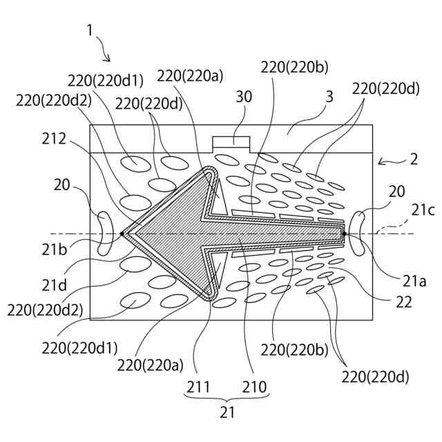
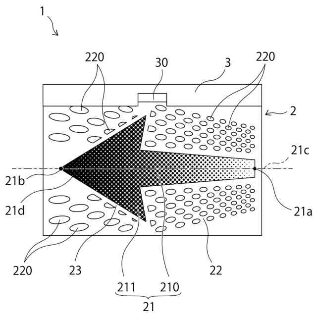
【解決手段】始点21aから終点21bに向かう方向を示す矢印標識部21と、矢印標識部21の輪郭21dより外側であって複数の通風孔220が配置されている通風孔配置領域部22とを有する表示部2を備える表示装置1であって、通風孔配置領域部22は、矢印標識部21の始点21aと終点21bとを通る直線21cの一方側から他方側に亘って位置しており、複数の通風孔220は、矢印標識部21の始点21a側から終点21b側に向かって放射状に列をなして配置される放射配列通風孔を備えている。
【選択図】図1
特許請求の範囲
【請求項1】
始点から終点に向かう方向を示す矢印標識部と、前記矢印標識部の輪郭より外側であって複数の通風孔が配置されている通風孔配置領域部と、を有する表示部を備える表示装置であって、
前記通風孔配置領域部は、前記矢印標識部の前記始点と前記終点とを通る直線の一方側から他方側に亘って位置しており、
前記複数の通風孔は、前記矢印標識部の前記始点側から前記終点側に向かって放射状に列を成して配置されている放射配列通風孔を備える
ことを特徴とする表示装置。
続きを表示(約 660 文字)
【請求項2】
前記矢印標識部は、前記始点から前記終点に向かって太くなる形状となっていることを特徴とする請求項1に記載の表示装置。
【請求項3】
前記放射配列通風孔は、長手方向と短手方向とを有する開口の形状の長短形通風孔を備えており、
前記長短形通風孔は、前記矢印標識部の前記始点側から前記終点側に向かって放射状に前記開口の長手方向を向けて列を成して配置されている放射長形通風孔を備えている
ことを特徴とする請求項1又は2に記載の表示装置。
【請求項4】
前記放射長形通風孔は、菱形の形状の菱形通風孔を備える
ことを特徴とする請求項3に記載の表示装置。
【請求項5】
前記放射長形通風孔は、楕円形状の楕円通風孔を備える
ことを特徴とする請求項3に記載の表示装置。
【請求項6】
前記放射長形通風孔は、開口形状の長手方向と短手方向との少なくとも一方が前記矢印標識部の前記始点側から前記終点側に向かって放射状に次第に大きくなるよう列を成して配置されている
ことを特徴とする請求項3に記載の表示装置。
【請求項7】
前記矢印標識部の輪郭の内側に、該輪郭に沿って蛍光帯線が形成されていることを特徴とする請求項1又は2に記載の表示装置。
【請求項8】
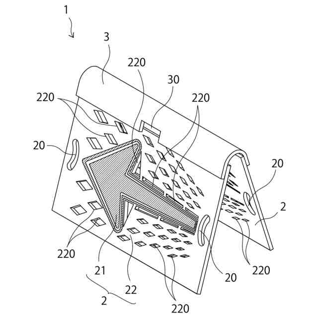
前記表示部の端部に取っ手孔が形成され、前記取っ手孔は、内側に凸に湾曲した形状であることを特徴とする請求項1又は2に記載の表示装置。
発明の詳細な説明
【技術分野】
【0001】
本発明は、表示部に始点から終点に向かうことを示す矢印標識部が形成され、道路の方向案内として使用するのに好適な表示装置に関する。
続きを表示(約 1,200 文字)
【背景技術】
【0002】
工事中の道路等において車線変更を促すために、進路方向を案内する矢印表示板が設置される。一般的な矢印表示板は、下開き状に連結された2枚の金属板の表面に矢印を表示してある。
【0003】
このような一般的な矢印表示板は、強い風が吹くと移動したり倒れたりして、的確な表示機能を果たせなくなるばかりか、通行人や走行中の車両にぶつかると、交通安全上重大な問題を引き起こす心配もある。
【0004】
特許文献1に記載の矢印板は、側面視下開き状の標示板が網目状に形成され、標示板の中央部に矢印が標示されており、標示板の網目を空気が通過することによって、強風による転倒を防止することが提案されている。
【先行技術文献】
【特許文献】
【0005】
登録実用新案第3138352号公報
【発明の概要】
【発明が解決しようとする課題】
【0006】
上記特許文献1に記載のような矢印板は、標示板に形成された多数の風通し用の孔の存在によって標示された矢印が目立ちにくいので、矢印が示す方向を認識しにくい。
本発明の発明者は、研究の結果、風通し用の孔の配置によって矢印がよりいっそう目立つようになるという知見を得た。
【0007】
本発明は上記知見に基づいてなされたものであり、通風孔を採用して転倒を防止した上で、矢印標識部の示す方向を明確に視認できる表示装置を提供することを目的とする。
【課題を解決するための手段】
【0008】
請求項1に係る発明は、始点から終点に向かう方向を示す矢印標識部と、前記矢印標識部の輪郭より外側であって複数の通風孔が配置されている通風孔配置領域部と、を有する表示部を備える表示装置であって、前記通風孔配置領域部は、前記矢印標識部の前記始点と前記終点とを通る直線の一方側から他方側に亘って位置しており、前記複数の通風孔は、前記矢印標識部の前記始点側から前記終点側に向かって放射状に列を成して配置されている放射配列通風孔を備えることを特徴とする表示装置である。
【0009】
請求項2に係る発明は、前記矢印標識部は、前記始点から前記終点に向かって太くなる形状となっていることを特徴とする請求項1に記載の表示装置である。
【0010】
請求項3に係る発明は、前記放射配列通風孔は、長手方向と短手方向とを有する開口の形状の長短形通風孔を備えており、前記長短形通風孔は、前記矢印標識部の前記始点側から前記終点側に向かって放射状に前記開口の長手方向を向けて列を成して配置されている放射長形通風孔を備えていることを特徴とする請求項1又は2に記載の表示装置である。
(【0011】以降は省略されています)
この特許をJ-PlatPat(特許庁公式サイト)で参照する
関連特許
コスモテック株式会社
表示装置
22日前
株式会社熊谷組
床版
1か月前
株式会社熊谷組
床版
1か月前
株式会社セイトク
防雪パネル
1か月前
白出商事株式会社
縁石銘板(名板)
1か月前
コスモテック株式会社
表示装置
22日前
株式会社パロマ
融雪装置
1日前
株式会社NIPPO
斜面用ローラ
1か月前
株式会社NIPPO
距離補正装置
1か月前
株式会社 林物産発明研究所
道路安全体
9日前
株式会社NIPPO
斜面用ローラ
1か月前
株式会社ササキコーポレーション
作業機
1か月前
株式会社NIPPO
切削用制御装置
1か月前
戸田建設株式会社
コンクリート構造
1か月前
三信工業株式会社
床版架設装置
1か月前
桑名金属工業株式会社
融雪マットおよび融雪方法
1か月前
西松建設株式会社
耐震補強方法
1日前
戸田建設株式会社
鋼製ブラケットの取付装置
1か月前
東亜グラウト工業株式会社
防護柵の支柱構造
1か月前
戸田建設株式会社
鋼製ブラケットの取付装置
1か月前
株式会社丸治コンクリート工業所
防護柵
3日前
株式会社川金コアテック
橋梁用鋼弾塑性ダンパー
17日前
株式会社NIPPO
バンク用建設機械サポータ装置
1か月前
株式会社NIPPO
アスファルトスタッカ制御装置
1か月前
日鉄神鋼建材株式会社
補強金具、及び支柱取付構造
1か月前
個人
充填剤及びそれが充填された人工芝
1日前
西尾レントオール株式会社
コーンベット型電源装置
1か月前
日立建機株式会社
転圧機械
1か月前
日鉄建材株式会社
吊り材で支持された足場用床パネル
1か月前
鹿島建設株式会社
床版架設方法
1か月前
オリエンタル白石株式会社
補強鋼板及び排土方法
1か月前
株式会社日本コンポジット工業
壁用構造体
1か月前
鹿島建設株式会社
壁高欄の施工方法
2日前
宮地エンジニアリング株式会社
ワイヤブリッジの設置方法
1か月前
三井住友建設株式会社
床版拡幅工法
1か月前
ダンレックス株式会社
表示装置
10日前
続きを見る
他の特許を見る