TOP
|
特許
|
意匠
|
商標
特許ウォッチ
Twitter
他の特許を見る
公開番号
2025171861
公報種別
公開特許公報(A)
公開日
2025-11-20
出願番号
2024077605
出願日
2024-05-10
発明の名称
道路安全体
出願人
株式会社 林物産発明研究所
代理人
主分類
E01F
9/608 20160101AFI20251113BHJP(道路,鉄道または橋りょうの建設)
要約
【課題】 交差点であること及び視認性を向上させて交通安全に寄与できる道路安全体を提供する。
【解決手段】 交差点に設置する道路安全体であって、反射部を有する凹凸状の外壁と、反射部を有する凹凸状の内壁と、前記外壁の頂部と前記内壁の底部を接続する第一平面部を有する、道路安全体とした。
【選択図】 図2
特許請求の範囲
【請求項1】
交差点に設置する道路安全体であって、
反射部を有する凹凸状の外壁と、
反射部を有する凹凸状の内壁と、
前記外壁の頂部と前記内壁の底部を接続する第一平面部を有する、道路安全体。
続きを表示(約 350 文字)
【請求項2】
前記内壁内側に空洞を有し、前記空洞に取り付けたソーラーパネルと、前記ソーラーパネルが発生させた電気により点滅する点滅部を更に有する、請求項1の道路安全体。
【請求項3】
前記ソーラーパネル及び前記点滅部を上下動可能に支持する弾性部材を更に有する、請求項2の道路安全体。
【請求項4】
前記内壁内側の第二肉部を上下動可能に支持する第二弾性部材を更に有する、請求項2の道路安全体。
【請求項5】
前記反射部が前記外壁及び前記内壁のいずれにおいても頂部から離間して設けられている、請求項1の道路安全体。
【請求項6】
前記反射部が前記交差点で交差する道路の走行優先順位に従って色分けされている、請求項1に記載の道路安全体。
発明の詳細な説明
【技術分野】
【0001】
本発明は、交差点に設置する道路安全体に関する。
続きを表示(約 1,400 文字)
【背景技術】
【0002】
交通整理のため道路には様々な交通標識が設置されているが(例えば、特許文献1)、それらの中に信号機や反射板がある。信号機は高価であり、住宅地や郊外、田舎を含めたすべての交差点に設けることはできない。また、反射板は反射部分が平面で構成されており、光が反射する方向によっては反射板が視認できないという問題があった。
【先行技術文献】
【特許文献】
【0003】
特許第6106826号公報
【発明の概要】
【発明が解決しようとする課題】
【0004】
本発明は、交差点であること及び視認性を向上させて交通安全に寄与できる道路安全体を提供することを目的とする。
【課題を解決するための手段】
【0005】
本願には、
交差点に設置する道路安全体であって、
反射部を有する凹凸状の外壁と、
反射部を有する凹凸状の内壁と、
前記外壁の頂部と前記内壁の底部を接続する第一平面部を有する、道路安全体が開示される。
【図面の簡単な説明】
【0006】
本発明の1実施形態の道路安全体10を使用した交差点1を示す。
道路安全体10の平面図を示す。
道路安全体10のA-A’断面図を示す。
本発明の別の実施形態の道路安全体10の平面図を示す。
本発明の別の実施形態の道路安全体10の断面図を示す。
【発明を実施するための形態】
【0007】
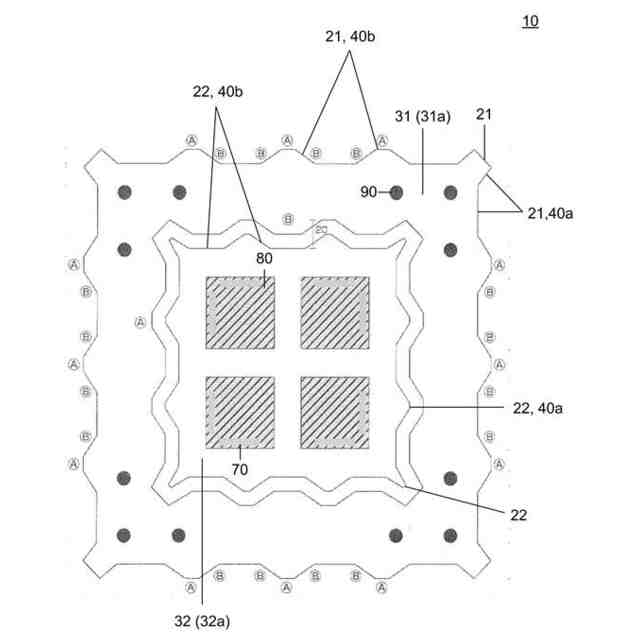
図1は、本発明の1実施形態の道路安全体10を使用した交差点1を示す。図のように、2本の道路2A、2Bが十字に交差する交差点1の中央に道路安全体10が設置されている。道路安全体10はT字型に交差した交差点に設置してもよい。道路安全体10はウレタン等の接着剤やビス、ボルト等により交差点に固定できる。道路安全体10の内部は例えば、ウレタン又はゴム等の柔軟で可撓性を具えた材料で形成するとよい。コンクリートでもよい。
【0008】
図2,3に道路安全体10を示す。図に示すように、道路安全体10は、外壁21と、内壁22と、外壁21の内側の第一肉部31aと内壁22の内側の第二肉部32aを有する。第一肉部31aの上面である第一平面部31は外壁21の頂部と内壁22の底部を接続する。また、第二肉部32a(内壁22の内側)に空洞60を有する。第二肉部32aの上面が第二平面部32である。
【0009】
外壁21及び内壁22は、いずれも上方先細り(図3参照)であると、道路安全体10に入射するやや下向きの光が上向きになって反射し、視認性が向上する。外壁21及び内壁22は垂直でもよい。また、外壁21及び内壁22は、凹凸状である(図2参照/平面視で凹凸状)。外壁21及び内壁22は、いずれも反射部40を有する。
【0010】
反射部40は、金属板/樹脂板等で形成してもよく、塗装により形成してもよい。反射部40を保護するカバーを設けるとよい。車両等と接触しやすい出っ張った部分のみに設けてもよい。自動車等が乗り上げても反射部40が破損したり、剥がれたりしないように、反射部40は外壁21及び内壁22のいずれにおいても頂部から離間して設けるとよい。
(【0011】以降は省略されています)
この特許をJ-PlatPat(特許庁公式サイト)で参照する
関連特許
株式会社熊谷組
床版
1か月前
株式会社熊谷組
床版
1か月前
株式会社セイトク
防雪パネル
1か月前
白出商事株式会社
縁石銘板(名板)
1か月前
コスモテック株式会社
表示装置
14日前
株式会社NIPPO
距離補正装置
1か月前
株式会社 林物産発明研究所
道路安全体
1日前
株式会社NIPPO
斜面用ローラ
1か月前
株式会社ササキコーポレーション
作業機
1か月前
株式会社NIPPO
斜面用ローラ
1か月前
株式会社NIPPO
切削用制御装置
1か月前
戸田建設株式会社
コンクリート構造
25日前
三信工業株式会社
床版架設装置
1か月前
桑名金属工業株式会社
融雪マットおよび融雪方法
1か月前
戸田建設株式会社
鋼製ブラケットの取付装置
25日前
戸田建設株式会社
鋼製ブラケットの取付装置
25日前
東亜グラウト工業株式会社
防護柵の支柱構造
1か月前
株式会社川金コアテック
橋梁用鋼弾塑性ダンパー
9日前
株式会社NIPPO
バンク用建設機械サポータ装置
1か月前
株式会社NIPPO
アスファルトスタッカ制御装置
1か月前
西尾レントオール株式会社
コーンベット型電源装置
1か月前
日鉄神鋼建材株式会社
補強金具、及び支柱取付構造
1か月前
日立建機株式会社
転圧機械
1か月前
日鉄建材株式会社
吊り材で支持された足場用床パネル
1か月前
鹿島建設株式会社
床版架設方法
28日前
株式会社日本コンポジット工業
壁用構造体
1か月前
オリエンタル白石株式会社
補強鋼板及び排土方法
1か月前
宮地エンジニアリング株式会社
ワイヤブリッジの設置方法
1か月前
三井住友建設株式会社
床版拡幅工法
1か月前
ダンレックス株式会社
表示装置
2日前
鹿島建設株式会社
橋、および橋の製造方法
1か月前
株式会社プロテックエンジニアリング
衝撃吸収柵
1か月前
清水建設株式会社
床版架設装置および床版架設方法
1日前
愛知製鋼株式会社
磁気マーカの施工方法および施工用の補助工具
15日前
オリエンタル白石株式会社
馬蹄形ジベルの合成床版撤去工法
29日前
株式会社NIPPO
スコップ加熱器
1か月前
続きを見る
他の特許を見る