TOP
|
特許
|
意匠
|
商標
特許ウォッチ
Twitter
他の特許を見る
公開番号
2025171802
公報種別
公開特許公報(A)
公開日
2025-11-20
出願番号
2024077483
出願日
2024-05-10
発明の名称
床版架設装置および床版架設方法
出願人
清水建設株式会社
代理人
個人
,
個人
,
個人
主分類
E01D
19/12 20060101AFI20251113BHJP(道路,鉄道または橋りょうの建設)
要約
【課題】床版を主桁の上の所定位置に設置できる床版架設機および床版架設方法を提供する。
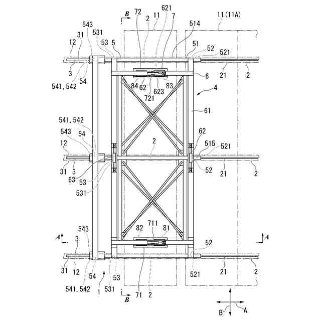
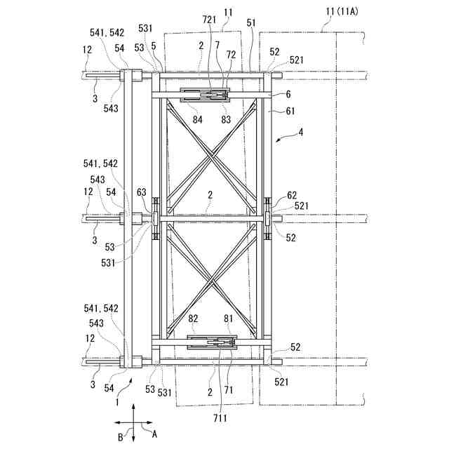
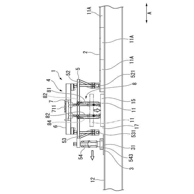
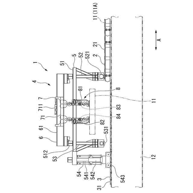
【解決手段】設置済みの床版11の上に敷設される橋軸方向に延びる第1レール2と、第1レール2よりも橋軸方向の前側(一方側)において主桁12の上に敷設される橋軸方向に延びる第2レール3と、第1レール2および第2レール3を走行して新たに設置する床版11を搬送し、床版11の位置調整を行い、床版11を設置済みの床版11の橋軸方向の前側における床版設置位置に設置する床版架設機4と、を有し、床版架設機4は、第1レール2および第2レール3を走行する走行部5と、新たに設置する床版11を吊り上げる床版吊上部8と、床版吊上部8で吊り上げた床版11の平面位置を調整する橋軸直角方向位置調整部6および橋軸方向位置調整部7(床版位置調整部)と、を有する。
【選択図】図3
特許請求の範囲
【請求項1】
設置済みの床版の上に敷設される橋軸方向に延びる第1レールと、
前記第1レールよりも前記橋軸方向の一方側において主桁の上に敷設される前記橋軸方向に延びる第2レールと、
前記第1レールおよび前記第2レールの上を走行して新たに設置する床版を搬送し、前記床版の位置調整を行い、前記床版を前記設置済みの床版の前記橋軸方向の一方側における床版設置位置に設置する床版架設機と、を有し、
前記床版架設機は、
前記第1レールおよび前記第2レールの上を前記橋軸方向に走行する走行部と、
前記新たに設置する床版を吊り上げる床版吊上部と、
前記床版吊上部で吊り上げた前記床版の平面位置を調整する床版位置調整部と、を有する床版架設装置。
続きを表示(約 2,000 文字)
【請求項2】
前記走行部は、
前記床版吊上部の前記橋軸方向の一方側に位置し前記第1レールを走行可能な第1脚車輪を支持する第1脚と、
前記床版吊上部の前記橋軸方向の他方側に位置し前記第1レールを走行可能な第2脚車輪を支持する第2脚と、
前記第2脚の前記橋軸方向の一方に位置し前記第2レールを走行可能な伸縮脚車輪を支持する伸縮脚と、を有し、
前記伸縮脚は、上下方向に伸縮して前記伸縮脚車輪の高さを変更可能である請求項1に記載の床版架設装置。
【請求項3】
前記走行部は、
前記床版吊上部の前記橋軸方向の一方側に位置し前記第2レールを走行可能な第1脚車輪を支持する第1脚と、
前記床版吊上部の前記橋軸方向の他方側に位置し前記第1レールを走行可能な第2脚車輪を支持する第2脚と、
前記床版吊上部と前記第2脚との間に位置し前記第2レールを走行可能な伸縮脚車輪を支持する伸縮脚と、を有し、
前記伸縮脚は、上下方向に伸縮して前記伸縮脚車輪の高さを変更可能である請求項1に記載の床版架設装置。
【請求項4】
床版位置調整部は、
前記床版吊上部で吊り上げた前記床版の橋軸直角方向の位置を調整可能な橋軸直角方向位置調整部と、
前記床版吊上部で吊り上げた前記床版の前記橋軸方向の位置を調整可能な橋軸方向位置調整部と、を有する請求項1に記載の床版架設装置。
【請求項5】
前記橋軸直角方向位置調整部は、
前記走行部に橋軸直角方向に移動可能に支持されるとともに、前記床版吊上部を支持する支持フレームと、
前記走行部に対して前記支持フレームを橋軸直角方向に移動させる前側スライドジャッキおよび後側スライドジャッキと、を有し、
前記前側スライドジャッキおよび前記後側スライドジャッキは、互いに前記橋軸方向に間隔をあけて設けられ、それぞれ前記走行部から反力を取って前記支持フレームを前記走行部に対して前記支持フレームを橋軸直角方向に移動させる請求項4に記載の床版架設装置。
【請求項6】
前記橋軸方向位置調整部は、
それぞれ前記支持フレームに前記橋軸方向に移動可能に支持されるともに、前記床版吊上部を支持する第1連結フレームおよび第2連結フレームと、
前記支持フレームに対して前記第1連結フレームを前記橋軸方向に移動させる第1引寄せジャッキと、
前記支持フレームに対して前記第2連結フレームを前記橋軸方向に移動させる第2引寄せジャッキと、を有し、
前記第1引寄せジャッキは、前記支持フレームから反力を取って前記第1連結フレームを前記橋軸方向に移動させ、
前記第2引寄せジャッキは、前記支持フレームから反力を取って前記第2連結フレームを前記橋軸方向に移動させる請求項5に記載の床版架設装置。
【請求項7】
前記第1連結フレームと前記第2連結フレームとは、橋軸直角方向に離れて配置されるとともに前記橋軸方向に相対移動可能であり、
前記第1引寄せジャッキによる前記支持フレームに対する前記第1連結フレームの前記橋軸方向の移動と、前記第2引寄せジャッキによる前記支持フレームに対する前記第2連結フレームの前記橋軸方向の移動と、は、それぞれ独立している請求項6に記載の床版架設装置。
【請求項8】
前記床版吊上部は、前記新たに設置する床版の橋軸直角方向の一方側における前記橋軸方向の一方側の端部近傍に取り付けられる第1チェーンブロックと、
前記新たに設置する床版の前記橋軸直角方向の一方側における前記橋軸方向の他方側の端部近傍に取り付けられる第2チェーンブロックと、
前記新たに設置する床版の前記橋軸直角方向の他方側における前記橋軸方向の一方側の端部近傍に取り付けられる第3チェーンブロックと、
前記新たに設置する床版の前記橋軸直角方向の他方側における前記橋軸方向の他方側の端部近傍に取り付けられる第4チェーンブロックと、を有し、
前記第1チェーンブロック、第2チェーンブロック、第3チェーンブロックおよび第4チェーンブロックは、それぞれ前記床版の吊り上げ高さを調整可能である請求項1に記載の床版架設装置。
【請求項9】
前記第1レールは、複数の第1レール分割体が前記橋軸方向に配列され、
前記第1レール分割体の前記橋軸方向の長さ寸法は、前記床版の前記橋軸方向の長さ寸法と同じである請求項1に記載の床版架設装置。
【請求項10】
前記第2レールは、複数の第2レール分割体が前記橋軸方向に配列され、
前記第2レール分割体の前記橋軸方向の長さ寸法は、1m以下である請求項1に記載の床版架設装置。
(【請求項11】以降は省略されています)
発明の詳細な説明
【技術分野】
【0001】
本発明は、床版架設装置および床版架設方法に関する。
続きを表示(約 2,700 文字)
【背景技術】
【0002】
合成桁は床版と鋼製の主桁とが一体化された状態で構造が成立している。つまり床版の取替作業において主桁から床版が撤去された状態では、構造が成立しないため、橋本来の強度がなく不安定である。床版架設作業には一般的に大型クレーンを使用するが、合成桁橋の床版架設作業では、構造上不安定な工事対象橋梁上に大型クレーンを配置することが出来ないため、橋台背面の土工部や隣接橋梁上に大型クレーンを配置する必要がある。そのため床版架設に必要となる作業半径が増大し、クレーンの更なる大型化を伴うことが一般的である。また、クレーンの更なる大型化に伴い、クレーンを設置する土工部や隣接橋梁の耐力が不足することが懸念される。
【0003】
特許文献1には、床版の取替作業において設置済みの床版の上に敷設された橋軸方向に延びるレール上を走行する床版架設機で床版を運搬して主桁の上に設置する床版架設方法が開示されている。
【先行技術文献】
【特許文献】
【0004】
特開2019-210755号公報
【発明の概要】
【発明が解決しようとする課題】
【0005】
床版架設作業では、設置済みの床版に対して所定の位置に、新しく設置する床版を主桁上に設置する必要があるが、大型クレーンを使用しての床版架設が不可能な場合がある。
【0006】
そこで、本発明は、主桁上を移動して床版を搬送し、所定の位置に床版を設置できる床版架設装置および床版架設装置を用いた床版架設方法を提供することを課題とする。
【課題を解決するための手段】
【0007】
上記目的を達成するため、本発明に係る床版架設装置は、設置済みの床版の上に敷設される橋軸方向に延びる第1レールと、前記第1レールよりも前記橋軸方向の一方側において主桁の上に敷設される前記橋軸方向に延びる第2レールと、前記第1レールおよび前記第2レールの上を走行して新たに設置する床版を搬送し、前記床版の位置調整を行い、前記床版を前記設置済みの床版の前記橋軸方向の一方側における床版設置位置に設置する床版架設機と、を有し、前記床版架設機は、前記第1レールおよび前記第2レールの上を前記橋軸方向に走行する走行部と、前記新たに設置する床版を吊り上げる床版吊上部と、前記床版吊上部で吊り上げた前記床版の平面位置を調整する床版位置調整部と、を有する。
【0008】
上記目的を達成するため、本発明に係る床版架設方法は、上記の床版架設装置を使用して床版を架設する床版架設方法であって、既設の床版が撤去された主桁上に複数の床版を設置し、前記設置済みの床版の上に前記第1レールを敷設する作業準備工程と、前記第1レールよりも前記橋軸方向の一方側において既設の床版が撤去された前記主桁の上に前記第2レールを敷設する第2レール敷設工程と、前記第1レールの上に新たに設置する床版を仮置きする床版仮置き工程と、前記床版仮置き工程で仮置きされた前記床版を吊り上げ可能な位置に配置されるように前記床版架設機を前記第1レールの上に設置する床版架設機設置工程と、前記床版架設機の前記床版吊上部で前記新たに設置する床版を吊り上げ、前記床版が前記設置済みの床版よりも前記橋軸方向の一方側の床版設置位置の上方に達するまで前記床版架設機を前記第1レールおよび前記第2レールに沿って前記橋軸方向の一方側に走行させる床版搬送工程と、前記床版設置位置に敷設された前記第2レールを撤去する第2レール撤去工程と、吊り上げられた前記床版の位置を調整する位置調整工程と、前記床版を前記床版設置位置に下降させて設置する床版設置工程と、を行い、前記床版設置工程の後に、前記床版設置工程で設置された前記設置済みの床版の上に前記第1レールを敷設する第1レール敷設工程、第1レール敷設工程で敷設された前記第1レールの上に新たに設置する床版を仮置きする床版仮置き工程、前記床版仮置き工程で仮置きした前記床版の近傍位置まで前記床版架設機を前記橋軸方向の他方側に走行させる床版架設機後退工程、前記床版架設機設置工程、前記第2レール敷設工程、前記床版搬送工程、前記第2レール撤去工程、前記位置調整工程および前記床版設置工程を繰り返し行う。
【0009】
上記目的を達成するため、本発明に係る床版架設方法は、上記の床版架設装置を使用して床版を架設する床版架設方法であって、既設の床版が撤去された主桁上に複数の床版を設置し、前記設置済みの床版の上に前記第1レールを敷設する作業準備工程と、前記第1レールよりも前記橋軸方向の一方側において既設の床版が撤去された前記主桁の上に前記第2レールを敷設する第2レール敷設工程と、前記第2レールの上に新たに設置する床版を仮置きする床版仮置き工程と、前記床版仮置き工程で仮置きされた前記床版を吊り上げ可能な位置に配置されるように前記床版架設機を前記第2レールの上に設置する床版架設機設置工程と、前記床版架設機の前記床版吊上部で前記新たに設置する床版を吊り上げ、前記床版が前記床版設置位置の上方に達するまで前記床版架設機を前記第1レールおよび前記第2レールに沿って前記橋軸方向の他方側に走行させる床版搬送工程と、前記床版設置位置に敷設された前記第2レールを撤去する第2レール撤去工程と、吊り上げられた前記床版の位置を調整する位置調整工程と、前記床版を前記床版設置位置に下降させて設置する床版設置工程と、を行い、前記床版設置工程の後に、前記床版設置工程で設置された前記設置済みの床版の上に前記第1レールを敷設する第1レール敷設工程、前記設置済みの床版よりも前記橋軸方向の一方側において前記主桁の上に前記第2レールを敷設する第2レール敷設工程、前記床版を架設する領域の後方において前記第2レールの上に新たに設置する床版を仮置きする床版仮置き工程、前記床版仮置き工程で仮置きした前記床版の近傍位置まで前記床版架設機を前記橋軸方向の一方側に走行させる床版架設機後退工程、前記床版架設機設置工程、前記床版搬送工程、前記第2レール撤去工程、前記位置調整工程および前記床版設置工程を繰り返し行う。
【0010】
本発明では、床版吊上部で吊上げた状態の床版について床版位置調整部を使用して平面位置の調整を行うことができる。これにより新設する床版を主桁上の所定の位置に、大型クレーンを用いた場合同様の高い精度で設置できる。
(【0011】以降は省略されています)
この特許をJ-PlatPat(特許庁公式サイト)で参照する
関連特許
清水建設株式会社
パネル枠
20日前
清水建設株式会社
防振構造
7日前
清水建設株式会社
仮設トイレ
20日前
清水建設株式会社
免震構造物
20日前
清水建設株式会社
走行体の支持構造
20日前
清水建設株式会社
防災支援システム
6日前
清水建設株式会社
構造物の施工方法
14日前
清水建設株式会社
ガラスパネル構造
7日前
清水建設株式会社
積層造形システム
14日前
清水建設株式会社
二酸化炭素固定化方法
13日前
清水建設株式会社
接合構造および接合方法
5日前
清水建設株式会社
来場者グループ把握システム
今日
清水建設株式会社
CFT柱とRC柱との接合構造
今日
清水建設株式会社
床版架設装置および床版架設方法
20日前
清水建設株式会社
情報処理装置および情報処理方法
6日前
清水建設株式会社
免震構造および免震構造の施工方法
12日前
清水建設株式会社
地中連続壁の終局せん断耐力算定方法
1か月前
清水建設株式会社
施工方法および二酸化炭素排出量の削減方法
5日前
清水建設株式会社
自律移動体制御システムおよび自律移動体制御方法
20日前
清水建設株式会社
自律移動体制御システムおよび自律移動体制御方法
1か月前
清水建設株式会社
陰イオン吸着材、その製造方法及び陰イオン吸着方法
1日前
清水建設株式会社
打設監視システム、ガイド装置、および打設監視方法
1か月前
清水建設株式会社
掘削状況判定装置、掘削状況判定方法、およびプログラム
12日前
戸田建設株式会社
距離計測器を備えた吹付けノズル装置
20日前
清水建設株式会社
情報提供システム、情報提供プログラム、及び、情報提供方法
5日前
清水建設株式会社
床構造および床構造の施工方法
7日前
積水樹脂株式会社
カバー体
5日前
個人
掃除装置
5日前
株式会社熊谷組
床版
7日前
株式会社セイトク
防雪パネル
1か月前
コスモテック株式会社
表示装置
1か月前
株式会社パロマ
融雪装置
12日前
株式会社 林物産発明研究所
道路安全体
20日前
戸田建設株式会社
コンクリート構造
1か月前
西松建設株式会社
耐震補強方法
12日前
サガ・コア&カッター工業株式会社
切断工法
今日
続きを見る
他の特許を見る